TOP
|
特許
|
意匠
|
商標
特許ウォッチ
Twitter
他の特許を見る
10個以上の画像は省略されています。
公開番号
2025168337
公報種別
公開特許公報(A)
公開日
2025-11-07
出願番号
2025073528
出願日
2025-04-25
発明の名称
ディスペンサ、これに対する詰め替え容器の交換方法、及びバッファーユニット
出願人
花王株式会社
代理人
弁理士法人翔和国際特許事務所
主分類
B65D
83/00 20060101AFI20251030BHJP(運搬;包装;貯蔵;薄板状または線条材料の取扱い)
要約
【課題】シンプルな構造でありながら、詰め替え容器内の液体を使い切ったとしても、液体の使用を継続できるディスペンサ及びバッファーユニット、並びに利便性に優れる詰め替え容器の交換方法を提供すること。
【解決手段】本発明のディスペンサ1は、詰め替え容器10に収容された液体を吐出する吐出部40、及び詰め替え容器10の注出部11と吐出部40との間に介在し液体を貯留するバッファー部30を備えている。バッファー部30は液体を貯留する小タンク部35を有している。ディスペンサ1は、詰め替え容器10からバッファー部30を介して吐出部40に液体が供給されるように構成されている。
【選択図】図1
特許請求の範囲
【請求項1】
詰め替え容器に収容された液体を吐出する吐出部、及び前記詰め替え容器の注出部と前記吐出部との間に介在し前記液体を貯留するバッファー部を備えており、
前記バッファー部は前記液体を貯留する小タンク部を有しており、
前記詰め替え容器から前記バッファー部を介して前記吐出部に前記液体が供給されるように構成されている、ディスペンサ。
続きを表示(約 900 文字)
【請求項2】
前記小タンク部は、内部が視認可能な透明部を少なくとも部分的に有している、請求項1に記載のディスペンサ。
【請求項3】
前記詰め替え容器を保持するホルダーを備えており、
前記ホルダーは、前記詰め替え容器を収容する収容ケースと、該収容ケース内において前記注出部を下方に向けた倒立状態で該詰め替え容器を支持する支持部とを具備している、請求項1又は2に記載のディスペンサ。
【請求項4】
前記吐出部は、押圧によって該吐出部に供給された前記液体を吐出可能に構成されている、請求項1又は2に記載のディスペンサ。
【請求項5】
前記小タンク部の容量は、1回の押圧によって前記吐出部から吐出される液体の量の2倍以上40倍以下である、請求項4に記載のディスペンサ。
【請求項6】
前記小タンク部は、弾性樹脂を含むか、又は硬質樹脂を含む、請求項1又は2に記載のディスペンサ。
【請求項7】
前記バッファー部は、前記液体の流れを前記注出部側から前記小タンク部側に向かう方向に規制する流通方向規制機構を備えている、請求項1又は2に記載のディスペンサ。
【請求項8】
前記バッファー部は、前記小タンク部内の液体の流路を規制する流路規制手段、又は前記小タンク部内の液体の流れを遅くする流速遅延手段を有している、請求項1又は2に記載のディスペンサ。
【請求項9】
前記バッファー部は、前記注出部と接続可能な流入筒部と、前記吐出部と接続可能な流出筒部とを有しており、
前記小タンク部は、前記流入筒部及び/又は前記流出筒部と同軸上に配置されていない、請求項1又は2に記載のディスペンサ。
【請求項10】
請求項1又は2に記載のディスペンサに対し詰め替え容器を交換する、詰め替え容器の交換方法であって、
前記小タンク部内の前記液体の量が満充填未満となったタイミングで、詰め替え容器を交換する、詰め替え容器の交換方法。
(【請求項11】以降は省略されています)
発明の詳細な説明
【技術分野】
【0001】
本発明は、ディスペンサ、これに対する詰め替え容器の交換方法、及びバッファーユニットに関する。
続きを表示(約 2,600 文字)
【背景技術】
【0002】
シャンプーやボディソープ等の液体が充填された容器を保持するホルダーと、該容器に接続し且つ液体を外部に吐出させる吐出具とを備えた、ディスペンサが知られている。例えば、特許文献1には、収納体と、該収納体の開口を開閉するフロントカバーと、パウチ収納ケースとを備え、フロントカバーが開いた状態で、パウチ収納ケースの上端が前方に傾斜した姿勢で保持可能であり、液体を収容したパウチを交換可能である、ディスペンサが開示されている。
【0003】
また特許文献2には、パウチを倒立状態に保持し、ポンプディスペンサに設けた押圧ヘッドを押圧することによって、該パウチ内の内容物を注出する、ポンプ式流体供給装置が開示されている。
また特許文献3には、流動物を封入した基材パックの両端部を互いに離れる方向に引張り、該パックが所定の長さに達することで、該パック内の流動物の残量を報知し、これに基づいてパックを吐出口側にしごく、パック内の流動物の残量検知装置が開示されている。
【先行技術文献】
【特許文献】
【0004】
特開2004-331115号公報
特開2010-13111号公報
特開2013-128740号公報
【発明の概要】
【発明が解決しようとする課題】
【0005】
特許文献1~3に開示のディスペンサは、液体を収容したパウチ容器等の詰め替え容器を交換することで、長期間の繰り返し使用が可能であり、環境負荷低減の点から有効である。しかしながら特許文献1及び2のディスペンサは、詰め替え容器内の液体の残量を把握し難く、該詰め替え容器内の液体が空になると詰め替え容器の交換をしない限り、液体が使用できなくなるので利便性に欠ける。例えば当該ディスペンサが宿泊施設の客室等に設けられている場合に、施設の従業員が詰め替え容器の交換作業を行うことになるが、その交換作業をすぐに行えないことが多く、施設利用者にとって不便である。特許文献3に開示のディスペンサは、詰め替え容器内の液体の残量を報知するが、報知を行うためのセンサや可動部材を設ける必要があり、ディスペンサの構造が大がかりとなって、ディスペンサ自体の設置が困難となる。
【0006】
本発明は、シンプルな構造でありながら、詰め替え容器内の液体を使い切ったとしても、液体の使用を継続できる、ディスペンサ及びバッファーユニットを提供することにある。
また本発明は、利便性に優れる、詰め替え容器の交換方法を提供することにある。
【課題を解決するための手段】
【0007】
本発明は、ディスペンサに関する。
一実施形態として、前記ディスペンサは、詰め替え容器に収容された液体を吐出する吐出部、及び前記詰め替え容器の注出部と前記吐出部との間に介在し前記液体を貯留するバッファー部を備えていることが好ましい。
一実施形態として、前記バッファー部は前記液体を貯留する小タンク部を有していることが好ましい。
一実施形態として、前記ディスペンサは、前記詰め替え容器から前記バッファー部を介して前記吐出部に前記液体が供給されるように構成されていることが好ましい。
【0008】
または本発明は、バッファーユニットに関する。
一実施形態として、前記バッファーユニットは、詰め替え容器の注出部及び該詰め替え容器内の液体を吐出する吐出部それぞれに接続可能であることが好ましい。
一実施形態として、前記バッファーユニットは、前記注出部と前記吐出部との間に介在して、該吐出部に供給される液体を貯留する小タンク部を有していることが好ましい。
【発明の効果】
【0009】
本発明のディスペンサ及びバッファーユニットによれば、シンプルな構造でありながら、詰め替え容器内の液体を使い切ったとしても、液体の使用を継続できる。
また本発明の交換方法は、利便性に優れる。
【図面の簡単な説明】
【0010】
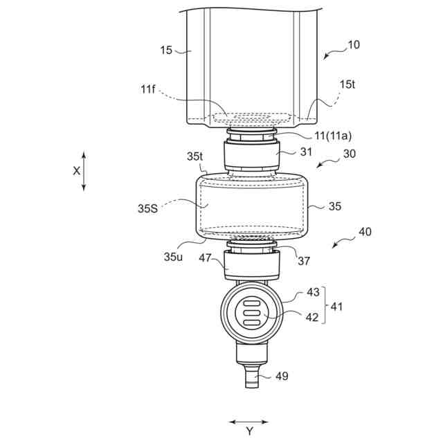
図1は、本発明のディスペンサの好ましい実施形態を示す斜視図である。
図2は、図1に示すディスペンサの分解斜視図である。
図3は、図1のバッファー部及び吐出部を示す平面図である。
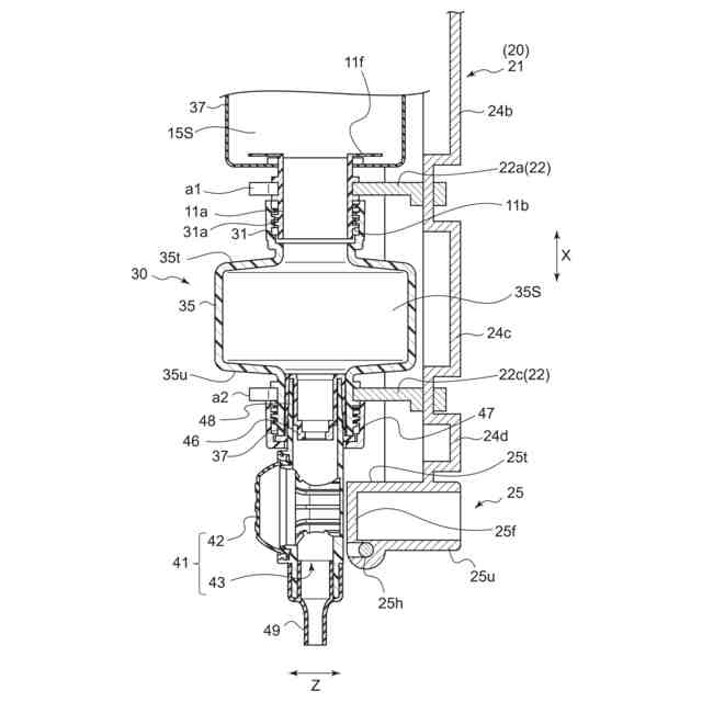
図4は、図1のIII-III線断面図である。
図5は、図4のバッファー部の拡大断面図である。
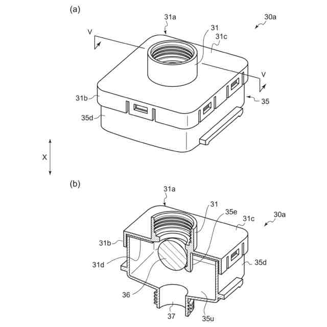
図6(a)は、本発明に係るバッファー部の別の実施形態を示す斜視図であり、図6(b)は、図6(a)のV-V線断面斜視図である。
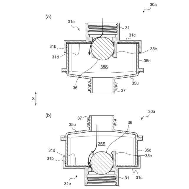
図7(a)は、上下反転前の図6に示すバッファー部の液体の流れを説明するための縦断面図であり、図7(b)は、上下反転後の同縦断面図である。
図8は、本発明に係るバッファー部のさらに別の実施形態を示す図7相当図である。
図9は、図8に示すバッファー部のIV-IV線断面図である。
図10(a)~(c)は、図8に示すバッファー部の流路を説明するための部分破断斜視図である。
図11は、本発明に係るバッファー部のさらに別の実施形態を示す斜視図、及び該バッファー部の縦方向の異なる位置における横断面図である。
図12(a)及び(b)は、図11に示すバッファー部の縦方向に沿う部分破断図である。
図13は、図11のII-II線断面図である。
図14(a)は、図11に示すバッファー部内の流路(流れ)を説明するための横断面図であり、図14(b)は、筒状隔壁周りの複数の空間を通じた該流路を示した展開概略図である。
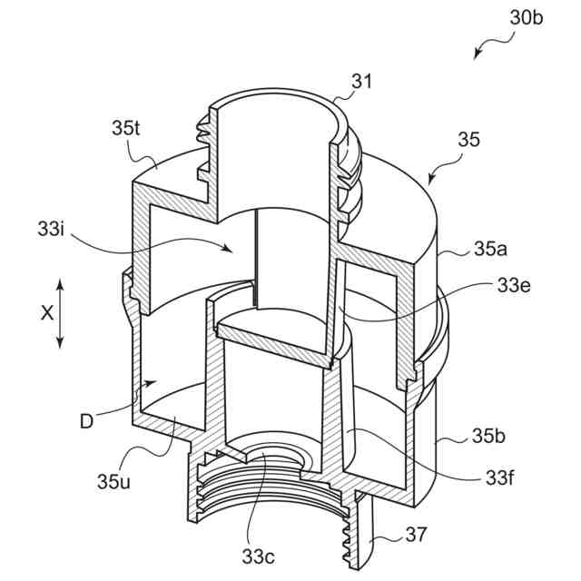
図15は、本発明に係るディスペンサの別の実施形態を示す図4相当図である。
図16(a)及び(b)は、本発明に係るバッファー部のさらに別の実施形態を示す斜視図及び縦断面図である。
図17(a)及び(b)は、本発明に係るバッファー部のさらに別の実施形態を示す斜視図及び縦断面図である。
【発明を実施するための形態】
(【0011】以降は省略されています)
この特許をJ-PlatPat(特許庁公式サイト)で参照する
関連特許
花王株式会社
袋体
1か月前
花王株式会社
組立体
1か月前
花王株式会社
吐出容器
24日前
花王株式会社
吐出容器
24日前
花王株式会社
放散装置
2か月前
花王株式会社
製函装置
1か月前
花王株式会社
清掃用具
1か月前
花王株式会社
固形食品
1か月前
花王株式会社
固形食品
1か月前
花王株式会社
包装容器
3日前
花王株式会社
毛髪洗浄剤
25日前
花王株式会社
吸収性物品
1か月前
花王株式会社
油性化粧料
1か月前
花王株式会社
乳化化粧料
1か月前
花王株式会社
乳化化粧料
12日前
花王株式会社
泡吐出容器
24日前
花王株式会社
皮膚洗浄料
3日前
花王株式会社
油性化粧料
20日前
花王株式会社
乳化化粧料
1か月前
花王株式会社
口腔用組成物
1か月前
花王株式会社
防錆剤組成物
2か月前
花王株式会社
抗菌剤組成物
1か月前
花王株式会社
口腔用組成物
1か月前
花王株式会社
口腔用組成物
1か月前
花王株式会社
練歯磨組成物
14日前
花王株式会社
洗浄剤組成物
11日前
花王株式会社
洗浄剤組成物
11日前
花王株式会社
洗浄剤組成物
11日前
花王株式会社
アノード電極
4日前
花王株式会社
吸収性パッド
2か月前
花王株式会社
鋳型用組成物
2か月前
花王株式会社
防錆剤組成物
2か月前
花王株式会社
口腔用組成物
5日前
花王株式会社
口腔用組成物
1か月前
花王株式会社
口腔用組成物
5日前
花王株式会社
口腔用組成物
5日前
続きを見る
他の特許を見る