TOP
|
特許
|
意匠
|
商標
特許ウォッチ
Twitter
他の特許を見る
公開番号
2025168304
公報種別
公開特許公報(A)
公開日
2025-11-07
出願番号
2025071147
出願日
2025-04-23
発明の名称
画像の明瞭さを向上させる自動車用グレージング
出願人
テスラ,インコーポレイテッド
代理人
弁理士法人広江アソシエイツ特許事務所
主分類
B60J
1/00 20060101AFI20251030BHJP(車両一般)
要約
【課題】車両用センサデバイス、特にカメラの機能性を高めるように設計された自動車用グレージングアセンブリを提供する。
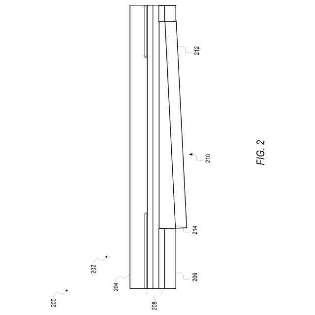
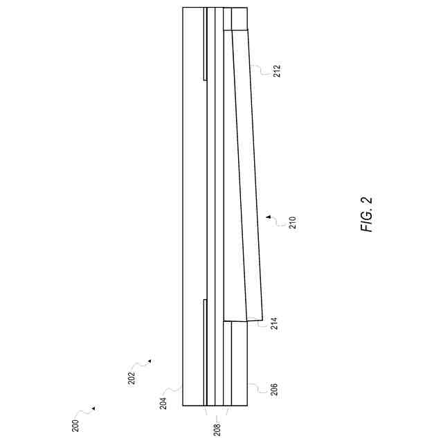
【解決手段】自動車用グレージングアセンブリは、均一な厚さを有する外側ガラス層と、同じく均一な厚さを有する内側ガラス層と、2つのガラス層の間に配置され、それらを互いに接合するポリマー層とを含む。このアセンブリの特有の特徴は、内側ガラス層及びポリマー層が除去されてウェッジパッチと置き換えられる局所領域である。このパッチは、一方向に増加する不均一な厚さを有する楔形ポリマー層と、それに取着された平坦なガラス要素とからなる。ウェッジパッチは、全内部反射及び二重画像を低減するように特に設計され、それによってフロントウィンドウの背後に配置されたカメラの光学的明瞭さを向上させる。この技術革新は、自動車用グレージングの構造的完全性及び設計を損なうことなく、明瞭なセンサ視認性の必要性に対処する。
【選択図】図2
特許請求の範囲
【請求項1】
自動車用グレージングアセンブリであって、
第1のガラス層と、
第2のガラス層と、
前記第1のガラス層と前記第2のガラス層との間に配置され、前記第1のガラス層を前記第2のガラス層に接合するポリマー層と、
前記自動車用グレージングアセンブリに隣接して配置された少なくとも1つのセンサデバイスと、
前記第2のガラス層及び前記ポリマー層がない前記少なくとも1つのセンサデバイスの視野内の局所領域と、
前記局所領域内に配置されたウェッジパッチと、
を備え、
前記ウェッジパッチが、
不均一な厚さを有する楔形ポリマー層と、
前記楔形ポリマー層に取着されたガラス要素と、
を備える、自動車用グレージングアセンブリ。
続きを表示(約 840 文字)
【請求項2】
前記第1のガラス層が第1の均一な厚さを備え、前記第2のガラス層が第2の均一な厚さを備え、前記ポリマー層が第3の均一な厚さを備える、請求項1に記載の自動車用グレージングアセンブリ。
【請求項3】
前記ポリマー層が複数のポリマー層を備える、請求項1に記載の自動車用グレージングアセンブリ。
【請求項4】
前記少なくとも1つのセンサデバイスがカメラを含む、請求項1に記載の自動車用グレージングアセンブリ。
【請求項5】
前記ウェッジパッチが、前記自動車用グレージングアセンブリ内の前記少なくとも1つのセンサデバイスの正面の前記局所領域内の全内部反射を低減する、請求項1に記載の自動車用グレージングアセンブリ。
【請求項6】
前記楔形ポリマー層が、ポリビニルブチラール(PVB)、アイオノマー及び熱可塑性ポリウレタン(TPU)からなる群から選択される材料からなる、請求項1に記載の自動車グレージングアセンブリ。
【請求項7】
前記自動車用グレージングアセンブリが曲率及び厚さを備え、前記楔形ポリマー層が、前記自動車用グレージングアセンブリの曲率及び厚さに基づく傾斜角を備える、請求項1に記載の自動車用グレージングアセンブリ。
【請求項8】
前記自動車用グレージングアセンブリが曲率及び厚さを備え、前記ガラス要素が平坦なガラス要素を備える、請求項1に記載の自動車用グレージングアセンブリ。
【請求項9】
前記局所領域が、前記第2のガラス層の切欠きによって画定され、前記ウェッジパッチが前記切欠きに挿入される、請求項1に記載の自動車用グレージングアセンブリ。
【請求項10】
前記ウェッジパッチが、光学的に適合性を有する接着剤によって前記ポリマー層に接合される、請求項1に記載の自動車用グレージングアセンブリ。
(【請求項11】以降は省略されています)
発明の詳細な説明
【技術分野】
【0001】
本開示は、概して、自動車用グレージング技術に関する。より具体的には、本発明は、車両用センサの機能を向上させるためのフロントウィンドウの構造的及び材料的な強化に関する。
続きを表示(約 1,400 文字)
【背景技術】
【0002】
現代の車両は、車両の周囲を監視するためにカメラを含むセンサに依存する先進運転者支援システム(ADAS:advanced driver-assistance systems)を次第に備えつつある。これらのカメラは、フロントウィンドウの背後に配置されることが多く、最適に機能するためには、明瞭で遮られない視界を必要とする。しかしながら、標準的な自動車フロントウィンドウは、これらのカメラによって取り込まれた画像の質を低下させる特定の光学的課題を呈することがある。
【0003】
そのような課題の1つは、単一の光源が2つ以上の画像として現れる二重画像(double imaging)又はゴースト現象である。この効果は、フロントウィンドウのガラス層内の多重反射によって引き起こされ、全内部反射(total internal reflection)をもたらす。二重画像は、車線逸脱警告、適応走行制御、及び緊急ブレーキシステムなどのADAS機能の安全な動作にとって重要な視覚データを正確に解析するカメラの能力を著しく損なう可能性がある。
【0004】
別の問題は、ガラスを通過するときに光の歪み及び屈折を引き起こす可能性がある従来のフロントウィンドウの曲率及び厚さから生じる。この歪みは、物体の感知される位置を変え、距離及び相対速度を正確に測定するカメラの能力を低下させる恐れがあり、ADASの有効性を損なう可能性がある。
【0005】
自動車産業は、様々な手段を通じてこれらの問題に対処しようと努めてきた。1つの手法は、反射及び屈折を低減するためにフロントウィンドウのガラスに特別なコーティング又は処理を施すことであった。別の戦略は、カメラの正面に平らなガラスパネルを使用することを含み、これは歪みを最小限に抑えることができるが、車両の全体的な設計及び空気力学と互換性がない可能性がある。
【図面の簡単な説明】
【0006】
任意の特定の要素又は作用の説明を容易に認識するために、参照番号の最上位桁は、その要素が最初に紹介された図番号を指す。
【0007】
例による、1つ又は複数のセンサデバイスについての画像の明瞭さを向上させるための自動車用グレージングアセンブリの一例を示す図である。
【0008】
例による、1つ又は複数のセンサデバイスについての画像の明瞭さを向上させるための自動車用グレージングアセンブリの断面を示す図である。
【0009】
例による、1つ又は複数のセンサデバイスについての画像の明瞭さを向上させるための自動車用グレージングアセンブリを製造する方法を説明する流れ図である。
【発明を実施するための形態】
【0010】
いくつかの例による、フロントウィンドウのガラスの特性に起因して車両用センサデバイス、特にカメラに影響を及ぼす光学的歪みを低減するための自動車用グレージングアセンブリが本明細書に記載されている。従来の自動車用グレージングは、二重画像又はゴースト現象などの問題を引き起こす可能性があり、これは先進運転者支援システム(ADAS)で使用されるカメラの機能を著しく損なう可能性がある。これらの問題は、標準的なフロントウィンドウのガラスの曲率、厚さ及び全内部反射の可能性を含む、標準的なフロントウィンドウ固有の特性から生じ得る。
(【0011】以降は省略されています)
この特許をJ-PlatPat(特許庁公式サイト)で参照する
関連特許
個人
タイヤレバー
3か月前
個人
前輪キャスター
2か月前
個人
上部一体型自動車
1か月前
個人
空間形成装置
11日前
個人
ホイルのボルト締結
4か月前
個人
タイヤ脱落防止構造
2か月前
個人
ルーフ付きトライク
3か月前
個人
車両通過構造物
3か月前
日本精機株式会社
照明装置
6日前
井関農機株式会社
作業車両
5か月前
日本精機株式会社
表示装置
3か月前
日本精機株式会社
表示装置
3か月前
日本精機株式会社
表示装置
3か月前
個人
キャンピングトライク
4か月前
井関農機株式会社
作業車両
5か月前
日本精機株式会社
表示装置
2か月前
個人
マスタシリンダ
1か月前
個人
車両用スリップ防止装置
4か月前
個人
アクセルのソフトウェア
4か月前
個人
常設収納型サンバイザー
17日前
個人
キャンピングトレーラー
4か月前
個人
乗合路線バスの客室装置
3か月前
日本精機株式会社
車載表示装置
4か月前
株式会社ニフコ
収納装置
2か月前
株式会社ニフコ
保持装置
4か月前
個人
円湾曲ホイール及び球体輪
3か月前
個人
音声ガイド、音声サービス
3か月前
日本精機株式会社
画像投映装置
1か月前
日本精機株式会社
車室演出装置
2か月前
日本精機株式会社
車載表示装置
1か月前
日本精機株式会社
車載表示装置
12日前
株式会社ニフコ
照明装置
2か月前
個人
車載小物入れ兼雨傘収納具
4か月前
株式会社豊田自動織機
産業車両
6日前
日本精機株式会社
車載表示装置
19日前
日本精機株式会社
車載表示装置
14日前
続きを見る
他の特許を見る