TOP
|
特許
|
意匠
|
商標
特許ウォッチ
Twitter
他の特許を見る
公開番号
2025167786
公報種別
公開特許公報(A)
公開日
2025-11-07
出願番号
2024072697
出願日
2024-04-26
発明の名称
スケジューリングプログラム,情報処理装置およびスケジューリング方法
出願人
富士通株式会社
代理人
弁理士法人真田特許事務所
,
個人
主分類
G06F
9/50 20060101AFI20251030BHJP(計算;計数)
要約
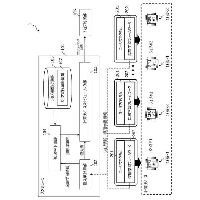
【課題】プロセスに効率的にGPUを割り当てることができるようにする。
【解決手段】深層学習モデルについての処理対象のジョブに関する情報に基づき、深層学習モデルの種類とバッチサイズと加速率とを対応付けたプログラムの実行履歴107を参照して、深層学習モデルの実行に伴う加速率の予測を行ない、この加速率の予測結果に基づいて、計算リソース10bに割り付けるプログラムの順序の決定をする。
【選択図】図1
特許請求の範囲
【請求項1】
深層学習モデルについての処理対象のジョブに関する情報に基づき、深層学習モデルの種類とバッチサイズと加速率とを対応付けたプログラムの実行履歴を参照して、前記深層学習モデルの実行に伴う加速率の予測を行ない、
前記加速率の予測結果に基づいて、計算リソースに割り付けるプログラムの順序の決定をする
処理をコンピュータに実行させることを特徴とするスケジューリングプログラム。
続きを表示(約 570 文字)
【請求項2】
前記加速率の予測結果について、ジョブ毎に整合性の確認を行ない、
前記整合性の確認の結果、前記加速率の予測結果が整合性を有しないと判断した場合に、整合性を有しないと判断したジョブについて、優先度を算出する
処理を前記コンピュータに実行させることを特徴とする請求項1に記載のスケジューリングプログラム。
【請求項3】
深層学習モデルについての処理対象のジョブに関する情報に基づき、深層学習モデルの種類とバッチサイズと加速率とを対応付けたプログラムの実行履歴を参照して、前記深層学習モデルの実行に伴う加速率の予測を行ない、
前記加速率の予測結果に基づいて、計算リソースに割り付けるプログラムの順序の決定をする
処理を実行する制御部を有することを特徴とする情報処理装置。
【請求項4】
深層学習モデルについての処理対象のジョブに関する情報に基づき、深層学習モデルの種類とバッチサイズと加速率とを対応付けたプログラムの実行履歴を参照して、前記深層学習モデルの実行に伴う加速率の予測を行ない、
前記加速率の予測結果に基づいて、計算リソースに割り付けるプログラムの順序の決定をする
処理をコンピュータが実行することを特徴とするスケジューリング方法。
発明の詳細な説明
【技術分野】
【0001】
本発明は、スケジューリングプログラム,情報処理装置およびスケジューリング方法に関する。
続きを表示(約 1,200 文字)
【背景技術】
【0002】
深層学習アプリケーション(以下、深層学習アプリという)の実行に、CPU(Central Processing Unit)に代えてGPU(Graphics Processing Unit)を用いることで、処理性能が向上することが知られている(例えば、特許文献1)。近年においては、深層学習アプリの実行にGPUは必須であるといってよい。
【0003】
GPUはCPUに比べて単価が高いため、少ない数のGPUを複数のプロセス間でうまく共有して使うことが重要である。
【0004】
Slurm等の既知のジョブスケジューラにおいては、GPUをプロセス実行開始から終了まで占有させ続けるため、GPU数を超えるジョブを同時に実行させることはできない。GPUを確保できないジョブはジョブキューに投入され、GPUを利用中のプロセスが完全に終了するまで待機することとなる。もしくは、GPUよりも処理性能が劣るCPUによりジョブを処理させる。
【0005】
また、GPUを効率的に利用する手法として、GPUプリエンプションが知られている。GPUプリエンプションにおいては、GPU利用中のジョブを外部から停止させ、他のジョブにGPUの利用権を移譲することを可能とする。このようなGPUプリエンプションを定期的に行なうことで、時間単位でGPU利用プロセスを切り替えることができ、後続するジョブが、先行ジョブが完全に停止するまで待たずにGPUを利用することができる。
【先行技術文献】
【特許文献】
【0006】
特表2022-515302号公報
【発明の概要】
【発明が解決しようとする課題】
【0007】
CPUとGPUの切り替えコストや実行時間コストを削減し、プロセスを効率的に処理することが望まれている。
【0008】
1つの側面では、本発明は、プロセスに効率的にGPUを割り当てることができるようにすることを目的とする。
【課題を解決するための手段】
【0009】
このため、このスケジューリングプログラムは、深層学習モデルについての処理対象のジョブに関する情報に基づき、深層学習モデルの種類とバッチサイズと加速率とを対応付けたプログラムの実行履歴を参照して、前記深層学習モデルの実行に伴う加速率の予測を行ない、前記加速率の予測結果に基づいて、計算リソースに割り付けるプログラムの順序の決定をする処理をコンピュータに実行させる。
【発明の効果】
【0010】
一実施形態によれば、プロセスに効率的に計算リソースを割り当てることができる。
【図面の簡単な説明】
(【0011】以降は省略されています)
この特許をJ-PlatPat(特許庁公式サイト)で参照する
関連特許
富士通株式会社
半導体装置
1か月前
富士通株式会社
行列演算回路
1か月前
富士通株式会社
周波数変換器
1か月前
富士通株式会社
画像処理モデル
1か月前
富士通株式会社
半導体デバイス
1か月前
富士通株式会社
メッシュ微細化
1か月前
富士通株式会社
演算器及び演算方法
1か月前
富士通株式会社
ポイントクラウド分類
1か月前
富士通株式会社
冷却装置及び電子機器
1か月前
富士通株式会社
電子機器筐体及び電子機器
1か月前
富士通株式会社
OLT及びPONシステム
15日前
富士通株式会社
アレイアンテナモジュール
1か月前
富士通株式会社
光送信器及び光トランシーバ
1か月前
富士通株式会社
情報処理装置及び情報処理方法
1日前
富士通株式会社
プログラム及びデータ処理装置
9日前
富士通株式会社
通信制御装置及び移動中継装置
1か月前
富士通株式会社
演算処理装置及び情報処理装置
25日前
富士通株式会社
基板及びこれを備えた電子装置
1か月前
富士通株式会社
波長変換装置および波長変換方法
28日前
富士通株式会社
テキスト案内される画像エディタ
1か月前
富士通株式会社
ラックマウント装置及びラック装置
28日前
富士通株式会社
メモリ管理装置及びメモリ管理方法
1か月前
富士通株式会社
動的多次元メディアコンテンツ投影
2か月前
富士通株式会社
不正検知プログラム、方法、及び装置
1日前
富士通株式会社
受光デバイス及び受光デバイスの製造方法
14日前
富士通株式会社
通知プログラム、通知方法および通知装置
14日前
富士通株式会社
管理装置、管理方法、および管理プログラム
1か月前
富士通株式会社
コンパイルプログラムおよびコンパイル方法
9日前
富士通株式会社
生成プログラム、生成方法および情報処理装置
1か月前
富士通株式会社
交通シミュレーションのための方法および装置
2か月前
富士通株式会社
検出プログラム、検出方法および情報処理装置
28日前
富士通株式会社
プログラム、情報処理方法および情報処理装置
1か月前
富士通株式会社
探索プログラム、探索方法、および情報処理装置
1か月前
富士通株式会社
出張情報受付方法および出張情報受付プログラム
1か月前
富士通株式会社
制御プログラム、制御方法、および情報処理装置
1か月前
富士通株式会社
ターゲット追跡のための方法、装置及び記憶媒体
25日前
続きを見る
他の特許を見る