TOP
|
特許
|
意匠
|
商標
特許ウォッチ
Twitter
他の特許を見る
10個以上の画像は省略されています。
公開番号
2025167731
公報種別
公開特許公報(A)
公開日
2025-11-07
出願番号
2024072591
出願日
2024-04-26
発明の名称
水溶性単位用量物品の製造方法
出願人
花王株式会社
代理人
弁理士法人南青山国際特許事務所
主分類
B65B
9/04 20060101AFI20251030BHJP(運搬;包装;貯蔵;薄板状または線条材料の取扱い)
要約
【課題】完成後における水溶性単位用量物品同士の貼り付きを抑制する。
【解決手段】一定量の水溶性物質が個包装された水溶性単位用量物品の製造方法では、一定量の水溶性物質を水溶性フィルムで被覆した個包装体が成形される。熱風を導入することで気流を発生させる加温乾燥装置内における、導入直後の熱風が直接当たらない領域において上記個包装体が加温乾燥される。
【選択図】図11
特許請求の範囲
【請求項1】
一定量の水溶性物質が個包装された水溶性単位用量物品の製造方法であって、
前記水溶性物質を水溶性フィルムで被覆した個包装体を成形し、
熱風を導入することで気流を発生させる加温乾燥装置内における、導入直後の熱風が直接当たらない領域において前記個包装体を加温乾燥させる
水溶性単位用量物品の製造方法。
続きを表示(約 720 文字)
【請求項2】
前記個包装体を成形する工程は、前記水溶性フィルム同士を熱溶着させる工程と、熱溶着させる前の前記水溶性フィルムの一対の溶着面の少なくとも一方を水で濡らす工程と、を含む
請求項1に記載の水溶性単位用量物品の製造方法。
【請求項3】
前記個包装体を成形する工程の少なくとも一部を加湿雰囲気中で行う
請求項1又は2に記載の水溶性単位用量物品の製造方法。
【請求項4】
前記水溶性フィルムが水溶性PVAフィルムであり、
前記個包装体を加温乾燥させる工程における気流を形成する空気の温度が140℃以上160℃以下である
請求項1又は2に記載の水溶性単位用量物品の製造方法。
【請求項5】
前記水溶性フィルムが水溶性PVAフィルムであり、
前記水溶性フィルム同士を熱溶着させる工程における熱溶着温度が110℃以上130℃以下である
請求項2に記載の水溶性単位用量物品の製造方法。
【請求項6】
前記個包装体を加温乾燥させる工程に引き続いて空気の気流中で前記個包装体を冷却する
請求項1又は2に記載の水溶性単位用量物品の製造方法。
【請求項7】
前記個包装体の冷却する工程では、気流を形成する空気を室温よりも低い温度に降温させない
請求項6に記載の水溶性単位用量物品の製造方法。
【請求項8】
前記個包装体を加温乾燥させる工程と、前記個包装体を冷却する工程と、を一連のコンベアで前記個包装体を搬送する過程において行う
請求項6に記載の水溶性単位用量物品の製造方法。
発明の詳細な説明
【技術分野】
【0001】
本発明は、一定量の水溶性物質が個包装された水溶性単位用量物品の製造方法に関する。
続きを表示(約 1,500 文字)
【背景技術】
【0002】
特許文献1には、一定量の洗濯用洗剤が水溶性フィルムによって個包装された水溶性単位用量物品が開示されている。この水溶性単位用量物品では、消費者が洗濯用洗剤の使用時に自ら計量を行うことなく、水溶性フィルムごと一定量の洗濯用洗剤を洗濯機に投入することができるため、日々の洗濯において高い利便性が得られる。
【先行技術文献】
【特許文献】
【0003】
特開2022-013873号公報
【発明の概要】
【発明が解決しようとする課題】
【0004】
水溶性単位用量物品の完成後、1以上の水溶性単位用量物品を例えば箱詰めする等の出荷準備工程が必要になる。この出荷準備工程では、複数の水溶性単位用量物品を一括して取り扱うことでコスト及び時間を節約することができる。しかしながら、複数の水溶性単位用量物品を一括して取り扱うと、各水溶性単位用量物品を構成する水溶性フィルム同士が貼り付いて作業に支障をきたす場合がある。
【0005】
本発明は、完成後における水溶性単位用量物品同士の貼り付きを抑制することを目的とする。
【課題を解決するための手段】
【0006】
本発明の一形態に係る一定量の水溶性物質が個包装された水溶性単位用量物品の製造方法では、一定量の水溶性物質を水溶性フィルムで被覆した個包装体が成形される。
熱風を導入することで気流を発生させる加温乾燥装置内における、導入直後の熱風が直接当たらない領域において上記個包装体が加温乾燥される。
【発明の効果】
【0007】
本発明によれば、完成後における水溶性単位用量物品同士の貼り付きを抑制することができる。
【図面の簡単な説明】
【0008】
本発明の一実施形態に係る水溶性単位用量物品の斜視図である。
上記水溶性単位用量物品の作製等のフローを示すフローチャートである。
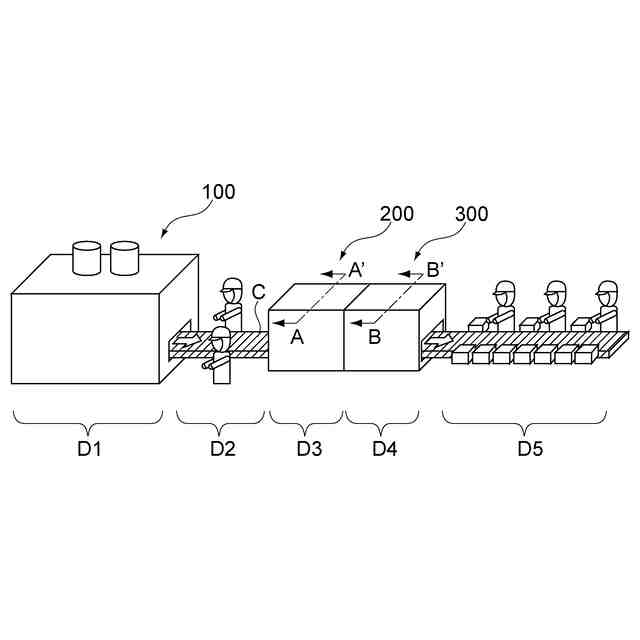
上記水溶性単位用量物品の作製等のラインを示す模式図である。
図2のステップS1を示すフローチャートである。
図4のステップS11を示す模式図である。
図4のステップS12を示す模式図である。
図4のステップS13を示す模式図である。
図4のステップS14を示す模式図である。
図4のステップS15を示す模式図である。
図4のステップS16を示す模式図である。
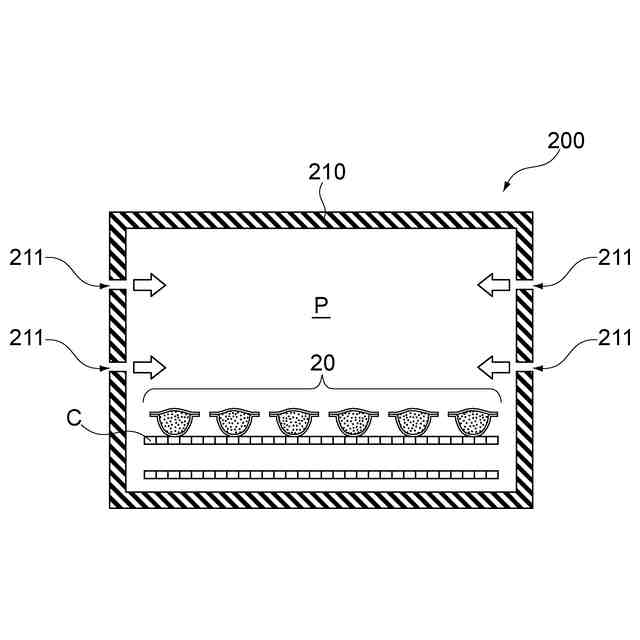
図2のステップS2を示す模式図である。
図2のステップS3を示す模式図である。
【発明を実施するための形態】
【0009】
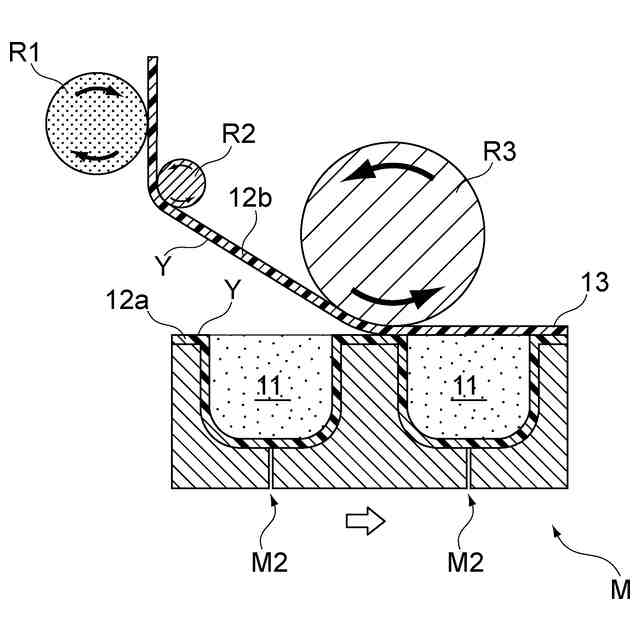
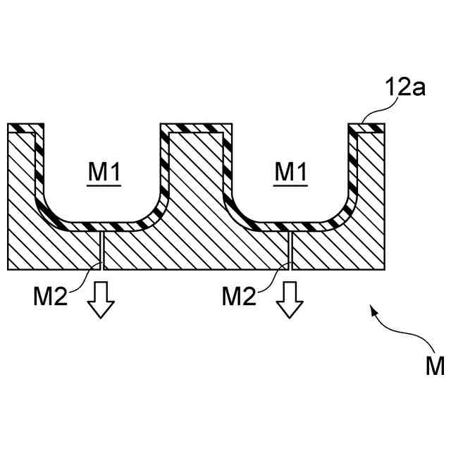
[水溶性単位用量物品10の構成]
本発明の一実施形態に係る水溶性単位用量物品10は、図1に示すように、スティック状に構成され、水溶性物質11と、第1水溶性フィルム12aと、第2水溶性フィルム12bと、を有する。水溶性単位用量物品10では、水溶性物質11が内容物を構成し、水溶性フィルム12a,12bが包装材を構成する。
【0010】
水溶性単位用量物品10は、熱溶着部13を更に有する。熱溶着部13は、積層された水溶性フィルム12a,12bの縁部の全周にわたって設けられ、水溶性フィルム12a,12b同士が熱溶着されている。水溶性単位用量物品10では、水溶性フィルム12a,12bの間の熱溶着部13より内側の領域に水溶性物質11が収容されている。
(【0011】以降は省略されています)
この特許をJ-PlatPat(特許庁公式サイト)で参照する
関連特許
花王株式会社
袋体
1か月前
花王株式会社
組立体
2か月前
花王株式会社
包装容器
16日前
花王株式会社
吐出容器
1か月前
花王株式会社
放散装置
2か月前
花王株式会社
製函装置
1か月前
花王株式会社
清掃用具
1か月前
花王株式会社
吐出容器
1か月前
花王株式会社
固形食品
1か月前
花王株式会社
固形食品
2か月前
花王株式会社
乳化化粧料
1か月前
花王株式会社
乳化化粧料
25日前
花王株式会社
吸収性物品
2か月前
花王株式会社
油性化粧料
1か月前
花王株式会社
皮膚洗浄料
16日前
花王株式会社
毛髪洗浄剤
1か月前
花王株式会社
泡吐出容器
1か月前
花王株式会社
油性化粧料
1か月前
花王株式会社
乳化化粧料
4日前
花王株式会社
乳化化粧料
1か月前
花王株式会社
練歯磨組成物
27日前
花王株式会社
吸収性パッド
2か月前
花王株式会社
剥離剤組成物
2か月前
花王株式会社
情報処理装置
4日前
花王株式会社
洗浄剤組成物
24日前
花王株式会社
洗浄剤組成物
24日前
花王株式会社
洗浄剤組成物
24日前
花王株式会社
防錆剤組成物
2か月前
花王株式会社
抗菌剤組成物
1か月前
花王株式会社
口腔用組成物
18日前
花王株式会社
防錆剤組成物
2か月前
花王株式会社
口腔用組成物
18日前
花王株式会社
口腔用組成物
2か月前
花王株式会社
口腔用組成物
18日前
花王株式会社
口腔用組成物
2か月前
花王株式会社
アノード電極
17日前
続きを見る
他の特許を見る