TOP
|
特許
|
意匠
|
商標
特許ウォッチ
Twitter
他の特許を見る
10個以上の画像は省略されています。
公開番号
2025166575
公報種別
公開特許公報(A)
公開日
2025-11-06
出願番号
2024070694
出願日
2024-04-24
発明の名称
判定装置
出願人
NTT東日本株式会社
代理人
個人
,
個人
,
個人
主分類
C09D
167/03 20060101AFI20251029BHJP(染料;ペイント;つや出し剤;天然樹脂;接着剤;他に分類されない組成物;他に分類されない材料の応用)
要約
【課題】リサイクル材を原料とした、安定した品質を有する粉体塗料を提供する。
【解決手段】再生PETを含有する粉体塗料であって、IV値が0.6以上であり、昇温時の発熱量が1mJ/mg以下である。判定装置1は、再生PETペレットまたは再生PET粉体塗料のIV値と昇温時の発熱量を測定し、IV値が0.6以上であり、昇温時の発熱量が1mJ/mg以下である再生PETペレットまたは再生PET粉体塗料を合格と判定する。
【選択図】図1
特許請求の範囲
【請求項1】
再生ポリエチレンテレフタレートを含有する粉体塗料であって、
固有粘度が0.6以上であり、昇温時に発熱ピークが検出されない、
粉体塗料。
続きを表示(約 420 文字)
【請求項2】
請求項1に記載の粉体塗料であって、
昇温時の発熱量が1mJ/mg以下である、
粉体塗料。
【請求項3】
粉体塗料の原料とする再生ポリエチレンテレフタレートまたは再生ポリエチレンテレフタレートを含有する粉体塗料の品質を判定する判定装置であって、
前記再生ポリエチレンテレフタレートまたは前記粉体塗料の固有粘度を取得し、
前記再生ポリエチレンテレフタレートまたは前記粉体塗料の昇温時の発熱量を取得し、
前記固有粘度が0.6以上であり前記昇温時に発熱ピークが検出されない前記再生ポリエチレンテレフタレートまたは前記粉体塗料を合格と判定する、
判定装置。
【請求項4】
請求項3に記載の判定装置であって、
昇温時の発熱量が1mJ/mg以下の前記再生ポリエチレンテレフタレートまたは前記粉体塗料を合格と判定する、
判定装置。
発明の詳細な説明
【技術分野】
【0001】
本開示は、粉体塗料および判定装置に関する。
続きを表示(約 1,100 文字)
【背景技術】
【0002】
金属製設備を塩害等による腐食から保護するために、設備に粉体塗装が施されることがある。粉体塗装の原料には石油由来のポリエチレンテレフタレート(PET)樹脂が用いられたものがある。
【0003】
近年、世界的な環境配慮の高まりと原油の地政学による供給不安定性から、石油由来のPETだけでなく、リサイクル材由来の再生PETを原料とした製品の開発が求められている。
【先行技術文献】
【特許文献】
【0004】
特開2001-002987号公報
【非特許文献】
【0005】
“防錆塗料 SAPOE5000(熱可塑性ポリエステル樹脂粉体塗料)”、NTT-ATクリエイティブ株式会社、インターネット〈URL:https://www.ntt-atcr.co.jp/item/originalproducts/item29.html?_sm_nck=1〉
【発明の概要】
【発明が解決しようとする課題】
【0006】
再生PETは、石油由来のPETと比較して、「環境配慮」と「原油供給の不安定性の解消」に優位性がある。石油由来のPETを再生PETに置き換えて粉体塗料を製造した際、製造ロットごとに塗膜形成が不良であるものや、耐久性試験において性能の劣るものがあり、品質が不安定になるという課題があった。再生PETを原料とした、安定した品質を持つ粉体塗料を製造する方法が求められる。
【0007】
本開示は、上記に鑑みてなされたものであり、リサイクル材を原料とした、安定した品質を有する粉体塗料を提供することを目的とする。
【課題を解決するための手段】
【0008】
本開示の一態様の粉体塗料は、再生ポリエチレンテレフタレートを含有する粉体塗料であって、固有粘度が0.6以上であり、昇温時に発熱ピークが検出されない。
【0009】
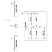
本開示の一態様の判定装置は、粉体塗料の原料とする再生ポリエチレンテレフタレートまたは再生ポリエチレンテレフタレートを含有する粉体塗料の品質を判定する判定装置であって、前記再生ポリエチレンテレフタレートまたは前記粉体塗料の固有粘度を取得し、前記再生ポリエチレンテレフタレートまたは前記粉体塗料の昇温時の発熱量を取得し、前記固有粘度が0.6以上であり前記昇温時に発熱ピークが検出されない前記再生ポリエチレンテレフタレートまたは前記粉体塗料を合格と判定する。
【発明の効果】
【0010】
本開示によれば、リサイクル材を原料とした、安定した品質を有する粉体塗料を提供できる。
【図面の簡単な説明】
(【0011】以降は省略されています)
この特許をJ-PlatPat(特許庁公式サイト)で参照する
関連特許
NTT東日本株式会社
判定装置
2日前
NTT東日本株式会社
魚類養殖システム、養殖方法、及び養殖プログラム
11日前
NTT東日本株式会社
シーン検出装置、シーン検出方法、及び、シーン検出プログラム
1か月前
日本化薬株式会社
インク
1日前
日本化薬株式会社
インク
1か月前
ベック株式会社
水性被覆材
1か月前
ベック株式会社
被膜形成方法
1か月前
ベック株式会社
被膜形成方法
3か月前
日本化薬株式会社
インクセット
1日前
個人
絵具及び絵具セット
16日前
日本製紙株式会社
圧着紙
29日前
出光興産株式会社
構造体
1日前
日本化薬株式会社
前処理組成物
29日前
日本化薬株式会社
インク組成物
1か月前
株式会社日本触媒
インクセット
1か月前
株式会社KRI
潜熱蓄熱材組成物
29日前
個人
滑り止め分散剤組成物
9日前
東ソー株式会社
印刷インキ組成物
22日前
メック株式会社
表面処理剤
24日前
関西ペイント株式会社
塗料組成物
3か月前
東亞合成株式会社
プライマー組成物
11日前
シヤチハタ株式会社
油性インキ組成物
2か月前
日澱化學株式会社
ホットメルト接着剤
1か月前
東ソー株式会社
土木用注入薬液組成物
1か月前
株式会社グッドネス
保冷パック
4日前
大日精化工業株式会社
顔料分散液
2か月前
アイカ工業株式会社
ホットメルト組成物
1か月前
アイカ工業株式会社
光硬化型圧着組成物
2か月前
AGC株式会社
液状組成物
3か月前
マクセル株式会社
粘着テープ
4日前
東ソー株式会社
土質安定化注入薬液組成物
2か月前
東ソー株式会社
土質安定化注入薬液組成物
2か月前
マクセル株式会社
粘着テープ
3か月前
デンカ株式会社
蛍光体
1か月前
日本化薬株式会社
インク組成物及び捺染方法
29日前
リンテック株式会社
粘着シート
1か月前
続きを見る
他の特許を見る