TOP
|
特許
|
意匠
|
商標
特許ウォッチ
Twitter
他の特許を見る
公開番号
2025166258
公報種別
公開特許公報(A)
公開日
2025-11-05
出願番号
2025140626,2025502786
出願日
2025-08-26,2024-02-22
発明の名称
果菜植物の栽培方法、トマト、果菜植物水耕栽培用培養液及び果菜植物水耕栽培装置
出願人
富士フイルム株式会社
代理人
弁理士法人太陽国際特許事務所
主分類
A01G
22/05 20180101AFI20251028BHJP(農業;林業;畜産;狩猟;捕獲;漁業)
要約
【課題】塩化ナトリウム等の塩を含有する場合であっても、高い収穫量が達成可能な果菜植物の栽培方法、トマト、果菜植物水耕栽培用培養液及び果菜植物水耕栽培装置の提供。
【解決手段】Si含有率が60質量ppm以上の培養液を使用した水耕法により、果菜植物を栽培する、果菜植物の栽培方法、トマト、果菜植物水耕栽培用培養液及び果菜植物水耕栽培装置。
【選択図】なし
特許請求の範囲
【請求項1】
果菜植物苗の定植直後から第2果房段の開花前に、Siを含まない培養液を使用した水耕法により、果菜植物を栽培し、
第2果房段の開花後に、Si含有率が80質量ppm以上、かつ、電気伝導度が4.5ds/m以上である培養液を使用した水耕法により、果菜植物を栽培する、果菜植物の栽培方法。
続きを表示(約 740 文字)
【請求項2】
前記培養液が、ケイ酸塩を含む、請求項1に記載の果菜植物の栽培方法。
【請求項3】
前記培養液が、塩化ナトリウムを含む、請求項1又は請求項2に記載の果菜植物の栽培方法。
【請求項4】
光強度200μmol/m
2
/s~800μmol/m
2
/sの人工光を前記果菜植物苗に照射することを含む、請求項1に記載の果菜植物の栽培方法。
【請求項5】
前記人工光の照射が、前記果菜植物の側面及び上面の少なくとも一方から行われる、請求項4に記載の果菜植物の栽培方法。
【請求項6】
前記果菜植物が、トマト又はメロンである、請求項1又は請求項2に記載の果菜植物の栽培方法。
【請求項7】
前記果菜植物が、トマトであり、
前記トマトの乾燥質量に対するSi含有率が20質量ppm以上である、請求項1又は請求項2に記載の果菜植物の栽培方法。
【請求項8】
第2果房段の開花後に、Si含有率が80質量ppm以上、かつ、電気伝導度が4.5ds/m以上である培養液を使用した水耕法により栽培され、
トマトの乾燥質量に対するSi含有率が20質量ppm以上であり、Brix糖度が5.0質量%以上である、トマト。
【請求項9】
第2果房段の開花後に使用され、
塩化ナトリウム及びケイ酸塩を含み、Si含有率が80質量ppm以上、かつ、電気伝導度が4.5ds/m以上である、果菜植物水耕栽培用培養液。
【請求項10】
請求項9に記載の果菜植物水耕栽培用培養液が収容された培養液槽を備える、果菜植物水耕栽培装置。
発明の詳細な説明
【技術分野】
【0001】
本開示は、果菜植物の栽培方法、トマト、果菜植物水耕栽培用培養液及び果菜植物水耕栽培装置に関する。
続きを表示(約 2,800 文字)
【背景技術】
【0002】
トマト等の果菜植物の栽培方法として、水耕栽培が知られている。近年では、収穫物の高糖度化を目的として、塩化ナトリウム等を含有する培養液(例えば、海水)が水耕栽培において用いられている。
例えば、特開2004-357638号公報においては、硝酸性窒素含有量が0.27mg/リットル以上、ケイ酸含有量が3.2mg/リットル以上で、大腸菌群数が1.8MPN/100ミリリットル未満で一般細菌数が1未満/ミリリットル以下である海水を、希釈した培養液をトマトの水耕栽培に使用することが開示されている。
また、特許第6535421号公報においても、海水を培養液としてトマトの水耕栽培に使用することが開示されている。
【発明の概要】
【発明が解決しようとする課題】
【0003】
従来より、水耕栽培に用いる培養液の原水中で塩化ナトリウム等の塩濃度が高い場合、培養液の塩濃度が適正な範囲を越えて高くなることで、収穫量が低下することが知られている。そのため、収穫量の改善が求められている。
【0004】
本開示の一実施形態が解決しようとする課題は、塩化ナトリウム等の塩を含有する場合であっても、高い収穫量が達成可能な果菜植物の栽培方法、トマト、果菜植物水耕栽培用培養液及び果菜植物水耕栽培装置を提供することである。
【課題を解決するための手段】
【0005】
上記課題を解決するための手段には、以下の態様が含まれる。
<1> Si含有率が60質量ppm以上の培養液を使用した水耕法により、果菜植物を栽培する、果菜植物の栽培方法。
<2> 上記培養液が、ケイ酸塩を含む、上記<1>に記載の果菜植物の栽培方法。
<3> 上記培養液が、塩化ナトリウムを含む、上記<1>又は<2>に記載の果菜植物の栽培方法。
<4> 上記培養液の電気伝導度が4.0ds/m以上である、上記<1>~<3>のいずれか1つに記載の果菜植物の栽培方法。
<5> 水耕法による上記果菜植物の栽培が、少なくとも、果菜植物苗の定植後に行われる、上記<1>~<4>のいずれか1つに記載の果菜植物の栽培方法。
<6> 光強度200μmol/m
2
/s~800μmol/m
2
/sの人工光を上記果菜植物苗に照射することを含む、上記<5>に記載の果菜植物の栽培方法。
<7> 上記人工光の照射が、上記果菜植物の側面及び上面の少なくとも一方から行われる、上記<6>に記載の果菜植物の栽培方法。
<8> 上記果菜植物が、トマト又はメロンである、上記<1>~<7>のいずれか1つに記載の果菜植物の栽培方法。
<9> 上記果菜植物が、トマトであり、上記トマトの乾燥質量に対するSi含有率が20質量ppm以上である、上記<1>~<8>のいずれか1つに記載の果菜植物の栽培方法。
<10> トマトの乾燥質量に対するSi含有率が20質量ppm以上であり、Brix糖度が5.0質量%以上である、トマト。
<11> 塩化ナトリウム及びケイ酸塩を含み、Si含有率が60質量ppm以上である、果菜植物水耕栽培用培養液。
<12> 電気伝導度が4.0ds/m以上である、上記<11>に記載の果菜植物水耕栽培用培養液。
<13> 上記<11>又は<12>に記載の果菜植物水耕栽培用培養液が収容された培養液槽を備える、果菜植物水耕栽培装置。
【発明の効果】
【0006】
本開示の一実施形態によれば、塩化ナトリウム等の塩を含有させた場合であっても、高い収穫量が達成可能な果菜植物の栽培方法、トマト、果菜植物水耕栽培用培養液及び果菜植物水耕栽培装置を提供することができる。
【図面の簡単な説明】
【0007】
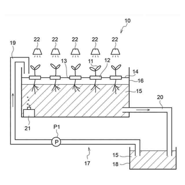
図1は、育苗工程に使用する水耕栽培装置の一実施形態を示す概略断面図である。
図2は、本開示の果菜植物水耕栽培装置の一実施形態を示す概略断面図である。
【発明を実施するための形態】
【0008】
以下、本開示を実施するための形態について詳細に説明する。但し、本開示は以下の実施形態に限定されない。以下の実施形態において、その構成要素(要素ステップ等も含む)は、特に明示した場合を除き、必須ではない。数値及びその範囲についても同様であり、本開示を制限するものではない。
本開示において「~」を用いて示された数値範囲には、「~」の前後に記載される数値がそれぞれ最小値及び最大値として含まれる。
本開示中に段階的に記載されている数値範囲において、一つの数値範囲で記載された上限値又は下限値は、他の段階的な記載の数値範囲の上限値又は下限値に置き換えてもよい。また、本開示中に記載されている数値範囲において、その数値範囲の上限値又は下限値は、実施例に示されている値に置き換えてもよい。
本開示において、「質量」と「重量」とは同義である。
本開示において「工程」との語は、独立した工程だけではなく、他の工程と明確に区別できない場合であってもその工程の所期の目的が達成されれば、本用語に含まれる。
本開示において、「果菜植物」とは、果実を収穫物とする植物を意味する。
本開示において、「培養液」とは、植物の生育に必要な栄養成分(例えば、無機物、有機物)を水等に溶解したものを意味する。
【0009】
[果菜植物の栽培方法]
本開示に係る果菜植物の栽培方法は、Si含有率が60質量ppm以上の培養液(以下、「特定培養液」とも記す。)を使用した水耕法により果菜植物を栽培する。特定培養液を用いた栽培は、育苗工程後の栽培工程で行うことが好ましく、育苗後の果菜植物の定植前又は定植後のいずれに開始してもよく、果菜植物の定植後に開始されることが好ましい。
【0010】
本発明者らは、理由は明らかではないが、水耕法において使用する培養液のSi含有率を60質量ppm以上とすることにより、塩化ナトリウム等の塩を含有させた場合であっても、高い収穫量が達成可能であることを見出した。
なお、特開2004-357638号公報において開示される培養液は、希釈倍率が記載されていないものの、一般的な希釈倍率である10倍に海水を希釈して使用しているとすると、Si含有率は、0.089質量ppm程度であり、収穫量の向上は困難である。また、特許第6535421号公報において開示される培養液は、海水であるが、Si含有率は、0.89質量ppm程度であり、収穫量の向上は困難である。
(【0011】以降は省略されています)
この特許をJ-PlatPat(特許庁公式サイト)で参照する
関連特許
富士フイルム株式会社
内視鏡
4日前
富士フイルム株式会社
内視鏡
4日前
富士フイルム株式会社
超音波内視鏡
19日前
富士フイルム株式会社
超音波内視鏡
19日前
富士フイルム株式会社
超音波内視鏡
19日前
富士フイルム株式会社
超音波内視鏡
19日前
富士フイルム株式会社
内視鏡システム
20日前
富士フイルム株式会社
プロセッサ装置
19日前
富士フイルム株式会社
X線透視撮影装置
27日前
富士フイルム株式会社
磁気共鳴撮像装置
11日前
富士フイルム株式会社
内視鏡用色調整治具
27日前
富士フイルム株式会社
撮像レンズおよび撮像装置
今日
富士フイルム株式会社
パネル回路及び細胞処理装置
4日前
富士フイルム株式会社
内視鏡システム及びその作動方法
11日前
富士フイルム株式会社
医療画像処理装置及びその作動方法
1か月前
富士フイルム株式会社
CT装置、及びCT装置の制御方法
12日前
富士フイルム株式会社
アイトラッキングデバイスの小型化、薄型化
13日前
富士フイルム株式会社
情報処理装置、情報処理方法及びプログラム
11日前
富士フイルム株式会社
結像光学系、投写型表示装置、及び撮像装置
1か月前
富士フイルム株式会社
結像光学系、投写型表示装置、および撮像装置
1か月前
富士フイルム株式会社
結像光学系、投写型表示装置、および撮像装置
1か月前
富士フイルム株式会社
送液補助装置、細胞処理装置及び送液補助方法
11日前
富士フイルム株式会社
送液補助装置、細胞処理装置及び送液補助方法
11日前
富士フイルム株式会社
医療器具、医療支援装置、及び医療支援プログラム
5日前
富士フイルム株式会社
受信コイルユニット及び磁気共鳴イメージング装置
25日前
富士フイルム株式会社
超音波診断支援装置及び超音波診断支援プログラム
11日前
富士フイルム株式会社
転写フィルム、導体パターンを有する積層体の製造方法
1か月前
富士フイルム株式会社
振動素子の検査結果表示装置及び検査結果表示プログラム
1か月前
富士フイルム株式会社
磁気テープ、磁気テープカートリッジおよび磁気テープ装置
19日前
富士フイルム株式会社
コイルユニット、磁気共鳴イメージングシステム、及びその制御方法
11日前
富士フイルム株式会社
システム及び接続機器
4日前
富士フイルム株式会社
駆動装置及び撮像装置
6日前
富士フイルム株式会社
放射線撮影装置、放射線撮影装置の温度制御方法および温度制御プログラム
今日
富士フイルム株式会社
情報処理装置、情報処理装置の作動方法、および情報処理装置の作動プログラム
1か月前
富士フイルム株式会社
画像処理装置、及び画像処理方法
11日前
富士フイルム株式会社
推定装置、方法およびプログラム
19日前
続きを見る
他の特許を見る