TOP
|
特許
|
意匠
|
商標
特許ウォッチ
Twitter
他の特許を見る
10個以上の画像は省略されています。
公開番号
2025170486
公報種別
公開特許公報(A)
公開日
2025-11-19
出願番号
2024075086
出願日
2024-05-07
発明の名称
内視鏡システム
出願人
富士フイルム株式会社
代理人
弁理士法人航栄事務所
主分類
A61B
1/00 20060101AFI20251112BHJP(医学または獣医学;衛生学)
要約
【課題】内視鏡の撮像画像の品質を向上させることのできるシステム及び光源装置を提供すること。
【解決手段】内視鏡装置100は、観察対象の撮像を行う撮像装置を有する内視鏡1と、観察対象に光を出射する光源装置5と、観察対象から撮像素子16へ出射された光を処理する光学フィルタ17と、を備える。光源装置5は、紫色光を生成する第1光源51と、第1青色光を生成する第2光源52と、緑色光を生成する第3光源53と、赤色光を生成する第4光源54と、第1青色光の中心波長と緑色光の中心波長との間の中心波長を有する第2青色光を生成する第5光源55と、を有する。光学フィルタ17は、紫色光、第1青色光、緑色光、及び赤色光を透過させ、第2青色光を減衰させる。
【選択図】図2
特許請求の範囲
【請求項1】
観察対象の撮像を行う撮像装置を有する内視鏡と、
前記観察対象に光を出射する光源装置と、
前記観察対象から前記撮像装置へ出射された光を処理する光学部材と、
を備える内視鏡システムであって、
前記光源装置は、
紫色光を生成する第1光源と、
第1青色光を生成する第2光源と、
緑色光を生成する第3光源と、
赤色光を生成する第4光源と、
前記第1青色光の中心波長と前記緑色光の中心波長との間の中心波長を有する第2青色光を生成する第5光源と、を有し、
前記光学部材は、前記紫色光、前記第1青色光、前記緑色光、及び前記赤色光を透過させ、前記第2青色光を減衰させる、
内視鏡システム。
続きを表示(約 1,300 文字)
【請求項2】
請求項1に記載の内視鏡システムであって、
前記撮像装置で撮像された画像を表示する表示装置を備える、
内視鏡システム。
【請求項3】
請求項1に記載の内視鏡システムであって、
前記光学部材は、前記第2青色光の波長帯域における透過率が、前記紫色光の波長帯域、前記第1青色光の波長帯域、前記緑色光の波長帯域、及び前記赤色光の波長帯域における透過率より低い光学フィルタである、
内視鏡システム。
【請求項4】
請求項1に記載の内視鏡システムであって、
前記第2青色光は、蛍光薬剤に吸収され蛍光を発光させる波長帯域の励起光であり、
前記光学部材は、前記蛍光を透過させる、
内視鏡システム。
【請求項5】
請求項4に記載の内視鏡システムであって、
前記光学部材は、前記第2青色光の波長帯域における透過率が、前記紫色光の波長帯域、前記第1青色光の波長帯域、前記緑色光の波長帯域、前記赤色光の波長帯域、及び前記蛍光の波長帯域における透過率より低い光学フィルタである、
内視鏡システム。
【請求項6】
請求項3に記載の内視鏡システムであって、
前記光学フィルタは、ノッチフィルタである、
内視鏡システム。
【請求項7】
請求項1に記載の内視鏡システムであって、
前記光源装置は、前記第1光源、前記第2光源、前記第3光源、及び前記第4光源が生成した光による照明光と、前記第5光源が生成した光による励起光と、を時分割で前記観察対象へ出射する、
内視鏡システム。
【請求項8】
請求項1に記載の内視鏡システムであって、
前記光源装置は、前記第1光源、前記第2光源、前記第3光源、及び前記第4光源が生成した光による第1照明光と、前記第1光源、前記第2光源、前記第3光源、及び前記第4光源が生成した光による、前記第1照明光とは波長スペクトルが異なる第2照明光と、前記第5光源が生成した光による励起光と、を前記観察対象へ出射可能である、
内視鏡システム。
【請求項9】
請求項1に記載の内視鏡システムであって、
前記第1光源、前記第2光源、前記第3光源、及び前記第4光源が生成した光による照明光が前記光源装置から出射されている状態において前記撮像装置により得られた撮像画像に対して第1階調処理を行い、
前記第5光源が生成した光による励起光が前記光源装置から出射されている状態において前記撮像装置により得られた撮像画像に対して前記第1階調処理と異なる第2階調処理を行う、
プロセッサを備える、
内視鏡システム。
【請求項10】
請求項9に記載の内視鏡システムであって、
前記第2階調処理は、前記第1階調処理より、画像のトーンを軟調化する処理である、
内視鏡システム。
(【請求項11】以降は省略されています)
発明の詳細な説明
【技術分野】
【0001】
本発明は、内視鏡システムに関する。
続きを表示(約 1,700 文字)
【背景技術】
【0002】
特許文献1には、被観察領域を照明する二対の照射窓を内視鏡挿入部の先端に配置し、互いに異なるスペクトルの狭帯域光を同時に照射する内視鏡装置が記載されている。
【先行技術文献】
【特許文献】
【0003】
特開2012-016545号明細書
【発明の概要】
【発明が解決しようとする課題】
【0004】
本開示では、内視鏡の撮像画像の品質を向上させることが可能な技術を提供する。
【課題を解決するための手段】
【0005】
本開示の技術の一態様の内視鏡システムは、観察対象の撮像を行う撮像装置を有する内視鏡と、上記観察対象に光を出射する光源装置と、上記観察対象から上記撮像装置へ出射された光を処理する光学部材と、を備える内視鏡システムであって、上記光源装置は、紫色光を生成する第1光源と、第1青色光を生成する第2光源と、緑色光を生成する第3光源と、赤色光を生成する第4光源と、上記第1青色光の中心波長と上記緑色光の中心波長との間の中心波長を有する第2青色光を生成する第5光源と、を有し、上記光学部材は、上記紫色光、上記第1青色光、上記緑色光、及び上記赤色光を透過させ、上記第2青色光を減衰させる、内視鏡システムである。
【発明の効果】
【0006】
本開示の技術によれば、内視鏡の撮像画像の品質を向上させることができる。
【図面の簡単な説明】
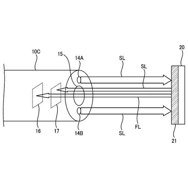
【0007】
本開示の技術の一態様である内視鏡装置100の概略構成を示す図である。
光源装置5の内部構成を示す模式図である。
光源装置5が生成する光の各波長スペクトルの一例を示す図である。
通常光観察モードでの各光源の制御状態の一例を示す図である。
通常光観察モードでの照明光の出射及び撮像の一例を示す図である。
通常光観察モードにおける照明光に含まれる光のスペクトルと光学フィルタの波長透過特性との関係の一例を示す図である。
蛍光観察モードでの各光源の制御状態の一例を示す図である。
蛍光観察モードでの励起光の出射及び撮像の一例を示す図である。
蛍光観察における励起光及び蛍光のスペクトルと光学フィルタの波長透過特性との関係の一例を示す図である。
第1階調処理及び第2階調処理の一例を説明するための図である。
【発明を実施するための形態】
【0008】
本明細書において、紫色光とは、380nm以上430nm以下の波長帯域の光を言う。青色光とは、430nm以上490nm以下の波長帯域の光を言う。緑色光とは、490nm以上560nm以下の波長帯域の光を言う。黄色光とは、560nm以上600nm以下の波長帯域の光を言う。赤色光とは、600nm以上650nm以下の波長帯域の光を言う。
【0009】
<本開示の技術の一態様である内視鏡装置100の概略構成>
図1は、本開示の技術の一態様である内視鏡装置100の概略構成を示す図である。内視鏡装置100は、内視鏡システムを構成する。内視鏡装置100は、内視鏡1と、この内視鏡1が接続されるプロセッサ装置4及び光源装置5からなる本体部2と、内視鏡1により撮像して得られた撮像画像等を表示する表示装置7と、プロセッサ装置4に対して各種情報を入力するためのインタフェースである入力部6と、を備える。
【0010】
内視鏡1は、一方向に延びる長尺状の器具であって被検体内に挿入される挿入部10と、挿入部10の基端部に設けられた観察モード切替操作、撮像記憶操作、鉗子操作、送気送水操作、吸引操作、又は電気メス操作等を行うための操作部材が設けられた操作部11と、操作部11に隣接して設けられたアングルノブ12と、内視鏡1を光源装置5とプロセッサ装置4にそれぞれ着脱自在に接続するコネクタ部13A,13Bを含むユニバーサルコード13と、を備える。
(【0011】以降は省略されています)
この特許をJ-PlatPat(特許庁公式サイト)で参照する
関連特許
富士フイルム株式会社
超音波内視鏡
2日前
富士フイルム株式会社
超音波内視鏡
2日前
富士フイルム株式会社
超音波内視鏡
2日前
富士フイルム株式会社
超音波内視鏡
2日前
富士フイルム株式会社
プロセッサ装置
2日前
富士フイルム株式会社
内視鏡システム
3日前
富士フイルム株式会社
X線透視撮影装置
10日前
富士フイルム株式会社
内視鏡用色調整治具
10日前
富士フイルム株式会社
結像光学系、投写型表示装置、及び撮像装置
15日前
富士フイルム株式会社
結像光学系、投写型表示装置、および撮像装置
15日前
富士フイルム株式会社
結像光学系、投写型表示装置、および撮像装置
15日前
富士フイルム株式会社
受信コイルユニット及び磁気共鳴イメージング装置
8日前
富士フイルム株式会社
転写フィルム、導体パターンを有する積層体の製造方法
15日前
富士フイルム株式会社
振動素子の検査結果表示装置及び検査結果表示プログラム
18日前
富士フイルム株式会社
磁気テープ、磁気テープカートリッジおよび磁気テープ装置
2日前
富士フイルム株式会社
推定装置、方法およびプログラム
2日前
富士フイルム株式会社
ヒト脳性ナトリウム利尿ペプチド前駆体N端フラグメントの測定方法および測定キット
2日前
富士フイルム株式会社
処理装置、処理方法、及び処理プログラム
17日前
富士フイルム株式会社
二次電池用バインダー組成物、電極シート及び二次電池、並びに、これら電極シート及び二次電池の製造方法
16日前
富士フイルム株式会社
文書作成支援装置、文書作成支援方法、及び文書作成支援プログラム
2日前
富士フイルム株式会社
二次電池用バインダー組成物、電極用組成物、電極シート及び二次電池、並びに、これら電極シート及び二次電池の製造方法
10日前
富士フイルム株式会社
二次電池用バインダー組成物、電極用組成物、電極シート及び二次電池、並びに、これら電極シート及び二次電池の製造方法
16日前
富士フイルム株式会社
果菜植物の栽培方法、トマト、果菜植物水耕栽培用培養液及び果菜植物水耕栽培装置
17日前
富士フイルム株式会社
医用画像処理方法、医用画像処理プログラム、記録媒体、医用画像処理装置、及び学習方法
8日前
富士フイルム株式会社
生体信号処理システムを備えた医用画像撮像装置、医用撮像システム、及び生体信号処理方法
15日前
個人
貼付剤
26日前
個人
簡易担架
8日前
個人
腋臭防止剤
8日前
個人
短下肢装具
4か月前
個人
足踏み器具
15日前
個人
排尿補助器具
1か月前
個人
嚥下鍛錬装置
4か月前
個人
前腕誘導装置
4か月前
個人
腰ベルト
29日前
個人
ウォート指圧法
1か月前
個人
胸骨圧迫補助具
2か月前
続きを見る
他の特許を見る