TOP
|
特許
|
意匠
|
商標
特許ウォッチ
Twitter
他の特許を見る
10個以上の画像は省略されています。
公開番号
2025171681
公報種別
公開特許公報(A)
公開日
2025-11-20
出願番号
2024077270
出願日
2024-05-10
発明の名称
超音波内視鏡
出願人
富士フイルム株式会社
代理人
個人
,
個人
,
個人
,
個人
,
個人
主分類
A61B
8/12 20060101AFI20251113BHJP(医学または獣医学;衛生学)
要約
【課題】先端部の視認性を確保しつつ、内視鏡の細径化を図ることが可能とする超音波内視鏡を提供する。
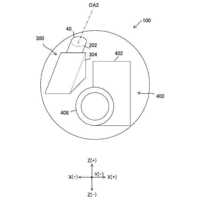
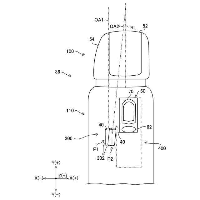
【解決手段】超音波内視鏡1は、挿入部の先端側に配置された先端部34と、先端部34に設けられ、長手軸方向に直交する第1方向の一方側に向かって超音波を出射する超音波トランスデューサ50と、超音波トランスデューサ50の外表面に設けられた音響レンズ52と、音響レンズ52よりも長手軸方向の基端側に配置された撮像部300と、を備え、第1方向から見た場合に、長手軸方向及び第1方向に直交する第2方向における音響レンズ52の中心部を通過して長手軸方向に延びる直線を基準線RLとした場合、第1方向から見た場合に、撮像部300は、基準線RLから第2方向の一方側にオフセットされた位置に配置され、且つ、撮像部300の光軸OA2と基準線RLとが交差する。
【選択図】図3
特許請求の範囲
【請求項1】
長手軸方向に沿って延びる挿入部の先端側に配置された先端部と、
前記先端部に設けられ、前記長手軸方向に直交する第1方向の一方側に向かって超音波を出射する超音波トランスデューサと、
前記超音波トランスデューサの外表面に設けられた音響レンズと、
前記音響レンズよりも前記長手軸方向の基端側に配置された撮像部と、
を備え、
前記第1方向から見た場合に、前記長手軸方向及び前記第1方向に直交する第2方向における前記音響レンズの中心部を通過して前記長手軸方向に延びる直線を基準線とした場合、
前記第1方向から見た場合に、前記撮像部は、前記基準線から前記第2方向の一方側にオフセットされた位置に配置され、且つ、前記撮像部の光軸と前記基準線とが交差する、
超音波内視鏡。
続きを表示(約 500 文字)
【請求項2】
前記光軸と前記基準線との交点が、前記音響レンズよりも前記長手軸方向の先端側に位置する、
請求項1に記載の超音波内視鏡。
【請求項3】
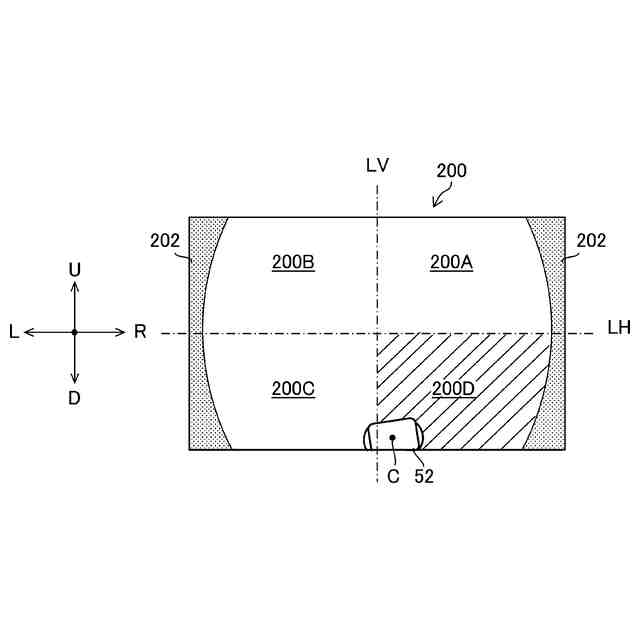
前記撮像部により取得される画像において前記画像の中心を基準として水平方向と鉛直方向とで区分される4つの象限のうち、前記音響レンズの中心部が第4象限に位置する、
請求項1又は2に記載の超音波内視鏡。
【請求項4】
前記光軸と前記基準線とのなす角度が5度以下である、
請求項1又は2に記載の超音波内視鏡。
【請求項5】
前記先端部は、前記長手軸方向において前記撮像部と重複した位置に配置された起立台ユニットを有し、
前記起立台ユニットは、前記第2方向に沿った回動軸の周りに回動自在の起立台と、前記起立台を収容する空間部を画定するケース部材と、を有する、
請求項1に記載の超音波内視鏡。
【請求項6】
前記第1方向から見た場合に、前記撮像部の少なくとも一部の領域が前記起立台ユニットと重なる位置に配置される、
請求項5に記載の超音波内視鏡。
発明の詳細な説明
【技術分野】
【0001】
本発明は超音波内視鏡に係り、特に、挿入部の先端部に超音波トランスデューサを備えた超音波内視鏡に関する。
続きを表示(約 1,300 文字)
【背景技術】
【0002】
超音波内視鏡として、挿入部の先端部にコンベックス型の超音波トランスデューサを備え、且つ先端部において超音波トランスデューサの基端側に処置具導出口が配置されたものが知られている(例えば、特許文献1参照)。
【0003】
上記の超音波内視鏡を用いた検査では、例えば、超音波トランスデューサにより処置対象部位の超音波画像を取得しながら、処置具挿通チャンネル及び処置具導出口を介して体内に導出した穿刺針(処置具)を処置対象部位に穿刺して細胞を採取する。この際、処置具は、起立台収容部に設けられた起立台の起伏動作により導出方向が変更されて、所望の位置を処置する。
【0004】
また、挿入部の先端部には、起立台の他、処置対象部位を観察するための撮像部と、処置対象部位に向けて照明光を出射する照明部と、が設けられている。
【先行技術文献】
【特許文献】
【0005】
国際公開第2020/179909号
【発明の概要】
【発明が解決しようとする課題】
【0006】
ところで、一般的に内視鏡には、被検者の負担軽減の観点から、細径化が望まれている。しかしながら、コンベックス型の超音波内視鏡は、撮像部と、超音波トランスデューサと接続される超音波ケーブルと、起立台を含む起立台ユニットとが、先端部に配置されているので、先端部を細径化しようとすると撮像部と起立台ユニットとが干渉してしまう。また、干渉を回避する位置に撮像部と起立台ユニットとを配置しようとすると、撮像された内視鏡画像内に超音波トランスデューサと起立台が映り込み難くなり、先端部の視認性を確保できない場合がある。
【0007】
本発明はこのような事情に鑑みてなされたもので、先端部の視認性を確保しつつ、内視鏡の細径化を図ることが可能な超音波内視鏡を提供することを目的とする。
【課題を解決するための手段】
【0008】
第1態様の超音波内視鏡は、長手軸方向に沿って延びる挿入部の先端側に配置された先端部と、先端部に設けられ、長手軸方向に直交する第1方向の一方側に向かって超音波を出射する超音波トランスデューサと、超音波トランスデューサの外表面に設けられた音響レンズと、音響レンズよりも長手軸方向の基端側に配置された撮像部と、を備え、第1方向から見た場合に、長手軸方向及び第1方向に直交する第2方向における音響レンズの中心部を通過して長手軸方向に延びる直線を基準線とした場合、第1方向から見た場合に、撮像部は、基準線から第2方向の一方側にオフセットされた位置に配置され、且つ、撮像部の光軸と基準線とが交差する。
【0009】
第2態様の超音波内視鏡は、第1態様において、光軸と基準線との交点が、音響レンズよりも長手軸方向の先端側に位置する。
【0010】
第3態様の超音波内視鏡は、第1態様又は第2態様において、撮像部により取得される画像において画像の中心を基準として水平方向と鉛直方向とで区分される4つの象限のうち、音響レンズの中心部が第4象限に位置する。
(【0011】以降は省略されています)
この特許をJ-PlatPat(特許庁公式サイト)で参照する
関連特許
富士フイルム株式会社
超音波内視鏡
1日前
富士フイルム株式会社
超音波内視鏡
1日前
富士フイルム株式会社
超音波内視鏡
1日前
富士フイルム株式会社
超音波内視鏡
1日前
富士フイルム株式会社
内視鏡システム
2日前
富士フイルム株式会社
プロセッサ装置
1日前
富士フイルム株式会社
X線透視撮影装置
9日前
富士フイルム株式会社
内視鏡用色調整治具
9日前
富士フイルム株式会社
結像光学系、投写型表示装置、及び撮像装置
14日前
富士フイルム株式会社
結像光学系、投写型表示装置、および撮像装置
14日前
富士フイルム株式会社
結像光学系、投写型表示装置、および撮像装置
14日前
富士フイルム株式会社
受信コイルユニット及び磁気共鳴イメージング装置
7日前
富士フイルム株式会社
磁気テープ、磁気テープカートリッジおよび磁気テープ装置
1日前
富士フイルム株式会社
推定装置、方法およびプログラム
1日前
富士フイルム株式会社
ヒト脳性ナトリウム利尿ペプチド前駆体N端フラグメントの測定方法および測定キット
1日前
富士フイルム株式会社
文書作成支援装置、文書作成支援方法、及び文書作成支援プログラム
1日前
富士フイルム株式会社
二次電池用バインダー組成物、電極用組成物、電極シート及び二次電池、並びに、これら電極シート及び二次電池の製造方法
9日前
富士フイルム株式会社
医用画像処理方法、医用画像処理プログラム、記録媒体、医用画像処理装置、及び学習方法
7日前
富士フイルム株式会社
生体信号処理システムを備えた医用画像撮像装置、医用撮像システム、及び生体信号処理方法
14日前
個人
貼付剤
25日前
個人
簡易担架
7日前
個人
短下肢装具
4か月前
個人
腋臭防止剤
7日前
個人
足踏み器具
14日前
個人
前腕誘導装置
4か月前
個人
排尿補助器具
1か月前
個人
嚥下鍛錬装置
4か月前
個人
腰ベルト
28日前
個人
汚れ防止シート
1か月前
個人
矯正椅子
5か月前
個人
胸骨圧迫補助具
2か月前
個人
ウォート指圧法
1か月前
個人
アイマスク装置
2か月前
個人
歯の修復用材料
5か月前
個人
バッグ式オムツ
5か月前
個人
ホバーアイロン
7か月前
続きを見る
他の特許を見る