TOP
|
特許
|
意匠
|
商標
特許ウォッチ
Twitter
他の特許を見る
10個以上の画像は省略されています。
公開番号
2025170894
公報種別
公開特許公報(A)
公開日
2025-11-20
出願番号
2024075730
出願日
2024-05-08
発明の名称
プロセッサ装置
出願人
富士フイルム株式会社
代理人
弁理士法人小林国際特許事務所
主分類
A61B
1/045 20060101AFI20251113BHJP(医学または獣医学;衛生学)
要約
【課題】内視鏡で撮影した画像に基づいて当該内視鏡の斜視角を判定するプロセッサ装置を提供する。
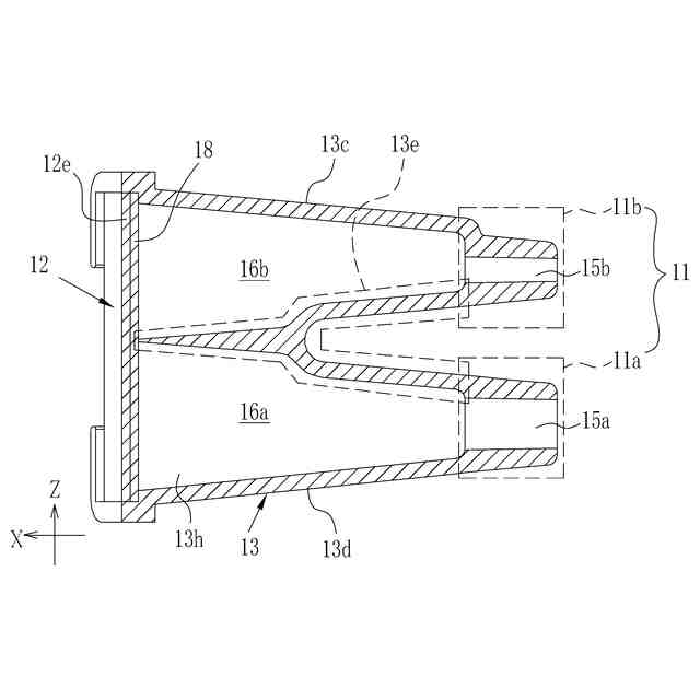
【解決手段】内視鏡14の先端部14aを挿入する挿入孔15を少なくとも1つ備える挿入部11と、先端部14aの挿入方向において、挿入部15と対向して配置される蓋部12と、挿入部11及び蓋部12と接することにより、これらと内部空間16を形成する外周部13とを備え、蓋部12は、内部空間16に面する内面において、マーク17を有するチャート18を備えている内視鏡用色調整治具10を用いて、プロセッサによって、内視鏡の種類判定方法を行うプロセッサ装置であって、プロセッサは、挿入部11から挿入された内視鏡14で撮影したマーク17の形状を基に内視鏡14の斜視角αを判定する構成である。
【選択図】図12
特許請求の範囲
【請求項1】
内視鏡用色調整治具内に備えられたマークを有するチャートの撮影を行って内視鏡の斜視角の判定を行うプロセッサ装置であって、
前記プロセッサ装置は、
前記内視鏡用色調整治具内に挿入された前記内視鏡で撮影した前記マークの形状を基に当該内視鏡の斜視角を判定するプロセッサ装置。
続きを表示(約 1,000 文字)
【請求項2】
前記内視鏡用色調整治具は、前記内視鏡の先端部を挿入する挿入孔を少なくとも1つ備える挿入部と、前記先端部の挿入方向において、前記挿入部と対向して配置される蓋部と、前記挿入部及び前記蓋部と接することにより、これらと内部空間を形成する外周部とを備え、
前記蓋部は、前記内部空間に面する内面において、前記チャートを備えており、
前記プロセッサは、前記内視鏡で撮影した前記外周部の内側面の形状を基に当該内視鏡の斜視角を判定する請求項1に記載のプロセッサ装置。
【請求項3】
前記プロセッサは、前記挿入部から挿入された前記内視鏡で前記マークを撮影する場合に、前記内視鏡と前記マークとの距離を調整するための撮影ガイドをディスプレイに表示する請求項2に記載のプロセッサ装置。
【請求項4】
前記プロセッサは、前記内視鏡が撮影した前記マークの形状と前記撮影ガイドとの比較結果を基に撮影状態を報知する請求項3に記載のプロセッサ装置。
【請求項5】
前記プロセッサは、前記内視鏡が前記マークを動画撮影した動画の少なくとも1つのフレームの前記マークの形状を基に当該内視鏡の斜視角を判定する請求項1に記載のプロセッサ装置。
【請求項6】
前記プロセッサは、静止画取得指示により、前記内視鏡が前記マークを撮影した静止画像を基に当該内視鏡の斜視角を判定する請求項1に記載のプロセッサ装置。
【請求項7】
前記プロセッサは、前記内視鏡が撮影した前記マークの形状の特徴量と比較用の特徴量との比較結果を基に当該内視鏡の斜視角を判定する請求項1に記載のプロセッサ装置。
【請求項8】
前記プロセッサは、前記マークの形状を機械学習した学習モデルを使用して前記内視鏡が撮影した前記マークの形状を基に当該内視鏡の斜視角を判定する請求項1に記載のプロセッサ装置。
【請求項9】
前記プロセッサは、前記内視鏡の斜視角を判定した結果を外部出力する請求項1に記載のプロセッサ装置。
【請求項10】
前記プロセッサは、前記内視鏡の斜視角を判定した結果を基に、前記内視鏡で前記マークを撮影して得られる撮影画像信号を補正するための補正パラメータを決定する請求項1に記載のプロセッサ装置。
(【請求項11】以降は省略されています)
発明の詳細な説明
【技術分野】
【0001】
本発明は、プロセッサ装置に関する。
続きを表示(約 1,500 文字)
【背景技術】
【0002】
医療分野においては、内視鏡を用いて、体内の観察、内視鏡下外科手術等が行われている。内視鏡には、観察対象を撮影するための撮像素子をはじめ、撮影により画像を生成するための各種の電子部品等が用いられる。これらの部品等については、個体差、経年劣化等を有するものがあり、そのままでは適切な画像が得られない場合がある。また、観察対象を撮影するために用いられる光源にも、個体差、経年劣化等が生じる場合がある。これらを解消して適切な画像を得るために、内視鏡に対してホワイトバランスなどのキャリブレーションが行われる。
【0003】
ホワイトバランスの調整に際しては、例えば、内視鏡下外科手術に用いられる硬性鏡等では、白色の滅菌ガーゼを撮影することにより行われる場合がある。また、内視鏡の先端部に白色のキャップを備えることにより行われる方法が知られている(特許文献1及び特許文献2)。また、キャップ状のホワイトバランス調整具を用いて行われることが知られている(特許文献3)。
【先行技術文献】
【特許文献】
【0004】
特開2020-032201号公報
特開2010-200880号公報
特開平05-076483号公報
【発明の概要】
【発明が解決しようとする課題】
【0005】
医療分野に用いられる内視鏡には、用途、目的等により様々な斜視角、外径のものがある。したがって、内視鏡により撮影された画像(以下、内視鏡画像という)を用いてホワイトバランス調整や機差補正等の画像信号(画像の色)の補正(以下、画像信号補正という)をする場合、そのような様々な斜視角、外径の内視鏡に応じて画像信号補正をすることが求められる。言い換えれば、内視鏡の種類をより適切に判定することで、画像信号補正をより精度高く行うことができる。
【0006】
本発明は、内視鏡の種類をより適切に判定するプロセッサ装置を提供することを目的とする。
【課題を解決するための手段】
【0007】
本発明のプロセッサ装置は、内視鏡用色調整治具内に備えられたマークを有するチャートの撮影を行って内視鏡の斜視角の判定を行うプロセッサ装置であって、プロセッサ装置は、内視鏡用色調整治具内に挿入された内視鏡で撮影したマークの形状を基に当該内視鏡の斜視角を判定するものである。
【0008】
内視鏡用色調整治具は、内視鏡の先端部を挿入する挿入孔を少なくとも1つ備える挿入部と、先端部の挿入方向において、挿入部と対向して配置される蓋部と、挿入部及び蓋部と接することにより、これらと内部空間を形成する外周部とを備え、蓋部は、内部空間に面する内面において、チャートを備えており、プロセッサは、内視鏡で撮影した外周部の内側面の形状を基に当該内視鏡の斜視角を判定することが好ましい。
【0009】
プロセッサは、挿入部から挿入された内視鏡でマークを撮影する場合に、内視鏡とマークとの距離を調整するための撮影ガイドをディスプレイに表示することが好ましい。ここで、プロセッサは、内視鏡が撮影したマークの形状と撮影ガイドとの比較結果を基に撮影状態を報知することが更に好ましい。
【0010】
プロセッサは、内視鏡がマークを動画撮影した動画の少なくとも1つのフレームのマークの形状を基に当該内視鏡の斜視角を判定することが好ましい。
(【0011】以降は省略されています)
この特許をJ-PlatPat(特許庁公式サイト)で参照する
関連特許
富士フイルム株式会社
超音波内視鏡
1日前
富士フイルム株式会社
超音波内視鏡
1日前
富士フイルム株式会社
超音波内視鏡
1日前
富士フイルム株式会社
超音波内視鏡
1日前
富士フイルム株式会社
内視鏡システム
2日前
富士フイルム株式会社
プロセッサ装置
1日前
富士フイルム株式会社
X線透視撮影装置
9日前
富士フイルム株式会社
内視鏡用色調整治具
9日前
富士フイルム株式会社
医療画像処理装置及びその作動方法
22日前
富士フイルム株式会社
X線透視撮像装置、および、画像処理方法
28日前
富士フイルム株式会社
結像光学系、投写型表示装置、及び撮像装置
14日前
富士フイルム株式会社
結像光学系、投写型表示装置、および撮像装置
14日前
富士フイルム株式会社
結像光学系、投写型表示装置、および撮像装置
14日前
富士フイルム株式会社
受信コイルユニット及び磁気共鳴イメージング装置
7日前
富士フイルム株式会社
転写フィルム、導体パターンを有する積層体の製造方法
14日前
富士フイルム株式会社
振動素子の検査結果表示装置及び検査結果表示プログラム
17日前
富士フイルム株式会社
磁気テープ、磁気テープカートリッジおよび磁気テープ装置
1日前
富士フイルム株式会社
情報処理装置、情報処理装置の作動方法、および情報処理装置の作動プログラム
24日前
富士フイルム株式会社
推定装置、方法およびプログラム
1日前
富士フイルム株式会社
ヒト脳性ナトリウム利尿ペプチド前駆体N端フラグメントの測定方法および測定キット
1日前
富士フイルム株式会社
処理装置、処理方法、及び処理プログラム
16日前
富士フイルム株式会社
放射線画像処理装置、方法およびプログラム
22日前
富士フイルム株式会社
画像処理装置、画像処理方法、及びプログラム
28日前
富士フイルム株式会社
二次電池用バインダー組成物、電極シート及び二次電池、並びに、これら電極シート及び二次電池の製造方法
15日前
富士フイルム株式会社
文書作成支援装置、文書作成支援方法、及び文書作成支援プログラム
1日前
富士フイルム株式会社
非アルコール性脂肪性肝炎の判定を補助する方法および非アルコール性脂肪性肝炎の判定を補助するためのデータを得る方法
22日前
富士フイルム株式会社
二次電池用バインダー組成物、電極用組成物、電極シート及び二次電池、並びに、これら電極シート及び二次電池の製造方法
15日前
富士フイルム株式会社
二次電池用バインダー組成物、電極用組成物、電極シート及び二次電池、並びに、これら電極シート及び二次電池の製造方法
9日前
富士フイルム株式会社
果菜植物の栽培方法、トマト、果菜植物水耕栽培用培養液及び果菜植物水耕栽培装置
16日前
富士フイルム株式会社
医用画像処理方法、医用画像処理プログラム、記録媒体、医用画像処理装置、及び学習方法
7日前
富士フイルム株式会社
生体信号処理システムを備えた医用画像撮像装置、医用撮像システム、及び生体信号処理方法
14日前
個人
貼付剤
25日前
個人
簡易担架
7日前
個人
短下肢装具
4か月前
個人
足踏み器具
14日前
個人
腋臭防止剤
7日前
続きを見る
他の特許を見る