TOP
|
特許
|
意匠
|
商標
特許ウォッチ
Twitter
他の特許を見る
公開番号
2025168756
公報種別
公開特許公報(A)
公開日
2025-11-12
出願番号
2024073481
出願日
2024-04-30
発明の名称
X線透視撮影装置
出願人
富士フイルム株式会社
代理人
弁理士法人山王坂特許事務所
主分類
A61B
6/46 20240101AFI20251105BHJP(医学または獣医学;衛生学)
要約
【課題】モニタをX線発生器を挟んでスタンドとは反対側に配置することができ、軽量で、スタンドの内部構造に影響を与えないアーム構造を提供する。
【解決手段】スタンドの上面に上面レールが固定され、スタンドの背面の上部に背面レールが固定されている。スライドレールには、アームベース部が係合し、アームベース部上に、アーム支柱部が搭載されている。アーム部は、水平バーに垂直バー固定した構造である。水平バーの端部は、アーム支柱部に接続されている。水平バーは、アーム支柱部の中心軸に対して回転可能である。垂直バーの下端には、モニタを保持するモニタホルダが取り付けられている。
【選択図】図1
特許請求の範囲
【請求項1】
スタンドと、被検体を搭載する天板と、X線発生器と、前記X線発生器を天板と対向する位置に配置する支柱部と、前記天板および前記支柱部を前記スタンドに対して支持する支持枠と、モニタを前記スタンドに対して支持するモニタアームとを有し、
前記モニタアームは、アーム部と、前記アーム部を支持するアーム支柱部と、前記アーム支柱部の下端を支持するアームベース部と、前記アームベース部を前記スタンドに対してスライド可能に支持するスライドレール部とを備え、
前記スライドレール部は、前記スタンドの上面に固定された上面レールと、前記スタンドの背面の上部に固定された背面レールとを含み、前記上面レールと前記背面レールはいずれも、主平面が水平に配置された状態の前記天板の長手方向に平行であり、
前記アームベース部は、連結された上面ベースと背面ベースとを含み、前記上面ベースは前記上面レールにスライド可能に係合し、前記背面ベースは前記背面レールにスライド可能に係合し、前記上面ベースには、前記アーム支柱部の下端が搭載され、
前記アーム部は、長手方向が水平方向に平行に配置された水平バーと、長手方向が垂直方向に平行に配置された垂直バーとを含み、
前記垂直バーの上端は、前記水平バーの一端に固定され、前記水平バーの他端は、前記アーム支柱部に接続され、前記水平バーは、前記アーム支柱部の中心軸に対して回転可能であり、
前記垂直バーの下端には、前記モニタを保持するモニタホルダが取り付けられていることを特徴とするX線透視撮影装置。
続きを表示(約 1,100 文字)
【請求項2】
請求項1に記載のX線透視撮影装置であって、
前記水平バーは、前記X線発生器よりも高い位置に前記アーム支柱によって支持され、
前記水平バーの長さは、前記垂直バーを、前記X線発生器を挟んで前記スタンドと対向する位置に配置可能な長さであることを特徴とするX線透視撮影装置。
【請求項3】
請求項1に記載のX線透視撮影装置であって、
前記垂直バーは、前記天板よりも高い位置であって、かつ、前記X線発生器よりも低い位置に前記モニタを支持する長さに設計されていることを特徴とするX線透視撮影装置。
【請求項4】
請求項1に記載のX線透視撮影装置であって、
前記アーム支柱部は、前記アームベース部に固定され、
前記水平バーの他端は、前記アーム支柱部に回転可能に接続されていることを特徴とするX線透視撮影装置。
【請求項5】
請求項1に記載のX線透視撮影装置であって、
前記モニタホルダは、前記垂直バーの下端に回転可能に取り付けられていることを特徴とするX線透視撮影装置。
【請求項6】
請求項1に記載のX線透視撮影装置であって、
前記アームベース部には、前記スライドレール部に対するスライドを停止させるレールブレーキが備えられ、
前記アーム支柱部には、前記アーム支柱部の中心軸に対する前記水平バーの回転を停止させるアームブレーキが備えられていることを特徴とするX線透視撮影装置。
【請求項7】
請求項6に記載のX線透視撮影装置であって、ブレーキ操作部をさらに備え、
前記ブレーキ操作部は、前記レールブレーキと前記アームブレーキとを排他的に動作させることを特徴とするX線透視撮影装置。
【請求項8】
請求項7に記載のX線透視撮影装置であって、前記垂直バーには、前記モニタホルダの回転を停止させるモニタブレーキが備えられ、
前記ブレーキ操作部は、前記モニタブレーキを前記アームブレーキと連動させる
ことを特徴とするX線透視撮影装置。
【請求項9】
請求項7に記載のX線透視撮影装置であって、前記モニタホルダには、前記モニタの下部に位置するようにハンドルが設けられ、
前記ブレーキ操作部は、前記ハンドルに備えられたスイッチである
ことを特徴とするX線透視撮影装置。
【請求項10】
請求項1に記載のX線透視撮影装置であって、前記アームベース部の前記上面ベースと背面ベースは、主平面が直交するように連結され、前記アームベース部の側面形状は、L字型であることを特徴とするX線透視撮影装置。
発明の詳細な説明
【技術分野】
【0001】
本発明は、透視と撮影が可能なX線透視撮影装置に関する。
続きを表示(約 2,100 文字)
【背景技術】
【0002】
近年、X線透視撮影装置を用いて、X線透視を行いながら内視鏡やカテーテルを被検体に挿入する等の手技を行うインターベンショナルラジオロジー(Inter-Ventional Radiology:IVR)が広く行われている。IVRでは、透視画像や内視鏡の画像を、モニタ(表示装置)に表示させ、医師は表示装置の画像を見ながら手技を行う。そのため、モニタを医師の見やすい場所に配置することが望ましい。
【0003】
特許文献1には、X線透視撮影装置のスタンドの上面に、一端が回転可能に軸支された多関節アームが開示されている。多関節アームの他端には、表示装置が取り付けられている。この構造では、多関節のアームにより、表示装置をスタンドの上面に支持させることで、表示装置を支持する。
【先行技術文献】
【特許文献】
【0004】
特開2008-259884号公報
【発明の概要】
【発明が解決しようとする課題】
【0005】
特許文献1のアームは、X線源とスタンドとの間にモニタを配置することができる長さである。よって、特許文献1のアームは、X線源よりも医師に近い側(X線源を挟んでスタンドとは反対側)にモニタを配置できるほど長くない。X線源よりも医師に近い側にモニタを配置できるように、アームを長くすると、アームの重量が大きくなる。そのため、アーム自体の剛性を高め、さらにアームを片持ち支持する関節部やスタンドの上面板の剛性も高める必要がある。また、アームやアームの関節部自体も、より太く、より頑健な構造にする必要がある。このため、コンパクトで、小さな力で動かすことのできるアームにすることは難しい。また、アームが軸支されたスタンドの筐体の上面板の剛性を大きくするために、スタンドの筐体に内側から補強部材を配置する必要が生じ、スタンドの内部空間にも影響がおよぶ。
【0006】
本発明は、モニタをX線発生器を挟んでスタンドとは反対側に配置することができ、軽量で、スタンドの内部構造に影響を与えないアーム構造を提供することを目的とする。
【課題を解決するための手段】
【0007】
上記目的を達成するために、本発明によれば、スタンドと、被検体を搭載する天板と、X線発生器と、X線発生器を天板と対向する位置に配置する支柱部と、天板および支柱部をスタンドに対して支持する支持枠と、モニタをスタンドに対して支持するモニタアームとを有する。モニタアームは、アーム部と、アーム部を支持するアーム支柱部と、アーム支柱部の下端を支持するアームベース部と、アームベース部をスタンドに対してスライド可能に支持するスライドレール部とを備える。スライドレール部は、スタンドの上面に固定された上面レールと、スタンドの背面の上部に固定された背面レールとを含み、上面レールと背面レールはいずれも、主平面が水平に配置された状態の天板の長手方向に平行である。アームベース部は、連結された上面ベースと背面ベースとを含む。上面ベースは上面レールにスライド可能に係合し、背面ベースは背面レールにスライド可能に係合している。上面ベースには、アーム支柱部の下端が搭載されている。アーム部は、長手方向が水平方向に平行に配置された水平バーと、長手方向が垂直方向に平行に配置された垂直バーとを含む。垂直バーの上端は、水平バーの一端に固定され、水平バーの他端は、アーム支柱部に接続され、水平バーは、アーム支柱部の中心軸に対して回転可能である。垂直バーの下端には、モニタを保持するモニタホルダが取り付けられている。
【発明の効果】
【0008】
本発明によれば、モニタをX線発生器を挟んでスタンドとは反対側に配置することができ、しかも、軽量で、スタンドの内部構造に影響を与えないモニタアームを備えたX線透視撮影装置を提供することができる。
【図面の簡単な説明】
【0009】
本発明の実施形態1のX線透視撮影装置の斜視図。
実施形態1のX線透視撮影装置の斜視図。
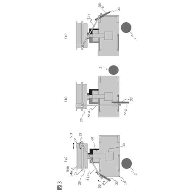
(a)~(c)実施形態1のX線透視撮影装置の上面図。
実施形態1のX線透視撮影装置のアーム支柱部52とアームベース部53の断面図。
(a)実施形態1のX線透視撮影装置のモニタ33の背面図、(b)モニタ33の正面図。
(a-1)および(b-1)実施形態1のモニタアームをスタンドの外側に延ばして収容した状態のX線透視撮影装置の上面図および正面図、(a-2)および(b-2)実施形態1のモニタアームをスタンドの上部に収容した状態のX線透視撮影装置の上面図および正面図。
本発明の実施形態2のX線透視撮影装置の斜視図。
実施形態2のX線透視撮影装置のモニタ33の正面図。
【発明を実施するための形態】
【0010】
以下、本発明の実施形態のX線透視撮影装置について図面を用いて説明する。
(【0011】以降は省略されています)
この特許をJ-PlatPat(特許庁公式サイト)で参照する
関連特許
富士フイルム株式会社
X線透視撮影装置
5日前
富士フイルム株式会社
内視鏡用色調整治具
5日前
富士フイルム株式会社
医療画像処理装置及びその作動方法
18日前
富士フイルム株式会社
医療業務支援装置、方法およびプログラム
24日前
富士フイルム株式会社
X線透視撮像装置、および、画像処理方法
24日前
富士フイルム株式会社
結像光学系、投写型表示装置、及び撮像装置
10日前
富士フイルム株式会社
結像光学系、投写型表示装置、および撮像装置
10日前
富士フイルム株式会社
結像光学系、投写型表示装置、および撮像装置
10日前
富士フイルム株式会社
受信コイルユニット及び磁気共鳴イメージング装置
3日前
富士フイルム株式会社
転写フィルム、導体パターンを有する積層体の製造方法
10日前
富士フイルム株式会社
振動素子の検査結果表示装置及び検査結果表示プログラム
13日前
富士フイルム株式会社
情報処理装置、情報処理装置の作動方法、および情報処理装置の作動プログラム
20日前
富士フイルム株式会社
処理装置、処理方法、及び処理プログラム
12日前
富士フイルム株式会社
放射線画像処理装置、方法およびプログラム
18日前
富士フイルム株式会社
画像処理装置、画像処理方法、及びプログラム
24日前
富士フイルム株式会社
二次電池用バインダー組成物、電極シート及び二次電池、並びに、これら電極シート及び二次電池の製造方法
11日前
富士フイルム株式会社
二次電池用バインダー組成物、電極用組成物、電極シート及び二次電池、並びに、これら電極シート及び二次電池の製造方法
11日前
富士フイルム株式会社
非アルコール性脂肪性肝炎の判定を補助する方法および非アルコール性脂肪性肝炎の判定を補助するためのデータを得る方法
18日前
富士フイルム株式会社
二次電池用バインダー組成物、電極用組成物、電極シート及び二次電池、並びに、これら電極シート及び二次電池の製造方法
5日前
富士フイルム株式会社
果菜植物の栽培方法、トマト、果菜植物水耕栽培用培養液及び果菜植物水耕栽培装置
12日前
富士フイルム株式会社
医用画像処理方法、医用画像処理プログラム、記録媒体、医用画像処理装置、及び学習方法
3日前
富士フイルム株式会社
生体信号処理システムを備えた医用画像撮像装置、医用撮像システム、及び生体信号処理方法
10日前
個人
貼付剤
21日前
個人
簡易担架
3日前
個人
短下肢装具
3か月前
個人
腋臭防止剤
3日前
個人
足踏み器具
10日前
個人
排尿補助器具
1か月前
個人
嚥下鍛錬装置
4か月前
個人
前腕誘導装置
4か月前
個人
腰ベルト
24日前
個人
歯の修復用材料
4か月前
個人
汚れ防止シート
1か月前
個人
胸骨圧迫補助具
2か月前
個人
矯正椅子
5か月前
個人
バッグ式オムツ
5か月前
続きを見る
他の特許を見る