TOP
|
特許
|
意匠
|
商標
特許ウォッチ
Twitter
他の特許を見る
公開番号
2025176688
公報種別
公開特許公報(A)
公開日
2025-12-04
出願番号
2025077371
出願日
2025-05-07
発明の名称
医療器具、医療支援装置、及び医療支援プログラム
出願人
富士フイルム株式会社
代理人
弁理士法人太陽国際特許事務所
主分類
A61B
8/12 20060101AFI20251127BHJP(医学または獣医学;衛生学)
要約
【課題】医療器具の位置及び姿勢を良好な精度で特定できる医療器具、医療支援装置、及び医療支援プログラムを得る。
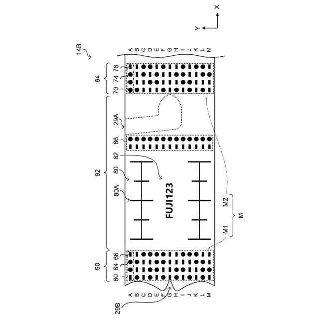
【解決手段】医療器具は、長手方向に沿って、第1マーカM1が付された第1領域90と、マーカが付されていない中間領域92と、第2マーカM2が付された第2領域94と、を含み、第1マーカM1は、長手方向に交差する方向に沿って配置された複数の第1パターン列60を含み、それぞれの第1パターン列60は、長手方向に沿って配列された複数の符号64、66で構成され、かつ符号64、66の配列が少なくとも隣接する他の第1パターン列60とは異なり、第2マーカM2は、長手方向に交差する方向に沿って配置された複数の第2パターン列70を含み、それぞれの第2パターン列70は、長手方向に沿って配列された複数の符号74、76で構成され、かつ符号74、76の配列が少なくとも隣接する他の第2パターン列70とは異なる。
【選択図】図7
特許請求の範囲
【請求項1】
長手方向に沿って、第1マーカが付された第1領域と、マーカが付されていない中間領域と、第2マーカが付された第2領域と、を含み、
前記第1マーカは、前記長手方向に交差する方向に沿って配置された複数の第1パターン列を含み、それぞれの前記第1パターン列は、前記長手方向に沿って配列された複数の符号で構成され、かつ前記符号の配列が少なくとも隣接する他の前記第1パターン列とは異なり、
前記第2マーカは、前記長手方向に交差する方向に沿って配置された複数の第2パターン列を含み、それぞれの前記第2パターン列は、前記長手方向に沿って配列された複数の符号で構成され、かつ前記符号の配列が少なくとも隣接する他の前記第2パターン列とは異なる
医療器具。
続きを表示(約 1,100 文字)
【請求項2】
前記第1領域の表面は、少なくとも一部が曲面で形成され、
前記第2領域の表面は、少なくとも一部が曲面で形成されている
請求項1に記載の医療器具。
【請求項3】
前記第1マーカ及び前記第2マーカの少なくとも一方は、他方には含まれない前記符号の配列で構成されたパターン列を含む
請求項1に記載の医療器具。
【請求項4】
前記複数の第1パターン列及び前記複数の第2パターン列は、全て、互いに前記符号の配列が異なる
請求項3に記載の医療器具。
【請求項5】
前記第1マーカ及び前記第2マーカの少なくとも一方は、他方には含まれない種類の前記符号を含んで構成されたパターン列を少なくとも1つ含む
請求項3に記載の医療器具。
【請求項6】
前記第1マーカから前記第2マーカへ向かう方向を順方向とし、前記第2マーカから前記第1マーカへ向かう方向を逆方向とした場合、
少なくとも1つの前記第1パターン列における前記順方向に沿った前記符号の配列は、他の何れか1つの前記第1パターン列における前記逆方向に沿った前記符号の配列と同一であり、
少なくとも1つの前記第2パターン列における前記順方向に沿った前記符号の配列は、他の何れか1つの前記第2パターン列における前記逆方向に沿った前記符号の配列と同一である
請求項1に記載の医療器具。
【請求項7】
前記第1マーカは、前記長手方向に交差する方向における予め定められた範囲に、ハミング距離が2以上の前記第1パターン列の組合せのみが含まれるように、前記複数の第1パターン列が配置されたものであり、
前記第2マーカは、前記長手方向に交差する方向における予め定められた範囲に、ハミング距離が2以上の前記第2パターン列の組合せのみが含まれるように、前記複数の第2パターン列が配置されたものである
請求項1に記載の医療器具。
【請求項8】
前記第1パターン列を構成する前記符号の種類と、前記第2パターン列を構成する前記符号の種類は、同一である
請求項1に記載の医療器具。
【請求項9】
前記第1パターン列を構成する前記符号の色と、前記第2パターン列を構成する前記符号の色は、全て、同一である
請求項1に記載の医療器具。
【請求項10】
前記第1パターン列を構成する前記符号の数と、前記第2パターン列を構成する前記符号の数は、同一である
請求項1に記載の医療器具。
(【請求項11】以降は省略されています)
発明の詳細な説明
【技術分野】
【0001】
本開示は、医療器具、医療支援装置、及び医療支援プログラムに関する。
続きを表示(約 1,500 文字)
【背景技術】
【0002】
従来、体内に挿入された医療器具の位置及び姿勢を特定するための技術が知られている。例えば、特許文献1には、超音波プローブの術野内の位置を磁気センサで取得することが開示されている。ただし、このような磁気センサを用いた手法は、超音波プローブ以外の金属性の医療器具等に影響を受ける又は与える可能性があることから、使用が適さない場面もある。
【0003】
そこで、磁気センサを用いない手法も提案されている。例えば、特許文献2には、マーカが設けられた超音波プローブを内視鏡によって光学的に撮影した術野画像を取得し、術野画像からマーカを検出することにより、超音波プローブの位置及び姿勢を推定することが開示されている。また例えば、特許文献3には、眼球内に挿入される眼科手術器具にマーカを設け、眼底画像からマーカを検出することにより、眼科手術器具の位置及び配向を判定することが開示されている。
【先行技術文献】
【特許文献】
【0004】
特開2018-94020号公報
国際公開第2023/162657号
特表2017-501802号公報
【発明の概要】
【発明が解決しようとする課題】
【0005】
体内に挿入される医療器具という特性上、医療器具の位置及び姿勢を特定するためのマーカを光学的に検出しづらい状況を避けられない場合がある。例えば、臓器等によってマーカが遮蔽される場合がある。また例えば、体内で光学画像を撮影するための照明光がマーカ(医療器具)の表面で反射することによって、光学画像においてマーカ部分が白飛びしてしまう場合がある。また例えば、マーカとカメラの位置関係によっては、光学画像の画角にマーカを収められない場合がある。
【0006】
このような状況に陥るたびに、マーカを検出できるような位置及び姿勢に医療器具を動かすことは、効率性及び低侵襲性の観点から好ましくない。マーカを光学的に検出する従来の技術では、一部でもマーカを検出できなかった場合に、医療器具の位置及び姿勢の特定精度が低下する、又は特定不能になっており、実用性が不十分であった。
【0007】
本開示は、医療器具の位置及び姿勢を良好な精度で特定できる医療器具、医療支援装置、及び医療支援プログラムを提供する。
【課題を解決するための手段】
【0008】
本開示の第1態様は、医療器具であって、長手方向に沿って、第1マーカが付された第1領域と、マーカが付されていない中間領域と、第2マーカが付された第2領域と、を含み、第1マーカは、長手方向に交差する方向に沿って配置された複数の第1パターン列を含み、それぞれの第1パターン列は、長手方向に沿って配列された複数の符号で構成され、かつ符号の配列が少なくとも隣接する他の第1パターン列とは異なり、第2マーカは、長手方向に交差する方向に沿って配置された複数の第2パターン列を含み、それぞれの第2パターン列は、長手方向に沿って配列された複数の符号で構成され、かつ符号の配列が少なくとも隣接する他の第2パターン列とは異なる。
【0009】
上記態様において、第1領域の表面は、少なくとも一部が曲面で形成され、第2領域の表面は、少なくとも一部が曲面で形成されていてもよい。
【0010】
上記態様において、第1マーカ及び第2マーカの少なくとも一方は、他方には含まれない符号の配列で構成されたパターン列を含んでいてもよい。
(【0011】以降は省略されています)
この特許をJ-PlatPat(特許庁公式サイト)で参照する
関連特許
富士フイルム株式会社
内視鏡
1日前
富士フイルム株式会社
内視鏡
1日前
富士フイルム株式会社
超音波内視鏡
16日前
富士フイルム株式会社
超音波内視鏡
16日前
富士フイルム株式会社
超音波内視鏡
16日前
富士フイルム株式会社
超音波内視鏡
16日前
富士フイルム株式会社
プロセッサ装置
16日前
富士フイルム株式会社
内視鏡システム
17日前
富士フイルム株式会社
磁気共鳴撮像装置
8日前
富士フイルム株式会社
X線透視撮影装置
24日前
富士フイルム株式会社
内視鏡用色調整治具
24日前
富士フイルム株式会社
パネル回路及び細胞処理装置
1日前
富士フイルム株式会社
内視鏡システム及びその作動方法
8日前
富士フイルム株式会社
CT装置、及びCT装置の制御方法
9日前
富士フイルム株式会社
アイトラッキングデバイスの小型化、薄型化
10日前
富士フイルム株式会社
結像光学系、投写型表示装置、及び撮像装置
29日前
富士フイルム株式会社
情報処理装置、情報処理方法及びプログラム
8日前
富士フイルム株式会社
結像光学系、投写型表示装置、および撮像装置
29日前
富士フイルム株式会社
結像光学系、投写型表示装置、および撮像装置
29日前
富士フイルム株式会社
送液補助装置、細胞処理装置及び送液補助方法
8日前
富士フイルム株式会社
送液補助装置、細胞処理装置及び送液補助方法
8日前
富士フイルム株式会社
受信コイルユニット及び磁気共鳴イメージング装置
22日前
富士フイルム株式会社
超音波診断支援装置及び超音波診断支援プログラム
8日前
富士フイルム株式会社
医療器具、医療支援装置、及び医療支援プログラム
2日前
富士フイルム株式会社
転写フィルム、導体パターンを有する積層体の製造方法
29日前
富士フイルム株式会社
磁気テープ、磁気テープカートリッジおよび磁気テープ装置
16日前
富士フイルム株式会社
コイルユニット、磁気共鳴イメージングシステム、及びその制御方法
8日前
富士フイルム株式会社
システム及び接続機器
1日前
富士フイルム株式会社
駆動装置及び撮像装置
3日前
富士フイルム株式会社
推定装置、方法およびプログラム
16日前
富士フイルム株式会社
画像処理装置、及び画像処理方法
8日前
富士フイルム株式会社
磁気共鳴撮像装置、及び、スキャン情報及び体動情報をユーザに提示する表示方法。
8日前
富士フイルム株式会社
ヒト脳性ナトリウム利尿ペプチド前駆体N端フラグメントの測定方法および測定キット
16日前
富士フイルム株式会社
医用画像表示装置、方法およびプログラム
1日前
富士フイルム株式会社
調査計画生成装置、調査計画生成方法及びプログラム
8日前
富士フイルム株式会社
情報処理装置、情報処理方法及び情報処理プログラム
1日前
続きを見る
他の特許を見る