TOP
|
特許
|
意匠
|
商標
特許ウォッチ
Twitter
他の特許を見る
10個以上の画像は省略されています。
公開番号
2025177909
公報種別
公開特許公報(A)
公開日
2025-12-05
出願番号
2024085063
出願日
2024-05-24
発明の名称
内視鏡
出願人
富士フイルム株式会社
代理人
弁理士法人航栄事務所
主分類
A61B
1/008 20060101AFI20251128BHJP(医学または獣医学;衛生学)
要約
【課題】気管支の奥まで容易に先端部を挿入することのできる内視鏡を提供する。
【解決手段】先端部と、上記先端部の基端側に設けられた湾曲部と、を含む挿入部と、上記湾曲部の湾曲操作が可能な湾曲操作部と、を備え、上記湾曲部は、第1領域と、上記第1領域と上記先端部の間の第2領域と、を含み、上記第1領域は、上記湾曲操作部の操作に応じて一方向へ第1曲率半径で湾曲し、上記第2領域は、上記湾曲操作部の操作に応じて上記一方向へ上記第1曲率半径より小さい第2曲率半径で湾曲し、上記挿入部の長手軸方向における上記第2領域の長さは、上記長手軸方向における上記第1領域の長さ以下である内視鏡。
【選択図】図4
特許請求の範囲
【請求項1】
先端部と、前記先端部の基端側に設けられた湾曲部と、を含む挿入部と、
前記湾曲部の湾曲操作が可能な湾曲操作部と、を備え、
前記湾曲部は、第1領域と、前記第1領域と前記先端部の間の第2領域と、を含み、
前記第1領域は、前記湾曲操作部の操作に応じて一方向へ第1曲率半径で湾曲し、
前記第2領域は、前記湾曲操作部の操作に応じて前記一方向へ前記第1曲率半径より小さい第2曲率半径で湾曲し、
前記挿入部の長手軸方向における前記第2領域の長さは、前記長手軸方向における前記第1領域の長さ以下である内視鏡。
続きを表示(約 960 文字)
【請求項2】
請求項1に記載の内視鏡であって、
前記挿入部の長手軸方向における前記第2領域の長さは、前記長手軸方向における前記第1領域の長さの0.5倍以上である内視鏡。
【請求項3】
請求項2に記載の内視鏡であって、
前記湾曲操作部の操作により前記一方向に湾曲する場合の前記第1領域の湾曲角度の第1上限値は、前記湾曲操作部の操作により前記一方向に湾曲する場合の前記第2領域の湾曲角度の第2上限値以上である内視鏡。
【請求項4】
請求項3に記載の内視鏡であって、
前記第1上限値は、85°以上95°以下である内視鏡。
【請求項5】
請求項4に記載の内視鏡であって、
前記第2上限値は、85°以上95°以下である内視鏡。
【請求項6】
請求項5に記載の内視鏡であって、
前記第2領域における前記先端部側の端部は、前記湾曲操作部による湾曲操作が不能に構成されている内視鏡。
【請求項7】
請求項6に記載の内視鏡であって、
前記第2領域における前記先端部側の前記端部は、外力により湾曲可能に構成されている内視鏡。
【請求項8】
請求項1から7のいずれか1項に記載の内視鏡であって、
前記湾曲部は、前記湾曲操作部の操作に応じて、前記一方向に、少なくとも180°の湾曲角度で湾曲可能であり、
前記湾曲部が前記一方向に180°湾曲された場合に、前記先端部の先端面は、前記第1領域の基端縁よりも先端側に位置する内視鏡。
【請求項9】
請求項8に記載の内視鏡であって、
前記湾曲部が前記一方向に180°湾曲された場合に、前記先端部の先端面は、前記第1領域の基端縁から前記第1領域の1/3以上1/4以下の範囲に位置する内視鏡。
【請求項10】
請求項9に記載の内視鏡であって、
前記第1領域は、前記湾曲操作部が第1範囲で操作されている場合に、前記一方向に湾曲し、
前記第2領域は、前記湾曲操作部が前記第1範囲で操作されている場合に前記先端部の軸線に沿って延びた状態に保持される内視鏡。
(【請求項11】以降は省略されています)
発明の詳細な説明
【技術分野】
【0001】
本発明は、内視鏡に関する。
続きを表示(約 1,600 文字)
【背景技術】
【0002】
特許文献1、3、5、6には、先端部分を基端部分よりも大きく湾曲させることのできる湾曲部を有する内視鏡が記載されている。
【0003】
特許文献2には、複数の曲率半径で湾曲可能な湾曲部を有する内視鏡が記載されている。
【0004】
特許文献4には、挿入部の軸線方向に沿って複数の節輪が連結されて構成される内視鏡の湾曲部構造において、複数の節輪は、隣接する節輪本体同士の間隔が湾曲部の基端部側よりも湾曲部の先端部側の方が徐々に大きくなるように連結されていることが記載されている。
【先行技術文献】
【特許文献】
【0005】
特開2005-334050号公報
特開2004-154545号公報
特開平02-271817号公報
特開2000-342517号公報
実開昭56-124401号公報
特開平11-155806号公報
【発明の概要】
【発明が解決しようとする課題】
【0006】
本開示の技術では、気管支の奥まで容易に先端部を挿入することのできる内視鏡を提供する。
【課題を解決するための手段】
【0007】
本開示の技術の一態様の内視鏡は、先端部と、上記先端部の基端側に設けられた湾曲部と、を含む挿入部と、上記湾曲部の湾曲操作が可能な湾曲操作部と、を備え、上記湾曲部は、第1領域と、上記第1領域と上記先端部の間の第2領域と、を含み、上記第1領域は、上記湾曲操作部の操作に応じて一方向へ第1曲率半径で湾曲し、上記第2領域は、上記湾曲操作部の操作に応じて上記一方向へ上記第1曲率半径より小さい第2曲率半径で湾曲し、上記挿入部の長手軸方向における上記第2領域の長さは、上記長手軸方向における上記第1領域の長さ以下であるものである。
【発明の効果】
【0008】
本開示の技術によれば、気管支の奥まで容易に先端部を挿入することのできる内視鏡を提供することができる。
【図面の簡単な説明】
【0009】
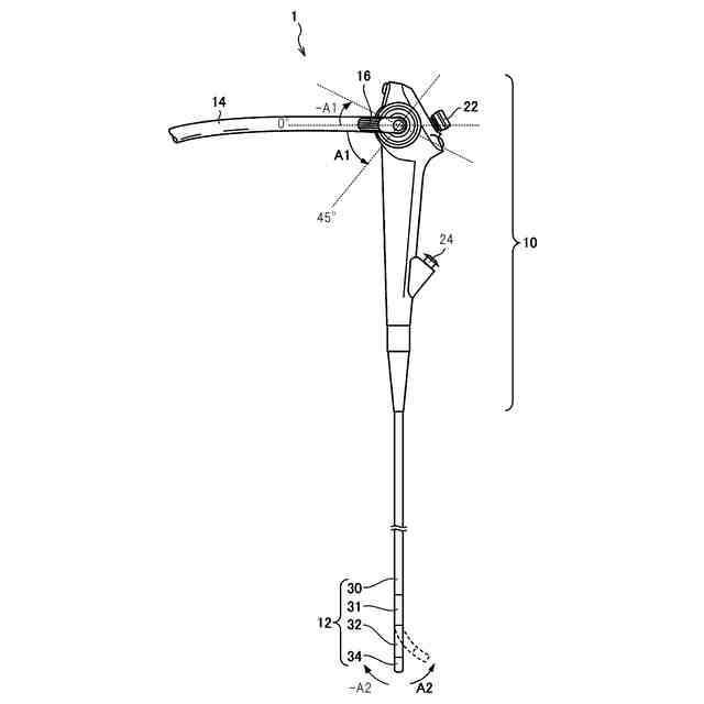
図1は、本開示の技術の一態様の内視鏡1の全体図である。
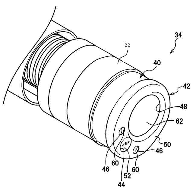
図2は、湾曲部32の一部を含む先端硬性部34の斜視図である。
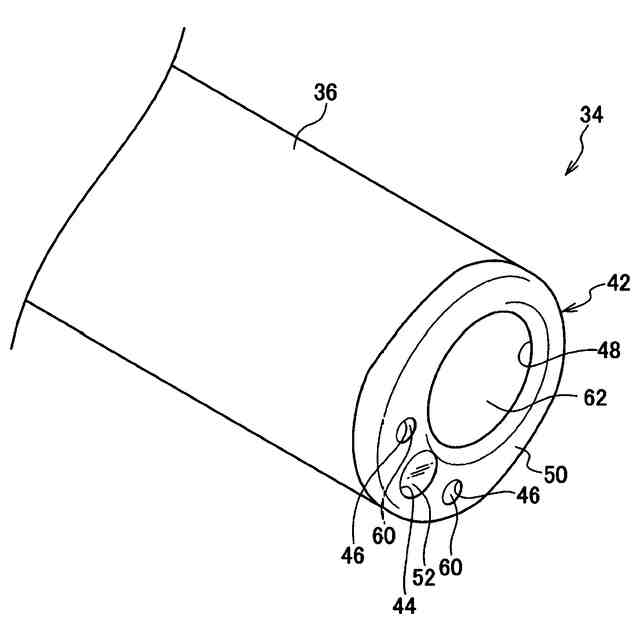
図3は、図2で図示されたアングルゴム36を取り外した状態の先端硬性部34の斜視図である。
図4は、図1に示す内視鏡1の湾曲部32の要部を模式的に示す斜視図である。
図5は、図4に示す第1可動部材32Aの拡大斜視図である。
図6は、図4に示す第2可動部材32Bの拡大斜視図である。
図7は、図4に示す湾曲部32を方向Xに見た状態を模式的に示す図である。
図8は、図7に示す状態からアングルレバー16をA1方向へ回転させた場合の湾曲部32の湾曲状態を説明するための模式図である。
図9は、内視鏡1を気管支に挿入して使用する状態を説明するための模式図である。
図10は、図8に示す状態からアングルレバー16の回転角度を大きくした場合の湾曲部32の湾曲状態を説明するための模式図である。
図11は、内視鏡1を気管支に挿入して使用する状態を説明するための模式図である。
図12は、図7に示す状態からアングルレバー16を-A1方向へ回転させた場合の湾曲部32の湾曲状態の一例を説明するための模式図である。
【発明を実施するための形態】
【0010】
図1は、本開示の技術の一態様の内視鏡1の全体図である。図1に示すように、内視鏡1は、病変部(観察部位、検査部位、診察部位でも可)の細胞組織の採取などに用いられる。なお、本実施形態では病変部を含む部位として気管支を例に挙げて説明を行う。例えば、気管支におけるがんが懸念される部位の観察や検査等に用いられる。
(【0011】以降は省略されています)
この特許をJ-PlatPat(特許庁公式サイト)で参照する
関連特許
富士フイルム株式会社
内視鏡
1日前
富士フイルム株式会社
内視鏡
1日前
富士フイルム株式会社
超音波内視鏡
16日前
富士フイルム株式会社
超音波内視鏡
16日前
富士フイルム株式会社
超音波内視鏡
16日前
富士フイルム株式会社
超音波内視鏡
16日前
富士フイルム株式会社
内視鏡システム
17日前
富士フイルム株式会社
プロセッサ装置
16日前
富士フイルム株式会社
磁気共鳴撮像装置
8日前
富士フイルム株式会社
パネル回路及び細胞処理装置
1日前
富士フイルム株式会社
内視鏡システム及びその作動方法
8日前
富士フイルム株式会社
CT装置、及びCT装置の制御方法
9日前
富士フイルム株式会社
情報処理装置、情報処理方法及びプログラム
8日前
富士フイルム株式会社
アイトラッキングデバイスの小型化、薄型化
10日前
富士フイルム株式会社
送液補助装置、細胞処理装置及び送液補助方法
8日前
富士フイルム株式会社
送液補助装置、細胞処理装置及び送液補助方法
8日前
富士フイルム株式会社
医療器具、医療支援装置、及び医療支援プログラム
2日前
富士フイルム株式会社
超音波診断支援装置及び超音波診断支援プログラム
8日前
富士フイルム株式会社
受信コイルユニット及び磁気共鳴イメージング装置
22日前
富士フイルム株式会社
磁気テープ、磁気テープカートリッジおよび磁気テープ装置
16日前
富士フイルム株式会社
コイルユニット、磁気共鳴イメージングシステム、及びその制御方法
8日前
富士フイルム株式会社
駆動装置及び撮像装置
3日前
富士フイルム株式会社
システム及び接続機器
1日前
富士フイルム株式会社
推定装置、方法およびプログラム
16日前
富士フイルム株式会社
画像処理装置、及び画像処理方法
8日前
富士フイルム株式会社
磁気共鳴撮像装置、及び、スキャン情報及び体動情報をユーザに提示する表示方法。
8日前
富士フイルム株式会社
ヒト脳性ナトリウム利尿ペプチド前駆体N端フラグメントの測定方法および測定キット
16日前
富士フイルム株式会社
医用画像表示装置、方法およびプログラム
1日前
富士フイルム株式会社
調査計画生成装置、調査計画生成方法及びプログラム
8日前
富士フイルム株式会社
情報処理装置、情報処理方法及び情報処理プログラム
1日前
富士フイルム株式会社
光検出装置の製造に用いられる感光性組成物、転写フィルム、積層体及びその製造方法、並びに、光検出装置
10日前
富士フイルム株式会社
文書作成支援装置、文書作成支援方法、及び文書作成支援プログラム
16日前
富士フイルム株式会社
医用画像処理方法、医用画像処理プログラム、記録媒体、医用画像処理装置、及び学習方法
22日前
個人
貼付剤
1か月前
個人
簡易担架
22日前
個人
腋臭防止剤
22日前
続きを見る
他の特許を見る