TOP
|
特許
|
意匠
|
商標
特許ウォッチ
Twitter
他の特許を見る
10個以上の画像は省略されています。
公開番号
2025178842
公報種別
公開特許公報(A)
公開日
2025-12-09
出願番号
2024085678
出願日
2024-05-27
発明の名称
放射線撮影装置、放射線撮影装置の温度制御方法および温度制御プログラム
出願人
富士フイルム株式会社
代理人
弁理士法人太陽国際特許事務所
主分類
A61B
6/03 20060101AFI20251202BHJP(医学または獣医学;衛生学)
要約
【課題】放射線撮影装置、並びにその温度制御方法およびプログラムにおいて、検出器をより大きく冷却することにより検出器の恒温化を図る。
【解決手段】放射線撮影装置は、放射線源が固定され、回転軸を中心として回転する熱伝導性を有する回転板と、熱伝導性を有する筐体を備え、回転板における回転軸を挟んで放射線源と対向する位置に、回転板と一部隙間を開けて固定された放射線検出器と、隙間に配置された、放射線検出器の熱を回転板に放熱するための熱伝導材を有する放熱機構とを備え、熱伝導材は、放射線検出器の温度が上昇する状況において、回転板または放射線検出器との非接触位置から、放射線検出器と回転板とを熱伝導させる位置に移動される。
【選択図】図5
特許請求の範囲
【請求項1】
放射線源が固定され、回転軸を中心として回転する熱伝導性を有する回転板と、
熱伝導性を有する筐体を備え、前記回転板における前記回転軸を挟んで前記放射線源と対向する位置に、前記回転板と一部隙間を開けて固定された放射線検出器と、
前記隙間に配置された、前記放射線検出器の熱を前記回転板に放熱するための熱伝導材を有する放熱機構とを備え、
前記熱伝導材は、前記放射線検出器の温度が上昇する状況において、前記回転板または前記放射線検出器との非接触位置から、前記放射線検出器と前記回転板とを熱伝導させる位置に移動される放射線撮影装置。
続きを表示(約 1,800 文字)
【請求項2】
前記熱伝導材は、前記回転板および前記放射線検出器が対向する面に対して傾斜した摺動面を有する第1部材および第2部材からなり、
前記第1部材が前記隙間において前記回転板または前記放射線検出器に固定され、前記第2部材は、初期位置において前記回転板または前記放射線検出器から離れた位置にあり、前記第2部材は、前記放射線検出器の温度が上昇する状況において、前記第1部材に対して摺動して前記第1部材との接触を維持しつつ前記放射線検出器または前記回転板に接触する作動位置に移動される請求項1に記載の放射線撮影装置。
【請求項3】
前記放熱機構は、前記回転板の径方向に沿って配置されたばねであって、一端が前記回転板または前記放射線検出器に固定され、前記一端よりも前記回転板の径方向外側にある他端が前記第2部材に固定されたばねを有し、
前記ばねのばね定数は、前記回転板が回転する際の角速度、前記第2部材の前記回転板の径方向における位置および前記第2部材の重さに基づいて決定される、請求項2に記載の放射線撮影装置。
【請求項4】
前記放熱機構は、モータと、一端が前記モータに固定され、他端が前記第2部材に螺合されたボールねじとを有する駆動部を有し、
前記駆動部は、前記放射線検出器の発熱量に関する情報に基づいて、前記モータを駆動することにより、前記第2部材の前記初期位置から前記作動位置への移動および前記作動位置から前記初期位置への移動を行う、請求項2に記載の放射線撮影装置。
【請求項5】
前記発熱量に関する情報は、前記放射線検出器に設けられた温度センサにより計測された温度である、請求項4に記載の放射線撮影装置。
【請求項6】
前記発熱量に関する情報は、前記放射線源に印加される管電流に基づく情報である、請求項4に記載の放射線撮影装置。
【請求項7】
前記熱伝導材は、前記回転軸に対して放射状に複数の小部材に分割され、
前記駆動部は、前記放射線検出器における温度が上昇する位置および前記発熱量の少なくとも一方に応じて、前記放射線検出器と前記回転板とを熱伝導させる前記小部材の位置および数を変更する、請求項4から6のいずれか1項に記載の放射線撮影装置。
【請求項8】
放射線源が固定され、回転軸を中心として回転する熱伝導性を有する回転板と、
熱伝導性を有する筐体を備え、前記回転板における前記回転軸を挟んで前記放射線源と対向する位置に、前記回転板と一部隙間を開けて固定された放射線検出器と、
前記隙間に配置された、前記放射線検出器の熱を前記回転板に放熱するための熱伝導材、および前記放射線検出器の温度が上昇する状況において、前記熱伝導材を、前記回転板または前記放射線検出器との非接触位置から、前記放射線検出器と前記回転板とを熱伝導させる位置に移動させる駆動部を有する放熱機構とを備えた放射線撮影装置における温度制御方法であって、
コンピュータが、前記放射線検出器の発熱量に関する情報を取得し、
前記発熱量に関する情報に基づいて、前記駆動部による前記熱伝導材の駆動を制御する温度制御方法。
【請求項9】
放射線源が固定され、回転軸を中心として回転する熱伝導性を有する回転板と、
熱伝導性を有する筐体を備え、前記回転板における前記回転軸を挟んで前記放射線源と対向する位置に、前記回転板と一部隙間を開けて固定された放射線検出器と、
前記隙間に配置された、前記放射線検出器の熱を前記回転板に放熱するための熱伝導材、および前記放射線検出器の温度が上昇する状況において、前記熱伝導材を、前記回転板または前記放射線検出器との非接触位置から、前記放射線検出器と前記回転板とを熱伝導させる位置に移動させる駆動部を有する放熱機構とを備えた放射線撮影装置における温度制御方法をコンピュータに実行させる温度制御プログラムであって、
前記放射線検出器の発熱量に関する情報を取得する手順と、
前記発熱量に関する情報に基づいて、前記駆動部による前記熱伝導材の駆動を制御する手順とをコンピュータに実行させる温度制御プログラム。
発明の詳細な説明
【技術分野】
【0001】
本開示は、放射線撮影装置、放射線撮影装置の温度制御方法および温度制御プログラムに関する。
続きを表示(約 1,500 文字)
【背景技術】
【0002】
近年、光子計数型検出器を搭載した放射線撮影装置であるPCCT(Photon Counting Computed Tomography)装置が知られている。光子計数型検出器は、従来のCT(Computed Tomography)装置で採用されている電荷積分型の検出器と異なり、入射した放射線の光子を計数可能である。PCCT装置は、光子ごとにエネルギーを計測できるので、従来のCT装置に比べてより多くの情報が得られる。
【0003】
PCCT装置では、入射した光子を半導体層で電荷に変換し、変換された電荷を光子計数回路が計数することにより光子の計数が行われる。このような光子計数型検出器は、光子の計数によって発熱する。発熱による温度変化によって光子計数回路の特性が変化するため、検出器の温度を一定に維持するための各種手法が提案されている。
【0004】
例えば特許文献1には、検出器の筐体に開閉自在な開口を形成し、検出器の温度等の発熱量に関する情報を取得し、取得した情報に基づいて開口を選択的に開閉することにより、検出器の温度を一定にするための手法が提案されている。
【先行技術文献】
【特許文献】
【0005】
特開2024-037489号公報
【発明の概要】
【発明が解決しようとする課題】
【0006】
ところで、光子計数型の検出器は、光子計数回路といった検出器に設けられている回路の発熱が、従来型の検出器よりも顕著となる。このため、特許文献1に記載された手法を用いるのみでは、検出器の冷却が不足する可能性がある。
【0007】
本開示は上記事情に鑑みなされたものであり、検出器をより大きく冷却することにより検出器の恒温化を図ることを目的とする。
【課題を解決するための手段】
【0008】
本開示による放射線撮影装置は、放射線源が固定され、回転軸を中心として回転する熱伝導性を有する回転板と、
熱伝導性を有する筐体を備え、回転板における回転軸を挟んで放射線源と対向する位置に、回転板と一部隙間を開けて固定された放射線検出器と、
隙間に配置された、放射線検出器の熱を回転板に放熱するための熱伝導材を有する放熱機構とを備え、
熱伝導材は、放射線検出器の温度が上昇する状況において、回転板または放射線検出器との非接触位置から、放射線検出器と回転板とを熱伝導させる位置に移動される。
【0009】
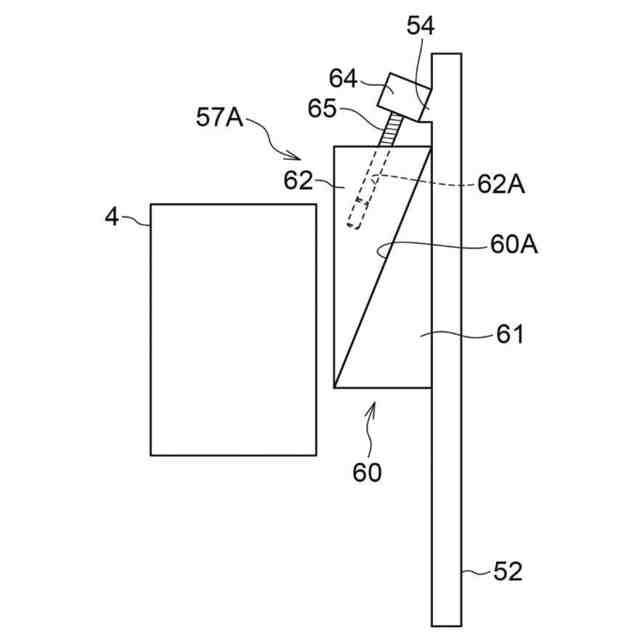
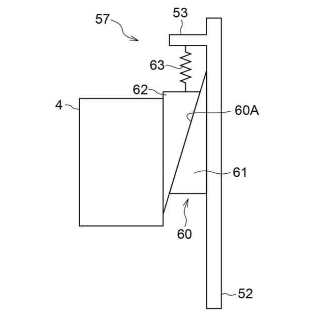
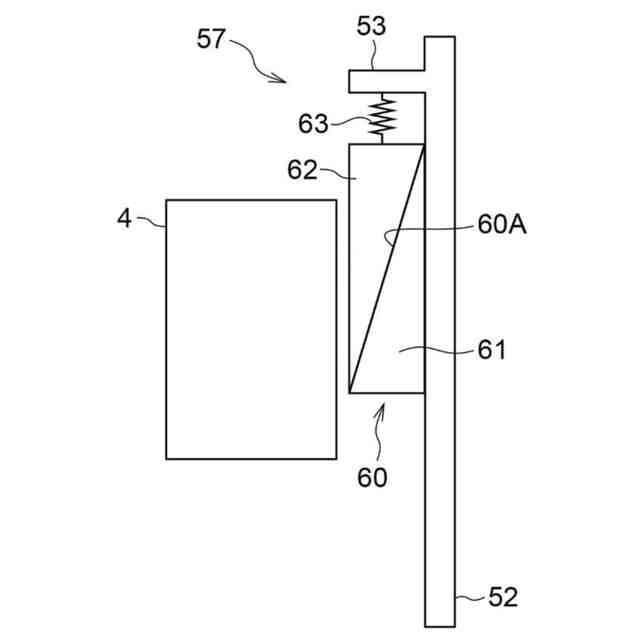
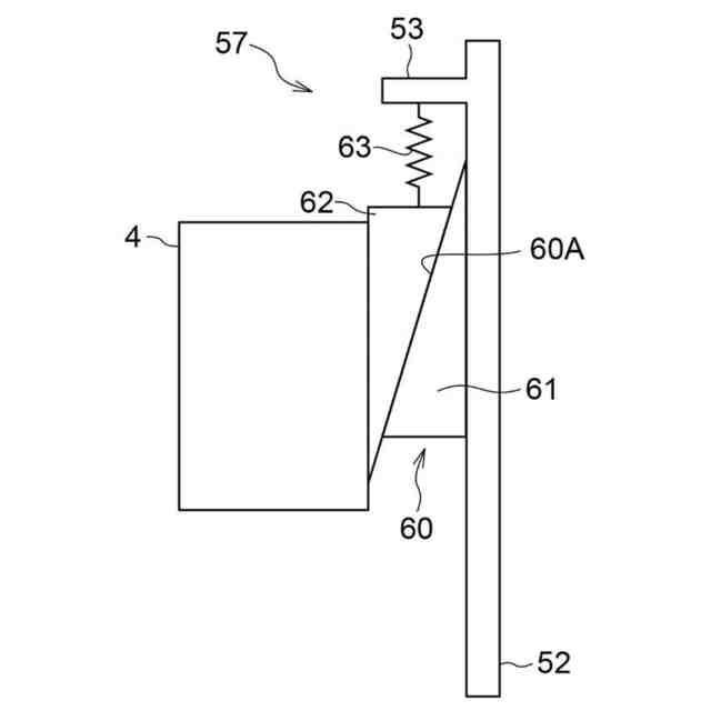
なお、本開示による放射線撮影装置においては、熱伝導材は、回転板および放射線検出器が対向する面に対して傾斜した摺動面を有する第1部材および第2部材からなり、
第1部材が隙間において回転板または放射線検出器に固定され、第2部材は、初期位置において回転板または放射線検出器から離れた位置にあり、第2部材は、放射線検出器の温度が上昇する状況において、第1部材に対して摺動して第1部材との接触を維持しつつ放射線検出器または回転板に接触する作動位置に移動されるものであってもよい。
【0010】
また、本開示による放射線撮影装置においては、放熱機構は、回転板の径方向に沿って配置されたばねであって、一端が回転板または放射線検出器に固定され、一端よりも回転板の径方向外側にある他端が第2部材に固定されたばねを有し、
ばねのばね定数は、回転板が回転する際の角速度、第2部材の回転板の径方向における位置および第2部材の重さに基づいて決定されるものであってもよい。
(【0011】以降は省略されています)
この特許をJ-PlatPat(特許庁公式サイト)で参照する
関連特許
富士フイルム株式会社
撮像レンズおよび撮像装置
今日
富士フイルム株式会社
放射線撮影装置、放射線撮影装置の温度制御方法および温度制御プログラム
今日
富士フイルム株式会社
細胞培養プロセス探索方法、細胞培養プロセス探索プログラム、及び細胞培養プロセス探索装置
今日
個人
貼付剤
1か月前
個人
簡易担架
25日前
個人
足踏み器具
1か月前
個人
腋臭防止剤
25日前
個人
短下肢装具
4か月前
個人
排尿補助器具
1か月前
個人
前腕誘導装置
4か月前
個人
嚥下鍛錬装置
5か月前
個人
歯の修復用材料
5か月前
個人
ウォート指圧法
1か月前
個人
水分吸収性物品
4日前
個人
胸骨圧迫補助具
3か月前
個人
腰ベルト
1か月前
個人
汚れ防止シート
2か月前
個人
アイマスク装置
3か月前
個人
矯正椅子
6か月前
個人
テスト肺
6日前
個人
バッグ式オムツ
5か月前
個人
湿布連続貼り機。
3か月前
個人
排尿排便補助器具
27日前
個人
哺乳瓶冷まし容器
4か月前
個人
介護移乗アシスト
4日前
個人
陣痛緩和具
5か月前
個人
美容セット
1か月前
個人
歯の保護用シール
6か月前
個人
性行為補助具
4か月前
個人
治療用酸化防御装置
2か月前
個人
エア誘導コルセット
3か月前
株式会社コーセー
化粧料
1か月前
株式会社大野
骨壷
5か月前
株式会社八光
剥離吸引管
6か月前
株式会社ダリヤ
毛髪化粧料
2か月前
株式会社ダリヤ
毛髪化粧料
4日前
続きを見る
他の特許を見る