TOP
|
特許
|
意匠
|
商標
特許ウォッチ
Twitter
他の特許を見る
10個以上の画像は省略されています。
公開番号
2025165913
公報種別
公開特許公報(A)
公開日
2025-11-05
出願番号
2025070900
出願日
2025-04-22
発明の名称
粘着シート
出願人
日東電工(上海松江)有限公司
,
NITTO DENKO (SHANGHAI SONGJIANG) CO., LTD.
,
日東電工株式会社
代理人
弁理士法人籾井特許事務所
主分類
C09J
7/40 20180101AFI20251028BHJP(染料;ペイント;つや出し剤;天然樹脂;接着剤;他に分類されない組成物;他に分類されない材料の応用)
要約
【課題】優れた粘着性、経時的なヘイズ安定性、帯電防止性、貼り合わせ保存性及び温度耐性を有し、使用後に糊残り汚染を生じることなく容易に剥離することができる粘着シートを提供する。
【解決手段】基材層、前記基材層の一方の側に設けられた粘着剤層、及び前記粘着剤層の前記基材層とは反対側に設けられた離型フィルムを備える粘着シートであって、前記離型フィルムの前記粘着剤層との貼り合わせ面から離れた側がつや消し面であり、前記つや消し面の算術平均表面粗さRaが0.25μm以上であるか、又は前記つや消し面の表面は最大高さ(Rz)が1.5μm以上である表面粗さを有し、前記離型フィルムのつや消し面が、前記基材層の前記粘着剤層との貼り合わせ面から離れた表面に接触し、前記粘着シートを50℃下で72h放置した後、23℃、相対湿度50%の環境下で前記離型フィルムを除去した後に測定したヘイズが10~80%である粘着シート。
【選択図】図4
特許請求の範囲
【請求項1】
基材層、前記基材層の一方の側に設けられた粘着剤層、及び前記粘着剤層の前記基材層とは反対側に設けられた離型フィルムを備える粘着シートであって、前記離型フィルムの前記粘着剤層との貼り合わせ面から離れた側がつや消し面であり、前記つや消し面の算術平均表面粗さRaが0.25μm以上であるか、又は前記つや消し面の表面は最大高さ(Rz)が1.5μm以上である表面粗さを有し、
前記粘着シートは、ロール状又は積層状で存在し、前記離型フィルムのつや消し面が、前記基材層の前記粘着剤層との貼り合わせ面から離れた表面に接触し、前記粘着シートを50℃下で72h放置した後、23℃、相対湿度50%の環境下で前記離型フィルムを除去した後に測定したヘイズが10~80%であることを特徴とする粘着シート。
続きを表示(約 1,600 文字)
【請求項2】
23℃で180°方向に300mm/minの引張速度で剥離した時の剥離力Aが0.3~2.0N/20mmであり、
23℃で被着体に貼り合わせて50℃で24h放置した後、180°方向に300mm/minの引張速度で剥離した時の剥離力Bが0.5~2.5N/20mmであり、
前記剥離力Bと前記剥離力Aとの差、即ち剥離力B-剥離力Aが0.1~0.8N/20mmであることを特徴とする請求項1に記載の粘着シート。
【請求項3】
23℃で180°方向に10m/minの引張速度で剥離した時の剥離力Cが1.0~5.0N/20mmであり、
23℃で20°方向に10m/minの引張速度で剥離した時の剥離力Dが5.0~9.0N/20mmであり、
前記剥離力Dと前記剥離力Cとの差、即ち剥離力D-剥離力Cが4.0~8.0N/20mmであることを特徴とする請求項1に記載の粘着シート。
【請求項4】
23℃で被着体に貼り合わせて50℃で24h放置した後、180°方向に10m/minの引張速度で剥離した時の剥離力Eが1.5~5.5N/20mmであり、
23℃で被着体に貼り合わせて50℃で24h放置した後、23℃で20°方向に10m/minの引張速度で剥離した時の剥離力Fが5.5~9.5N/20mmであり、
前記剥離力Fと前記剥離力Eとの差、即ち剥離力F-剥離力Eが4.5~8.5N/20mmであることを特徴とする請求項1に記載の粘着シート。
【請求項5】
前記粘着剤層は、ベースポリマー及び機能性樹脂を含み、
前記ベースポリマー100質量部に対して、前記機能性樹脂の含有量が10~40質量部であり、
前記機能性樹脂は、エポキシ樹脂、フェノール樹脂、ビニル樹脂及びロジン樹脂からなる群から選択される少なくとも1種であることを特徴とする請求項1~4のいずれか1項に記載の粘着シート。
【請求項6】
前記粘着剤層はさらに、可塑剤、架橋剤、帯電防止剤及び剥離助剤からなる群から選択される少なくとも1種を含むことを特徴とする請求項5に記載の粘着シート。
【請求項7】
前記可塑剤は、フタル酸ジオクチル、テレフタル酸ジオクチル及びフタル酸ジイソノニルからなる群から選択される少なくとも1種を含み、
前記ベースポリマー100質量部に対して、前記可塑剤の含有量が20~90質量部であることを特徴とする請求項6に記載の粘着シート。
【請求項8】
前記ベースポリマー100質量部に対して、前記架橋剤の含有量が0.01~15質量部であり、
前記架橋剤は、エポキシ系架橋剤及び/又はイソシアネート系架橋剤を含み、
前記ベースポリマー100質量部に対して、前記エポキシ系架橋剤の含有量が0.01~5質量部であり、
前記ベースポリマー100質量部に対して、前記イソシアネート系架橋剤の含有量が0.1~10質量部であることを特徴とする請求項6に記載の粘着シート。
【請求項9】
前記ベースポリマー100質量部に対して、前記帯電防止剤の含有量が0.1~15質量部であり、
前記帯電防止剤は、導電性ポリマー、導電性無機微粒子、金属微粒子又は繊維、イオン性化合物及びイオン性界面活性剤からなる群から選択される少なくとも1種を含むことを特徴とする請求項6に記載の粘着シート。
【請求項10】
前記剥離助剤は、イオン性界面活性剤及び/又は非イオン性界面活性剤を含み、
前記ベースポリマー100質量部に対して、前記剥離助剤の含有量が0.1~5質量部であることを特徴とする請求項6に記載の粘着シート。
(【請求項11】以降は省略されています)
発明の詳細な説明
【技術分野】
【0001】
本発明は、粘着シートに関し、特に優れた粘着性、経時的なヘイズ安定性、帯電防止性、貼り合わせ保存性及び温度耐性を有し、使用後に糊残り汚染を生じることなく容易に剥離することができる粘着シートに関する。
続きを表示(約 4,300 文字)
【背景技術】
【0002】
通常、粘着剤は室温付近の温度領域で柔らかい固体(粘弾性体)の状態を示し、圧力により被着体に容易に接着する性質を有する。このような性質を利用し、粘着剤は、基材の少なくとも一方の側の表面に粘着剤層が設けられた基材付き粘着シートの形態で、例えば各種物品を固定したり、各種物品の表面保護や装飾など所望とする外観を得たりする目的で広く用いられている。
【0003】
上記の用途では、粘着シートは、粘着性能、経時ヘイズの劣化のなさ、帯電防止性、貼り合わせ保存性及び温度耐性を併せ持つことができないなどの問題があった。また、粘着シートは不要になった段階で剥離されるが、剥離除去される際に、被着体の破れを引き起こしたり、糊残り汚染が生じたりする場合がある。
【発明の概要】
【0004】
本発明は、上記従来の問題点を解決するためになされたものであり、優れた粘着性、経時的なヘイズ安定性、帯電防止性、貼り合わせ保存性及び温度耐性を有し、使用後に糊残り汚染を生じることなく容易に剥離することができる粘着シートを提供することを目的とする。
【0005】
本発明者らは、上記課題を解決すべく鋭意検討した結果、離型フィルムのつや消し面の算術平均表面粗さRa又は最大高さRzを特定の範囲に制御し、また、粘着シートがロール状又は積層状で存在し、離型フィルムのつや消し面が基材層の粘着剤層との貼り合わせ面から離れた表面に接触し、粘着シートの前記離型フィルム除去後のヘイズを10~80%とすることにより、上記課題を解決できることを見出し、本発明を完成するに至った。
【0006】
すなわち、本発明は以下のとおりである。
[1].基材層、前記基材層の一方の側に設けられた粘着剤層、及び前記粘着剤層の前記基材層とは反対側に設けられた離型フィルムを備える粘着シートであって、前記離型フィルムの前記粘着剤層との貼り合わせ面から離れた側がつや消し面であり、前記つや消し面の算術平均表面粗さRaが0.25μm以上であるか、又は前記つや消し面の表面は最大高さ(Rz)が1.5μm以上である表面粗さを有し、
前記粘着シートは、ロール状又は積層状で存在し、前記離型フィルムのつや消し面が、前記基材層の前記粘着剤層との貼り合わせ面から離れた表面に接触し、前記粘着シートを50℃下で72h放置した後、23℃、相対湿度50%の環境下で前記離型フィルムを除去した後に測定したヘイズが10~80%である粘着シート。
[2].23℃で180°方向に300mm/minの引張速度で剥離した時の剥離力Aが0.3~2.0N/20mmであり、
23℃で被着体に貼り合わせて50℃で24h放置した後、180°方向に300mm/minの引張速度で剥離した時の剥離力Bが0.5~2.5N/20mmであり、
前記剥離力Bと前記剥離力Aとの差、即ち剥離力B-剥離力Aが0.1~0.8N/20mmである[1]に記載の粘着シート。
[3].23℃で180°方向に10m/minの引張速度で剥離した時の剥離力Cが1.0~5.0N/20mmであり、
23℃で20°方向に10m/minの引張速度で剥離した時の剥離力Dが5.0~9.0N/20mmであり、
前記剥離力Dと前記剥離力Cとの差、即ち剥離力D-剥離力Cが4.0~8.0N/20mmである[1]に記載の粘着シート。
[4].23℃で被着体に貼り合わせて50℃で24h放置した後、180°方向に10m/minの引張速度で剥離した時の剥離力Eが1.5~5.5N/20mmであり、
23℃で被着体に貼り合わせて50℃で24h放置した後、23℃で20°方向に10m/minの引張速度で剥離した時の剥離力Fが5.5~9.5N/20mmであり、
前記剥離力Fと前記剥離力Eとの差、即ち剥離力F-剥離力Eが4.5~8.5N/20mmである[1]に記載の粘着シート。
[5].前記粘着剤層は、ベースポリマー及び機能性樹脂を含み、
前記ベースポリマー100質量部に対して、前記機能性樹脂の含有量が10~40質量部であり、
前記機能性樹脂は、エポキシ樹脂、フェノール樹脂、ビニル樹脂及びロジン樹脂からなる群から選択される少なくとも1種である[1]~[4]のいずれか1項に記載の粘着シート。
[6].前記粘着剤層はさらに、可塑剤、架橋剤、帯電防止剤及び剥離助剤からなる群から選択される少なくとも1種を含む[5]に記載の粘着シート。
[7].前記可塑剤は、フタル酸ジオクチル、テレフタル酸ジオクチル及びフタル酸ジイソノニルからなる群から選択される少なくとも1種を含み、
前記ベースポリマー100質量部に対して、前記可塑剤の含有量が20~90質量部である[6]に記載の粘着シート。
[8].前記ベースポリマー100質量部に対して、前記架橋剤の含有量が0.01~15質量部であり、
前記架橋剤は、エポキシ系架橋剤及び/又はイソシアネート系架橋剤を含み、
前記ベースポリマー100質量部に対して、前記エポキシ系架橋剤の含有量が0.01~5質量部であり、
前記ベースポリマー100質量部に対して、前記イソシアネート系架橋剤の含有量が0.1~10質量部である[6]に記載の粘着シート。
[9].前記ベースポリマー100質量部に対して、前記帯電防止剤の含有量が0.1~15質量部であり、
前記帯電防止剤は、導電性ポリマー、導電性無機微粒子、金属微粒子又は繊維、イオン性化合物及びイオン性界面活性剤からなる群から選択される少なくとも1種を含む[6]に記載の粘着シート。
[10].前記剥離助剤は、イオン性界面活性剤及び/又は非イオン性界面活性剤を含み、
前記ベースポリマー100質量部に対して、前記剥離助剤の含有量が0.1~5質量部である[6]に記載の粘着シート。
[11].以下の特性:
(a)剥離速度が12m/minの剥離試験において、前記粘着シートを離型フィルムから剥離する際に発生する剥離帯電圧が500V以下であること、
(b)前記粘着シートの表面抵抗率が1.0×10
4
~1.0×10
11
ohms/sqであること、
(c)前記粘着シートを360°方向に1~1.2倍延伸した後、前記基材層の表面抵抗率が1.0×10
5
~1.0×10
8
ohms/sqであり、前記粘着シートの粘着剤層の表面抵抗率が1.0×10
11
ohms/sq以下であること、
(d)下記式(1)により算出される粘着シートの表面抵抗率の対数値の変化率が100%以下であること、
表面抵抗率の対数値の変化率(%)=[(X2-X1)/X1]×100% (1)
(式中、X2は前記粘着シートを360°方向に1~1.2倍延伸した後の表面抵抗率の対数値を表し、X1は前記粘着シートの延伸前の表面抵抗率の対数値を表す。)
(e)前記粘着シートの長手方向(MD方向)の引張強度が15~60MPaであること、
(f)前記粘着シートの幅方向(TD方向)の引張強度が10~50MPaであること、
(g)前記粘着シートの長手方向(MD方向)の引張強度と幅方向(TD方向)の引張強度との比が1.0~1.5であること、
(h)前記粘着シートの長手方向(MD方向)の50%弾性率が15~50MPaであること、
(i)前記粘着シートの幅方向(TD方向)の50%弾性率が10~45MPaであること、
(j)前記粘着シートの長手方向(MD方向)の破断伸びが100~300%であること、
(k)前記粘着シートの幅方向(TD方向)の破断伸びが80~270%であること、
(l)前記粘着シートの長手方向(MD方向)の破断伸びと幅方向(TD方向)の破断伸びとの比が1.0~1.5であること、
(m)前記粘着シートの長手方向(MD方向)の50℃加熱収縮率が1.0~8%であること、
(n)前記粘着シートの幅方向(TD方向)の50℃加熱収縮率が-6.0~3.0%であること、
(o)前記粘着シートの前記離型フィルム除去後の光透過率が50~90%であること、
(p)前記粘着シートを50℃下で72h放置した後、23℃、相対湿度50%の環境下で前記離型フィルムを除去した後に測定したヘイズが15~55%であること、
【0007】
本発明の粘着シートは、優れた粘着性、経時的なヘイズ安定性、帯電防止性、貼り合わせ保存性及び温度耐性を有し、使用後に糊残り汚染を生じることなく容易に剥離することができる。
【図面の簡単な説明】
【0008】
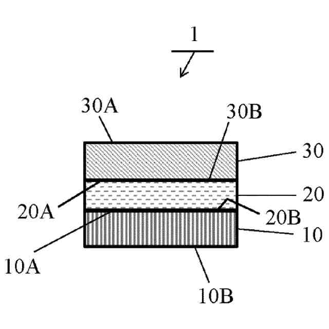
図1は、本発明の一実施形態に係る粘着シートの構成を模式的に示す断面図である。
図2は、本発明の他の実施形態に係る粘着シートの構成を模式的に示す断面図である。
図3は、本発明のさらに他の実施形態に係る粘着シートの構成を模式的に示す断面図である。
図4は、本発明の一実施形態に係る粘着シートの巻回体の構成を模式的に示す模式図である。
図5は、本発明の一実施形態に係る粘着シートの積層体の構成を模式的に示す模式図である。
【発明を実施するための形態】
【0009】
以下、本発明の様々な例示的実施例、特徴及び形態を詳細に説明する。ここで、用語「例示的」とは、「例、実施例として用いられることまたは説明的なもの」を意味する。ここで、「例示的」に説明されるいかなる実施例も他の実施例より好ましい又は優れるものであると理解すべきではない。
【0010】
また、本発明をよりよく説明するために、以下の具体的な実施形態において様々な具体的な詳細を示す。当業者であれば、何らかの具体的な詳細がなくても、本発明は同様に実施できるということを理解すべきである。別のいくつかの実例では、本発明の趣旨を強調するために、当業者に熟知されている方法、手段、装置及び工程について、詳細な説明を行わない。
(【0011】以降は省略されています)
この特許をJ-PlatPat(特許庁公式サイト)で参照する
関連特許
日東電工(上海松江)有限公司
粘着シート
15日前
日東電工(上海松江)有限公司
粘着シート
3か月前
日東電工(上海松江)有限公司
粘着複合シート
6か月前
日東電工(上海松江)有限公司
アクリレートポリマー
6か月前
日本化薬株式会社
インク
13日前
日本化薬株式会社
インク
1か月前
ベック株式会社
水性被覆材
1か月前
ベック株式会社
被膜形成方法
1か月前
ベック株式会社
被膜形成方法
3か月前
日本化薬株式会社
インク組成物
1か月前
日本製紙株式会社
圧着紙
1か月前
株式会社日本触媒
インクセット
2か月前
日本化薬株式会社
インクセット
13日前
個人
絵具及び絵具セット
28日前
日本化薬株式会社
前処理組成物
1か月前
出光興産株式会社
構造体
13日前
東ソー株式会社
印刷インキ組成物
1か月前
個人
滑り止め分散剤組成物
21日前
株式会社KRI
潜熱蓄熱材組成物
1か月前
メック株式会社
表面処理剤
1か月前
関西ペイント株式会社
塗料組成物
3か月前
東亞合成株式会社
プライマー組成物
23日前
シヤチハタ株式会社
油性インキ組成物
3か月前
日澱化學株式会社
ホットメルト接着剤
1か月前
株式会社グッドネス
保冷パック
16日前
東ソー株式会社
土木用注入薬液組成物
1か月前
アイカ工業株式会社
ホットメルト組成物
1か月前
AGC株式会社
液状組成物
3か月前
大日精化工業株式会社
顔料分散液
2か月前
アイカ工業株式会社
光硬化型圧着組成物
3か月前
マクセル株式会社
粘着テープ
16日前
東ソー株式会社
土質安定化注入薬液組成物
2か月前
マクセル株式会社
粘着テープ
3か月前
東ソー株式会社
土質安定化注入薬液組成物
2か月前
デンカ株式会社
蛍光体
1か月前
リンテック株式会社
粘着シート
1か月前
続きを見る
他の特許を見る