TOP
|
特許
|
意匠
|
商標
特許ウォッチ
Twitter
他の特許を見る
公開番号
2025165435
公報種別
公開特許公報(A)
公開日
2025-11-05
出願番号
2024069454
出願日
2024-04-23
発明の名称
構造物および複合構造物
出願人
国立大学法人 名古屋工業大学
代理人
個人
,
個人
主分類
E04B
1/343 20060101AFI20251028BHJP(建築物)
要約
【課題】規格化されたダンボール板材を使って、避難場所に、避難者が自ら容易に設置することができる構造物を提供する。
【解決手段】
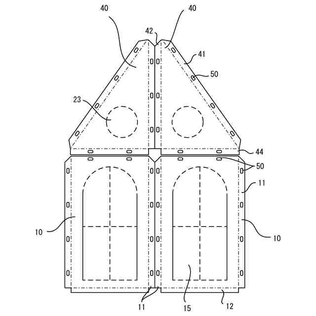
規格化された大きさ・形状である、両縁にリブ部材を備えさせた壁板10と、両縁にリブ部材を備えさせた複数種類の屋根板20,30,40を使って、夫々のリブ部材を外方に屈曲させて連結させ、多角錐形状の屋根部70を、多角柱形状の壁部60の上に載せて構造物1を構成させると共に、壁板の下方に壁下方屈曲部を備えさせ、壁下方屈曲部を外側に屈曲させて床に接しさせた。壁板10の中央部を開口可能部15とさせ、その周囲には破断線13と折曲線14を備えさせ、破断線13を切断して、中央垂直線の位置から左右に開いて、折曲線14に沿って折り曲げて出入口とし、建築物の屋内に設置する構造物1とした。また、複数の構造物1を一体化させた複合構造物とした。
【選択図】図1
特許請求の範囲
【請求項1】
人の滞在空間を囲む複数の屋根板と壁板とからなる構造物において、
前記屋根板と前記壁板が、夫々規格化された大きさ・形状のダンボール板とされた構造物であって、
開口部が、前記壁板の中央部に形成可能とされ、
屋根板連結部が、各々の前記屋根板の両縁に、外方に屈曲されるように筋状に備えられると共に、屋根下方屈曲部が、各々の前記屋根板の下縁に、内方に屈曲されるように筋状に備えられ、
壁板連結部が、各々の前記壁板の両縁に、外方に屈曲されるように筋状に備えられると共に、壁下方屈曲部が、各々の前記壁板の下縁に、外方に屈曲されるように筋状に備えられ、
貫通孔が、隣合う屈曲された一対の前記屋根板連結部が向い合う位置と、隣合う屈曲された一対の前記壁板連結部が向い合う位置の夫々に備えられ、
前記屋根板連結部が屈曲されて隣合った前記貫通孔に連結具が連結されて多角錐形状の屋根部とされると共に、前記屋根下方屈曲部が下方に屈曲され、
前記壁板連結部が屈曲されて隣合った前記貫通孔に連結具が連結されて多角柱形状の壁部とされ、
前記屋根下方屈曲部が、前記壁部の頂部を覆って、前記壁部に連結されていると共に、前記壁下方屈曲部が外方に屈曲されて床に接している、
ことを特徴とする構造物。
続きを表示(約 1,100 文字)
【請求項2】
前記開口部をなす位置の周囲には破断線と折曲線が備えられ、
前記破断線が、少なくとも前記開口部の中央垂直線と前記開口部の上縁と下縁とに設けられ、前記折曲線が、前記開口部の両側縁に設けられ、
前記破断線を切断して、中央垂直線の位置から開いて、前記折曲線に沿って折り曲げて、出入口が形成されている、
ことを特徴とする請求項1に記載の構造物。
【請求項3】
前記連結具が、ダンボール板からなると共に、中央部と、前記中央部から左右に屈曲される側方部とからなり、
前記中央部が、上下に突出される中央部突出片を備え、
前記側方部の各々が、上方又は下方の少なくともいずれかに側方部突出片を備え、
前記側方部突出片が、前記中央部との折曲線から、ダンボール板を重ねた距離離間されており、
各々の側方部が、向い合うように折り曲げられ、且つ、前記側方部突出片が折り返された状態で窄められ、前記貫通孔に貫通されてから、前記側方部突出片が折り戻された状態で、
前記中央部突出片と前記側方部突出片とにより、前記屋根板連結部又は前記壁板連結部をなす重ねたダンボール板が挟まれている、
ことを特徴とする請求項1又は請求項2に記載の構造物。
【請求項4】
前記ダンボール板が、上面材と、中面材と、下面材と、屈曲高さが異なる2つの波板材とからなり、
一方の波板材が前記上面材と前記中面材との間に配され、他方の波板材が前記中面材と前記下面材との間に配されているダンボール板である、
ことを特徴とする請求項1又は請求項2に記載の構造物。
【請求項5】
更に、前記開口部の高さ方向中央部に水平破断線が備えられ、
前記水平破断線と、中央垂直線と上縁の夫々に設けられた破断線を切断して、
前記開口部の上方部が開かれて、窓開口とされている、
ことを特徴とする請求項2に記載の構造物。
【請求項6】
請求項1又は請求項2に記載の複数の前記構造物を一体化させた複合構造物であって、
前記複合構造物の外延に配置される夫々の壁板の壁板連結部が連結され、
前記複合構造物をなす前記構造物の内部空間が一体化されている、
ことを特徴とする複合構造物。
【請求項7】
請求項3に記載の複数の前記構造物を一体化させた複合構造物であって、
前記複合構造物の外延に配置される夫々の壁板の壁板連結部が連結され、
前記複合構造物をなす前記構造物の内部空間が一体化されている、
ことを特徴とする複合構造物。
発明の詳細な説明
【技術分野】
【0001】
本発明は、避難している幼児・高齢者であっても、簡単に且つ手早く組み立てることができる構造物に関する。具体的には、災害時に体育館等の屋内避難空間や屋外の避難場所に、避難者のプライバシーを確保しつつ、避難者自身が容易に加工・組立てることができる構造物および複合構造物に関する。
続きを表示(約 1,500 文字)
【0002】
より具体的には、予め規格化した数種類の形状・大きさのダンボール製の壁板及び屋根板を組み立てて壁部60と屋根部70(図3(A)図参照)とし、多角柱空間をなす壁部の頂部を多角錐形状の屋根部で覆い、室内空間が高く、圧迫感を与えないと共に、遮音性、保温性に優れた多角形空間をなす構造物に関する。
【0003】
更に、壁板が規格化され統一されており、壁板の部分で二つの空間をつなぐことにより、空間の大きさを拡張でき、避難者が多くても、一人あたりの専有面積のばらつきを小さくして避難させることができる複合構造物に関する。
【背景技術】
【0004】
大規模な地震災害が頻発し、多くの避難者が避難できる避難施設が必要とされている。耐震安全性に優れた体育館等が避難場所として選定され、ダンボール板を壁板として、体育館の床面を区画して避難区画として、避難者用の避難住宅が設置されるまで避難者を収容している。
【0005】
これまで屋外に避難住宅が設営されるまでの数か月に亘り、体育館内等が避難空間とされてきていたが、天井がない避難区画であるため、他人の視線、音に煩わされ、避難者の間でトラブルが発生することも頻繁であった。更に、インフルエンザ感染症、新型コロナウイルス感染症、ノロウイルス等の感染症が、避難施設内で広がる可能性もあり、少しでも早く且つ安く、避難者のプライバシーが確保される空間を提供できる技術が必要とされてきた。
【0006】
特許文献1には、強化ダンボール等の平面体を材料として、接合具で接続させることにより、ユニークな空間創造をさせる組立式遊戯具の技術が開示されている。この技術によれば、平面体が、その各外周縁に両方向に折曲可能とされた折曲片を付設させ、折曲片の折曲個所を挟んで、折曲個所の両側に接合用穴を複数組形成させた平面体とされている。
【0007】
この技術によれば、平面体の各外周縁の折曲片を折り曲げてから、折曲片に貫通された接合用穴に接合具を差し込んで、平面体を一体に組み付ることにより、幼児でも一体の遊戯具を組み立てられるとされている。しかし、この遊戯具の技術によれば、折曲片の両側の接合用穴のうち、接合に使っていない接合用穴は穴が開いた状態のままとされ、光が差し込んでくるため、避難者が就寝する構造物としては適用できないという課題があった。
【0008】
また、特許文献2には、ダンボール板を利用した建築物の技術が開示されている。この技術によれば、ダンボール板は屋外で使用するためにポリスチレン製の樹脂を含浸させており、コンクリート製の基礎の上に建築されるとしている。
【0009】
ダンボール板は、夫々一枚ごとに所定形状にカットされて、プラスチック製のビス等により連結されて、雨水の浸入、光の差し込み、隙間風などが防がれるとされている。しかし、この技術は、コンクリート製の基礎が必要であり、屋内用の避難施設としては使用できないだけでなく、ダンボール板にポリスチレン樹脂を含浸させ、一枚ごとに個別の形状にカットする必要があるため、準備から製作に長い時間と費用を必要とするという課題があった。
【先行技術文献】
【特許文献】
【0010】
実公昭61-33989号公報
特開2007-308955号公報
【発明の概要】
【発明が解決しようとする課題】
(【0011】以降は省略されています)
特許ウォッチbot のツイートを見る
この特許をJ-PlatPat(特許庁公式サイト)で参照する
関連特許
国立大学法人 熊本大学
塑性加工金属の製造方法
2か月前
国立大学法人 名古屋工業大学
構造物および複合構造物
16日前
国立大学法人 名古屋工業大学
ワイヤ状金属材及びその製造方法
1か月前
株式会社SOKEN
物体検知装置
1か月前
株式会社レゾナック
組成物セット、硬化物、及び成形物
1か月前
国立大学法人 名古屋工業大学
ポリテトラフルオロエチレンおよびその誘導体の分解方法
1か月前
ダイキン工業株式会社
フッ素化剤、及び、フッ素化方法
2か月前
国立大学法人 名古屋工業大学
ワイヤー式指向性エネルギー堆積法用の金属素材及びその製造方法
7日前
株式会社レゾナック
硬化性組成物及びその硬化物、並びに成形物
1か月前
ダイキン工業株式会社
組成物の製造方法、フッ素化方法、及び、組成物
2か月前
東亞合成株式会社
化合物及びその製造方法、固体電解質並びに蓄電デバイス
1か月前
大阪ガスケミカル株式会社
フルオレン骨格を有する環状オレフィン化合物、およびその重合体
1か月前
三井金属鉱業株式会社
フィッシャー・トロプシュ反応を触媒する触媒組成物及びその製造方法
2か月前
国立研究開発法人産業技術総合研究所
プロトン伝導セラミック燃料電池用空気極材、プロトン伝導セラミック燃料電池用空気極及びプロトン伝導セラミック燃料電池
2か月前
個人
接合構造
1か月前
個人
タッチミー
1か月前
個人
屋台
2か月前
個人
野良猫ハウス
2か月前
個人
フェンス
3か月前
個人
安心補助てすり
29日前
個人
転落防止用手摺
2か月前
個人
居住車両用駐車場
2か月前
個人
ベンリナアングル
1か月前
個人
筋交自動設定装置
1か月前
積水樹脂株式会社
柵体
2か月前
ニチハ株式会社
建築板
2か月前
個人
熱抵抗多層断熱建材
2か月前
個人
補強部材
2か月前
個人
柵
3か月前
個人
身体用シェルター
1か月前
個人
身体用シェルター
1か月前
鹿島建設株式会社
壁体
2か月前
個人
防災建築物
1か月前
株式会社シンケン
住宅
1か月前
成友建設株式会社
建物
2か月前
株式会社熊谷組
吊り治具
1か月前
続きを見る
他の特許を見る