TOP
|
特許
|
意匠
|
商標
特許ウォッチ
Twitter
他の特許を見る
10個以上の画像は省略されています。
公開番号
2025164818
公報種別
公開特許公報(A)
公開日
2025-10-30
出願番号
2025136258,2024532277
出願日
2025-08-19,2022-12-12
発明の名称
駆動フレーム間のゼロ電圧フレームを伴うトッププレーン切替を使用した高電圧駆動
出願人
イー インク コーポレイション
代理人
個人
,
個人
,
個人
,
個人
,
個人
主分類
G09G
3/34 20060101AFI20251023BHJP(教育;暗号方法;表示;広告;シール)
要約
【課題】好適な駆動フレーム間のゼロ電圧フレームを伴うトッププレーン切替を使用した高電圧駆動を提供すること。
【解決手段】上部電極上の電圧が、駆動フレーム間で改変されているとき、薄膜トランジスタ(TFT)を用いて制御されるピクセル電極のアクティブマトリクスを駆動させるための改良された方法。説明される方法は、TFT上の応力を低減させながら、上部電極とピクセル電極との間の全体的な電圧において、より小さい振幅を提供することによって、性能を増加させる。性能の欠陥およびTFTまたはピクセル電極に対する損傷のリスクは、トッププレーン切替間に「レスト」または「ゼロ」フレームを挿入することによって軽減されることができ、トッププレーン電圧が、変化するにつれて、走査されないピクセル上の大きな電圧スパイクを防止することが可能である。
【選択図】図7
特許請求の範囲
【請求項1】
本明細書に記載の発明。
発明の詳細な説明
【背景技術】
【0001】
(関連出願)
本願は、2021年12月22日に出願された、米国仮特許出願第63/292,440号、および2022年11月4日に出願された、米国仮特許出願第63/422,884号の優先権を主張する。本明細書に開示される全ての特許および公開は、参照することによって、それらの全体として組み込まれる。
続きを表示(約 4,100 文字)
【0002】
電気泳動ディスプレイ(EPD)は、光透過性視認表面に対する荷電着色粒子の位置を修正することによって、色を変更する。そのような電気泳動ディスプレイは、結果として生じるディスプレイが、紙上のインクとほぼ同様に、高コントラストを有し、太陽光可読であるため、典型的には、「電子ペーパー」または「eペーパー」と称される。電気泳動ディスプレイは、電気泳動ディスプレイが、書籍同様の読書体験を提供し、少ない電力を使用し、ユーザが、軽量な携行デバイス内に数百冊の書籍のライブラリを携行することを可能にするため、AMAZON KINDLE(登録商標)等、電子書籍読取機において幅広い採用を享受している。
【0003】
何年もの間、電気泳動ディスプレイは、2つのタイプの荷電色粒子、すなわち、黒色および白色のみを含んでいた(確実にするために、「色」は、本明細書内で使用されるように、黒色および白色を含む)。白色粒子は、多くの場合、光散乱型であり、例えば、二酸化チタンを含む一方、黒色粒子は、可視スペクトルを横断して吸収性であり、カーボンブラック、または銅クロマイト等の吸収性金属酸化物を含んでもよい。最も単純な意味では、黒色および白色電気泳動ディスプレイは、視認表面における光透過性電極、背後電極、および反対荷電白色および黒色粒子を含む、電気泳動媒体のみを要求する。1つの極性の電圧が、提供されるとき、白色粒子は、視認表面に移動し、異極性の電圧が、提供されるとき、黒色粒子は、視認表面に移動する。背後電極が、制御可能領域(ピクセル)、すなわち、セグメント化された電極、またはトランジスタによって制御されるピクセル電極のアクティブマトリクスのいずれかを含む場合、あるパターンが、視認表面において電子的に現れるように作製されることができる。本パターンは、例えば、書籍にとっての本文であり得る。
【0004】
さらに最近では、3色ディスプレイ(黒色、白色、赤色、および黒色、白色、黄色)および4色ディスプレイ(黒色、白色、赤色、黄色)を含む、様々な色の選択肢が、電気泳動ディスプレイのために商業的に利用可能となっている。黒色および白色電気泳動ディスプレイの動作と同様に、3つまたは4つの反射性顔料を伴う、電気泳動ディスプレイは、所望の色粒子が、視認表面に対して駆動されるため、単純な黒色および白色ディスプレイと同様に動作する。本駆動スキームは、黒色および白色のみのものよりはるかに複雑であるが、最終的には、粒子の光学機能は、同一である。
【0005】
高度カラー電子ペーパー(ACeP(登録商標))はまた、4つの粒子を含んでいたが、シアン色、黄色、およびマゼンタ色粒子が、反射性ではなく減法的であり、それによって、数千色が、各ピクセルにおいて生産されることを可能にする。本色プロセスは、オフセット印刷およびインクジェットプリンタにおいて長い間使用されてきた、印刷方法と機能的に同等である。所与の色は、明るい白色ペーパー背景上で、シアン色、黄色、およびマゼンタ色の正しい比率を使用することによって生産される。ACePの事例では、視認表面に対する、シアン色、黄色、マゼンタ色、および白色粒子の相対的な位置が、各ピクセルにおける色を決定するであろう。本タイプの電気泳動ディスプレイは、各ピクセルにおいて数千色を可能にするが、厚さ約10~20ミクロンの作業空間内で、(50~500ナノメートルサイズの)顔料のそれぞれの位置を慎重に制御することが、極めて重要である。明白なこととして、顔料の位置の変動は、誤った色が、所与のピクセルにおいて表示されることをもたらすであろう。故に、精緻な電圧制御が、そのようなシステムに対して要求される。本システムのさらなる詳細は、以下の米国特許、すなわち、米国特許第9,361,836号、第9,921,451号、第10,276,109号、第10,353,266号、第10,467,984号、および第10,593,272号において入手可能であり、その全てが、参照することによってそれらの全体として組み込まれる。
【0006】
本発明は、カラー電気泳動ディスプレイに関し、具体的には、排他的ではないが、複数の着色粒子、例えば、白色、シアン色、黄色、およびマゼンタ色粒子を備える、電気泳動材料の単一層を使用して、2つを上回る色をレンダリング可能である、電気泳動ディスプレイに関する。いくつかの事例では、粒子のうちの2つは、正荷電であり、2つの粒子は、負荷電であろう。いくつかの事例では、1つの正荷電粒子は、厚いポリマーシェルを有し、1つの負荷電粒子は、厚いポリマーシェルを有するであろう。
【0007】
米国特許第9,921,451号において、特に、第‘451号特許の表3に対して説明されるように、改良された色識別が、その中で上部電極上のバイアスが、駆動の間に改変され、上部電極とバックプレーンとの間のより大きな電圧降下を達成する、いわゆる「トッププレーン切替」を使用することによって、「標準」アクティブマトリクスバックプレーン(すなわち、非晶質シリコンを使用する、薄膜トランジスタ(TFT)のアレイを含む)を用いて達成されることができる。例えば、良好なマゼンタ色状態を達成するために、電気泳動媒体が、+30Vの全体的な電圧降下を経験するように、+15Vの電圧を上部電極に、かつ-15Vを所望のアクティブマトリクスピクセルのピクセル電極に印加することが必要とされ得る(第‘451号特許の図6A参照)。後に、例えば、良好な黄色状態を生産することが所望されるとき、電気泳動媒体が、-30Vの全体的な電圧降下を経験するように、-15Vの電圧を上部電極に、かつ+15Vを所望のアクティブマトリクスピクセルのピクセル電極に印加することが必要とされ得る(第‘451号特許の図6C参照)。第‘451号特許においてさらに詳細に説明されるように、トッププレーン切替は、電気泳動媒体をアドレス指定するために、および先の光学状態を消去し、波形をDC平衡させるために使用されることができる。
【0008】
TFTベースの薄膜電子機器は、LCDおよびEPD等の高分解能ディスプレイのためのピクセル電極のアドレス指定を制御するために使用され得る。ドライバ回路は、AM-TFT基板の中に直接統合されることができ、TFTベースの電子機器は、EPD用途のためのピクセル電極電圧を制御するために非常に好適である。TFTは、多種多様な半導体材料を使用して作製されることができる。一般的な材料は、シリコンである。シリコンベースのTFTの特性は、シリコンの結晶状態に依存し、すなわち、半導体層は、非晶質シリコン(a-Si)、微小結晶シリコンであり得るか、または低温ポリシリコン(LTPS)の中にアニーリングされ得るかのいずれかである。a-SiをベースとしたTFTは、生産することが安価であり、したがって、比較的大きな基板面積が、比較的低コストで製造されることができる。a-SiをベースとしたTFTの1つの否定的側面は、TFTを横断するバイアスが、典型的には、45V未満に限定されることである。45Vを超えると、トランジスタは、故障する、またはこの間に過剰な電流が、トランジスタを通して移動し、例えば、ピクセル電極を所望のレベルを超えて充電する、「ブレークスルー」を有し得る。金属酸化物等のよりエキゾチックな材料がまた、薄膜トランジスタアレイを加工するために使用され、より高い電圧を達成し得るが、そのようなデバイスの加工コストは、典型的には、金属酸化物を操作し/堆積させるために必要とされる特殊な機器のために高い。
【0009】
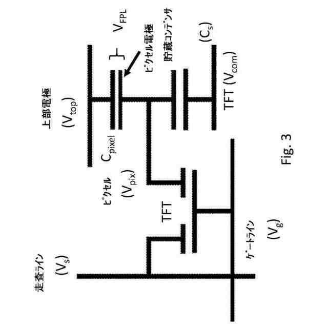
アクティブマトリクスデバイスに関して、駆動信号は、多くの場合、コントローラから、ひいては、アクティブマトリクス内の種々のTFTをアクティブにさせるために要求される電流-電圧入力を提供する、ゲートおよび走査ドライバまで出力される。しかしながら、例えば、画像データを受信し、TFTをアクティブにするために必要とされる電流-電圧入力を出力することが可能であるコントローラドライバが、市販されている。薄膜トランジスタの殆どのアクティブマトリクスは、ライン単位(別名、ライン毎)アドレス指定を用いて駆動され、これは、LCDおよびEPDディスプレイの圧倒的多数において使用される。そのようなシステムでは、1つまたはそれを上回るコントローラが、電圧を一連の走査ラインおよび一連のゲートラインに送達するために使用され、これらは、多くの場合、バックプレーンを横断するグリッド内に垂直に配列される。他のコントローラまたは同一のコントローラもまた、上部電極への電圧、および典型的には、所与のピクセル電極と関連付けられる貯蔵コンデンサに提供される共通電圧(V
com
)を提供するであろう。
【0010】
用語「グレー状態」は、結像技術におけるその従来的な意味で本明細書で使用され、2つの極限ピクセルの光学状態の中間の状態を指し、必ずしもこれら2つの極限状態の間の黒色-白色遷移を含意するわけではない。例えば、下記に参照されるE Ink特許および公開された出願のうちのいくつかは、中間グレー状態が実際には淡い青色であろうように、極限状態が白色および濃青色である、電気泳動ディスプレイを説明している。実際、すでに述べられたように、光学的状態の変化は、色の変化では全くない場合もある。用語「黒色および白色」は、以降では、ディスプレイの2つの極限光学状態を指すために本明細書で使用され得、通常、厳密に黒色および白色ではない、極限光学状態、例えば、前述の白色および濃青色状態を含むものとして理解されたい。
(【0011】以降は省略されています)
この特許をJ-PlatPat(特許庁公式サイト)で参照する
関連特許
個人
英語教材
16日前
日本精機株式会社
表示装置
3日前
日本精機株式会社
表示装置
1か月前
個人
計算用教具
1か月前
日本精機株式会社
車両用表示装置
9日前
個人
インフィニティミラー
1日前
個人
微細構造を模した理科学習教材
22日前
日本精機株式会社
車両用センサ装置
1か月前
ニチレイマグネット株式会社
サイン器具
14日前
株式会社ウメラボ
学習支援システム
1か月前
株式会社ウメラボ
学習支援システム
29日前
日本精機株式会社
表示装置及びその製造方法
3日前
朝日インテック株式会社
ラベルシート
14日前
シャープ株式会社
表示装置
15日前
朝日インテック株式会社
生体モデル装置
3日前
株式会社イリオスNOTO
シート保管具
14日前
リンテック株式会社
表示体
28日前
国立大学法人秋田大学
運転シミュレータ
15日前
リンテック株式会社
粘着ラベル
29日前
TOPPANホールディングス株式会社
ラベル
1か月前
ローム株式会社
暗号化装置
29日前
キヤノン株式会社
発光装置
1か月前
セイコーエプソン株式会社
投射型表示装置
29日前
株式会社JVCケンウッド
液晶表示装置および制御方法
24日前
公立大学法人札幌市立大学
化学構造模型
1か月前
NISSHA株式会社
表示パネル装置
8日前
アルプスアルパイン株式会社
表示装置
17日前
株式会社半導体エネルギー研究所
表示装置、画像データの処理方法
1か月前
アルプスアルパイン株式会社
情報処理システム
1か月前
日本放送協会
情報提示システム、領域抽出装置及びプログラム
28日前
セイコーエプソン株式会社
表示装置及び電子機器
29日前
株式会社小糸製作所
照明表示装置
28日前
大日本印刷株式会社
学習支援装置及びプログラム
1か月前
日本放送協会
情報提示システム、領域抽出装置及びプログラム
14日前
株式会社クボタ
表示装置及び表示装置を備えた車両
14日前
リンテック株式会社
擬似接着ラベル
1か月前
続きを見る
他の特許を見る