TOP
|
特許
|
意匠
|
商標
特許ウォッチ
Twitter
他の特許を見る
公開番号
2025164468
公報種別
公開特許公報(A)
公開日
2025-10-30
出願番号
2024068470
出願日
2024-04-19
発明の名称
ウレタン断熱材を形成する施工方法、建築構造体、及び断熱構造体
出願人
BASF INOACポリウレタン株式会社
,
フクビ化学工業株式会社
代理人
弁理士法人グランダム特許事務所
主分類
E04B
1/76 20060101AFI20251023BHJP(建築物)
要約
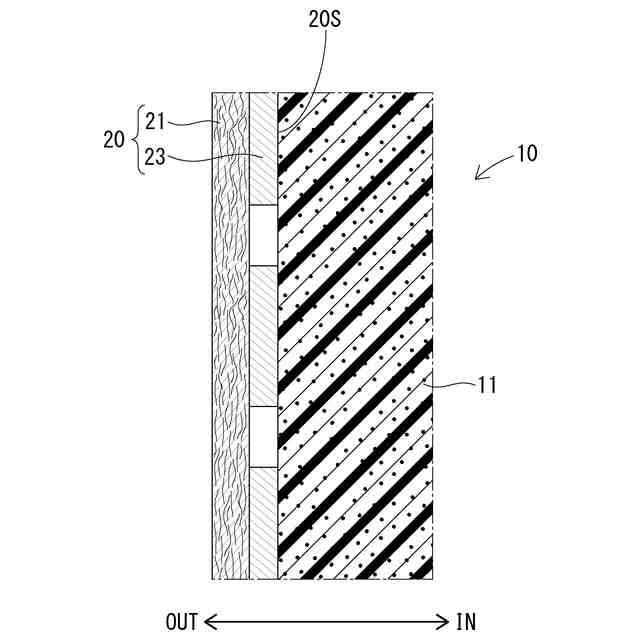
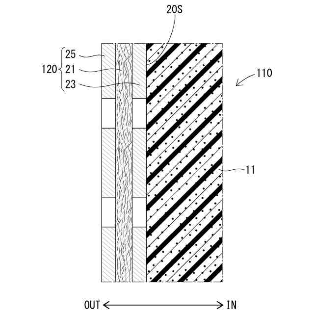
【課題】ウレタン断熱材の空隙や底上がり、透湿防水シートの透湿性の低下の少なくとも一部を解決する技術を提供する。
【解決手段】吹き付け面20Sが多孔性樹脂フィルム層23で構成された建築用透湿防水シート20に、ウレタン原料を建築現場で吹き付けてウレタン断熱材11を形成する施工方法。
【選択図】図2
特許請求の範囲
【請求項1】
吹き付け面が多孔性樹脂フィルム層で構成された建築用透湿防水シートに、ウレタン原料を建築現場で吹き付けてウレタン断熱材を形成する施工方法。
続きを表示(約 160 文字)
【請求項2】
請求項1に記載の施工方法によって形成された建築物の壁又は屋根である建築構造体。
【請求項3】
吹き付け面が多孔性樹脂フィルム層で構成された建築用透湿防水シートと、
前記建築用透湿防水シートに、ウレタン原料を吹き付けて形成されたウレタン断熱材と、を備える断熱構造体。
発明の詳細な説明
【技術分野】
【0001】
本開示は、ウレタン断熱材を形成する施工方法、建築構造体、及び断熱構造体に関する。
続きを表示(約 1,100 文字)
【背景技術】
【0002】
建築物には外部からの雨水等の侵入を防ぎ、かつ、内部の湿気を外部に放出できる透湿防水シートが広く使用されている。汎用的な透湿防水シートは、屋外側に透湿防水フィルム層、屋内側に補強層を構成したもので、補強層は一般的にはポリエステル不織布が使用される。
【0003】
特許文献1は、面材表面上に硬質ウレタンフォーム断熱材を積層してなる断熱構造を開示する。面材として、不織布の片面に合成樹脂微多孔質膜を被覆又は積層したシート材も使用できると記載されている。
【0004】
特許文献2は、軟質面材に硬質ポリウレタンフォーム原液を室内側から吹き付けて発泡硬化させて形成される断熱層からなる建築物の断熱構造を開示する。具体例として、軟質面材として、透湿防水性を有するシート材を接着せずに2層重ねて積層したものを使用した試験体が記載されている。
【先行技術文献】
【特許文献】
【0005】
特開2006-57398号公報
特開2014-148800号公報
【発明の概要】
【発明が解決しようとする課題】
【0006】
特許文献1及び特許文献2には、ウレタン原料の吹き付け面の構成について明記されていない。通常、不織布と多孔性樹脂フィルム層とを備える透湿防水シートは、吹き付け面が不織布で構成される。
【0007】
透湿防水シートの不織布側の面にウレタン原料を吹き付けると、ウレタン断熱材に空隙が形成されたり、ウレタン断熱材が底上がりしたりするという課題がある。また、透湿防水シートの不織布側の面にウレタン原料を吹き付けると、透湿防水シートの透湿性が低下するという課題もある。
本開示は、上記課題の少なくとも一部を解決するためのものであり、以下の形態として実現できる。
【課題を解決するための手段】
【0008】
吹き付け面が多孔性樹脂フィルム層で構成された建築用透湿防水シートに、ウレタン原料を建築現場で吹き付けてウレタン断熱材を形成する施工方法。
【発明の効果】
【0009】
本開示によれば、上記課題の少なくとも一部が解決される。例えば、ウレタン断熱材の空隙や底上がりを抑制できる。また、透湿防水シートの透湿性の低下を抑制できる。
【図面の簡単な説明】
【0010】
実施形態に係る断熱構造体を模式的に示す断面図である。
図1の一部を拡大して示す拡大断面図である。
変形例に係る断熱構造体の一部を拡大して示す拡大断面図である。
【発明を実施するための形態】
(【0011】以降は省略されています)
この特許をJ-PlatPat(特許庁公式サイト)で参照する
関連特許
個人
接合構造
2か月前
個人
タッチミー
2か月前
個人
屋台
2か月前
個人
野良猫ハウス
3か月前
個人
転落防止用手摺
3か月前
個人
フェンス
3か月前
個人
安心補助てすり
1か月前
ニチハ株式会社
建築板
3か月前
個人
ベンリナアングル
2か月前
個人
居住車両用駐車場
3か月前
個人
筋交自動設定装置
2か月前
積水樹脂株式会社
柵体
3か月前
個人
免震建築構造
5日前
個人
熱抵抗多層断熱建材
3か月前
個人
補強部材
3か月前
個人
柵
4か月前
株式会社シンケン
住宅
1か月前
個人
住宅の省エネ方法
1日前
株式会社フジタ
合成床
5日前
個人
防災建築物
1か月前
成友建設株式会社
建物
3か月前
個人
身体用シェルター
2か月前
鹿島建設株式会社
壁体
3か月前
個人
身体用シェルター
2か月前
株式会社熊谷組
床構成材
2か月前
株式会社熊谷組
木質材料
2か月前
三協立山株式会社
構造体
2か月前
三協立山株式会社
構造体
1か月前
株式会社熊谷組
吊り治具
2か月前
三洋工業株式会社
床構造
1か月前
三協立山株式会社
構造体
1か月前
個人
可搬型供養墓
2か月前
イワブチ株式会社
組立柱
3か月前
三協立山株式会社
構造体
2か月前
インターマン株式会社
天井構造
3か月前
三協立山株式会社
構造体
28日前
続きを見る
他の特許を見る