TOP
|
特許
|
意匠
|
商標
特許ウォッチ
Twitter
他の特許を見る
10個以上の画像は省略されています。
公開番号
2025162763
公報種別
公開特許公報(A)
公開日
2025-10-28
出願番号
2024066167
出願日
2024-04-16
発明の名称
鉄骨梁と木質床版との接合部構造
出願人
住友林業株式会社
代理人
弁理士法人翔和国際特許事務所
主分類
E04B
5/02 20060101AFI20251021BHJP(建築物)
要約
【課題】簡易に且つスムーズに、木質床版の周縁部分を、鉄骨梁の上面部に一体として接合できる鉄骨梁と木質床版との接合部構造を提供する。
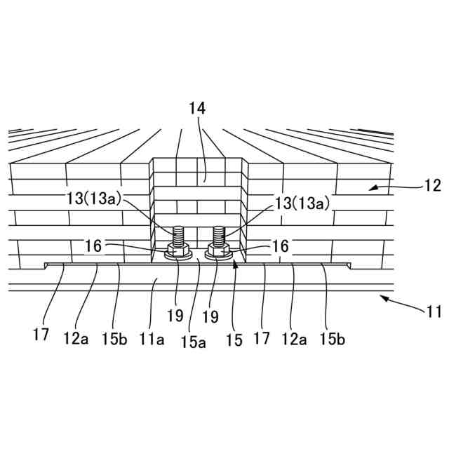
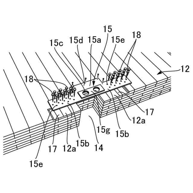
【解決手段】鉄骨梁11の上面部から立設して固着された接合ボルト部材13と、周縁部分の切込み凹部14に接合ボルト部材13を配設した状態で、周縁部分が鉄骨梁11の上面部に載置される木質床版12とからなる。木質床版12の下面側には、帯状金物15が、切込み凹部14を挟んだ両側の被留付け領域12aに留付け部15bを留め付けて固定されている。切込み凹部14に臨んで配置される帯状金物15の中央部分15aには、接合ボルト部材13と対応させてボルト締着穴15cが形成されている。ボルト締着穴15cを通して立設する接合ボルト部材13の先端側からナット部材16を螺着して、帯状金物15の中央部分15aに締着することで、木質床版12の周縁部分を鉄骨梁11の上面部に一体として接合する。
【選択図】図2
特許請求の範囲
【請求項1】
鉄骨梁に支持させて木質床版が設置された構造部分を備える建築物において、木質床版の周縁部分を鉄骨梁の上面部に一体として接合するための接合部構造であって、
前記鉄骨梁の上面部における前記木質床版との接合箇所から立設して固着されている、外周部分に雄ネジ突条を有する接合ボルト部材と、周縁部分に形成された切込み凹部の内側に前記接合ボルト部材を配設した状態で、周縁部分が前記鉄骨梁の上面部に載置される前記木質床版とからなり、
前記木質床版の下面側には、両側の留付け部が前記切込み凹部を挟んだ両側の被留付け領域に各々留め付けられて、帯状金物が固定されており、
前記切込み凹部に臨んで配置される前記帯状金物の中央部分には、前記接合ボルト部材と対応する位置にボルト締着穴が開口形成されていて、前記木質床版の周縁部分が前記鉄骨梁の上面部に載置されている状態では、前記接合ボルト部材が前記ボルト締着穴を通して立設しており、
立設した前記接合ボルト部材の先端側から、前記帯状金物の中央部分にナット部材が締着されていることで、載置された前記木質床版の周縁部分が、前記鉄骨梁の上面部に一体として接合されている鉄骨梁と木質床版との接合部構造。
続きを表示(約 1,100 文字)
【請求項2】
前記木質床版の下面側には、少なくとも前記切込み凹部を挟んだ両側の被留付け領域に、座堀部が加工形成されており、前記帯状金物の両側の留付け部は、これらの座堀部において前記木質床版の下面側に各々留め付けられている請求項1記載の鉄骨梁と木質床版との接合部構造。
【請求項3】
前記ナット部材は、偏心座金を介在させた状態で、前記帯状金物の中央部分の前記ボルト締着穴の周囲に締着されている請求項1又は2記載の鉄骨梁と木質床版との接合部構造。
【請求項4】
前記切込み凹部に臨んで配置される前記帯状金物の中央部分は、前記切込み凹部の全域又は略全域を下方から覆う大きさを備えている請求項1又は2記載の鉄骨梁と木質床版との接合部構造。
【請求項5】
前記帯状金物の両側の前記留付け部は、木ビス、釘等の留付け具を、留付け孔を介して打ち込むことで、前記切込み凹部を挟んだ両側の前記被留付け領域に各々留め付けられており、前記留付け部の下面側における前記留付け孔の開口縁部分には、前記留付け具の頭部を収納させる頭部座堀りが形成されている請求項1又は2記載の鉄骨梁と木質床版との接合部構造。
【請求項6】
前記帯状金物の両側の前記留付け部は、木ビス、釘等の留付け具を、留付け孔を介して打ち込むことで、前記切込み凹部を挟んだ両側の前記座堀部に各々留め付けられており、前記座堀部は、打ち込まれた前記留付け具の頭部を、前記座堀部の外側部分の前記木質床版の下面から突出させない深さとなるように形成されている請求項2記載の鉄骨梁と木質床版との接合部構造。
【請求項7】
前記帯状金物の中央部分の下面側に、増厚プレート片が一体として接合されていることで、前記帯状金物の中央部分が前記座堀部の深さと同様の厚さとなるように増厚されている請求項6記載の鉄骨梁と木質床版との接合部構造。
【請求項8】
前記切込み凹部が、矩形状の平面形状を備えている請求項1又は2記載の鉄骨梁と木質床版との接合部構造。
【請求項9】
前記接合ボルト部材は、前記木質床版の周縁部分が載置されるのに先立って、前記鉄骨梁の上面部における前記木質床版との接合箇所に立設して、予め固着されたものとなっている請求項1又は2記載の鉄骨梁と木質床版との接合部構造。
【請求項10】
前記接合ボルト部材は、前記鉄骨梁の上面部における複数の前記木質床版との接合箇所から立設して固着されており、前記木質床版の周縁部分には、下面側に前記帯状金物が固定された前記切込み凹部が、複数箇所に形成されている請求項1又は2記載の鉄骨梁と木質床版との接合部構造。
発明の詳細な説明
【技術分野】
【0001】
本発明は、鉄骨梁と木質床版との接合部構造に関し、特に、鉄骨梁に支持させて木質床版が設置された構造部分を備える建築物において、木質床版の周縁部分を鉄骨梁の上面部に一体として接合するための接合部構造に関する。
続きを表示(約 2,100 文字)
【背景技術】
【0002】
近年、木造系材料と金属系材料とを組み合わせたハイブリッド構造の建築物が種々開発されており、これらのハイブリッド構造の建築物では、例えばH形鋼からなる鉄骨梁に支持させて、これの上面部に例えば直交集成材(CLT)からなる木質床版を設置して、一体として接合した構造部分を含んでいる場合がある。
【0003】
また、鉄骨梁に支持させて、これの上面部に木質床版を設置して一体として接合する方法としては、好ましくはスタッドボルトを介して木質床版を鉄骨梁の上面部に留め付けて接合する方法が、従来より用いられており、このような従来の接合方法では、鉄骨梁の上面部に複数のスタッドボルトを立設させて取り付けておくと共に、木質床版の周縁部分には複数のスタッド挿通穴を形成しておき、形成された複数のスタッド挿通穴に複数のスタッドボルトを各々挿通するようにしながら、木質床版の周縁部分を鉄骨梁の上面部に載置し、しかる後にスタッドボルトが挿通されたこれらの複数のスタッド挿通穴の各々に、樹脂を充填して硬化させることによって、鉄骨梁の上面部に木質床版の周縁部分を一体として固定するようになっている。
【0004】
一方、上述の従来のスタッドボルトを介した鉄骨梁と木質床版との接合方法では、鉄骨梁の上面部から立設する複数のスタッドボルトを、木質床版の周縁部分に形成された複数のスタッド挿通穴の各々に、同時に挿通できるようにするには、これらの全てが合致するように、複数のスタッドボルトを所定の位置から各々精度良く立設させると共に、複数のスタッド挿通穴を所定の位置に各々精度良く形成する必要があり、スタッドボルトやスタッド挿通穴の位置が1か所でもずれていると、鉄骨梁に支持させて、これの上面部に木質床版の周縁部分をスムーズに載置することが困難になる。
【0005】
このようなことから、鉄骨梁の上面部に木質床版の周縁部分を載置した後に、複数のスタッドボルトを、複数のスタッド挿通穴に各々挿通した状態で、公知の溶接ガンを用いて、鉄骨梁の上面部にスタッド溶接することによって、スタッドボルトとスタッド挿通穴との位置ずれを回避できるようにした建築工法が開示されている(例えば、特許文献1参照)。
【0006】
ここで、特許文献1に記載の建築工法では、鉄骨梁と木質床版との間に、後述するスタッド溶接時の熱の逃げ場を確保するためのスペーサーを噛ませた状態で、複数のスタッド挿通穴が設けられた木質床版の周縁部分を、鉄骨梁の上面部に設置するようになっている。またしかる後に、設置した木質床版の上から、周縁部分のスタッド挿通穴に、中間部に切り込みを有したスタッドボルトを挿通させ、厚みのある木質床版の上からの施工が可能となるように改良された、公知の溶接ガンの先端に特殊なアタッチメントを装着した装置を用いて、スタッドボルトを鉄骨梁の上面部から立設させた状態となるように、スタッド溶接して固定する。さらに、溶接後に、スタッドボルトの木質床版から上方に突出する部分を、切り込みを介して切断した後に、スタッドボルトが内部に立設する各々のスタッド挿通穴に、樹脂を充填して硬化させることで、木質床版を鉄骨梁の上面部に一体として接合するようになっている。
【先行技術文献】
【特許文献】
【0007】
特開2019-27198号公報
【発明の概要】
【発明が解決しようとする課題】
【0008】
しかしながら、特許文献1に記載の建築工法では、木質床版を鉄骨梁の上面部に設置した後に、スタッド挿通穴を介してスタッドボルトをスタッド溶接する際に、スタッドボルトの根元部分の溶接個所を目視によって確認することが難しく、溶接不良のスタッドボルトが混在する可能性があるといった技術的課題があると共に、仮に溶接不良が確認された場合や、スタッド溶接後にスペーサーを取り外す際には、木質床版を一旦吊り上げる必要を生じて手間がかかることになる。
【0009】
また、上述の従来の接合方法の場合も含めて、複数のスタッドボルトが挿通された複数のスタッド挿通穴の各々に、樹脂を充填して硬化させる場合、充填した樹脂が硬化するまでには、相当の時間を要することになるので、複数のスタッドボルトが挿通された複数のスタッド挿通穴の各々に、樹脂を充填して硬化させることなく、より簡易に且つスムーズに、木質床版の周縁部分を鉄骨梁の上面部に一体として接合できるようにする、新たな技術の開発が望まれている。
【0010】
本発明は、スタッドボルトが挿通されたスタッド挿通穴の各々に、樹脂を充填して硬化させることなく、より簡易に且つスムーズに、木質床版の周縁部分を鉄骨梁の上面部に一体として接合することのできる鉄骨梁と木質床版との接合部構造を提供することを目的とする。
【課題を解決するための手段】
(【0011】以降は省略されています)
この特許をJ-PlatPat(特許庁公式サイト)で参照する
関連特許
住友林業株式会社
鉄骨梁と木質床版との接合部構造
1か月前
住友林業株式会社
木質繊維板、樹脂成形物、ペレットの製造方法、樹脂成形物の製造方法
1か月前
個人
接合構造
2か月前
個人
タッチミー
2か月前
個人
屋台
2か月前
個人
野良猫ハウス
3か月前
個人
安心補助てすり
1か月前
個人
フェンス
3か月前
個人
転落防止用手摺
3か月前
個人
居住車両用駐車場
3か月前
積水樹脂株式会社
柵体
2か月前
個人
ベンリナアングル
2か月前
ニチハ株式会社
建築板
3か月前
個人
筋交自動設定装置
2か月前
個人
熱抵抗多層断熱建材
3か月前
個人
免震建築構造
3日前
個人
柵
4か月前
個人
補強部材
3か月前
鹿島建設株式会社
壁体
3か月前
個人
身体用シェルター
2か月前
株式会社フジタ
合成床
3日前
株式会社シンケン
住宅
1か月前
個人
防災建築物
1か月前
個人
身体用シェルター
2か月前
成友建設株式会社
建物
3か月前
株式会社熊谷組
吊り治具
2か月前
株式会社熊谷組
床構成材
2か月前
三協立山株式会社
構造体
2か月前
三協立山株式会社
構造体
1か月前
三協立山株式会社
構造体
26日前
三洋工業株式会社
床構造
1か月前
株式会社熊谷組
木質材料
2か月前
個人
可搬型供養墓
2か月前
株式会社大林組
接合構造
1か月前
三協立山株式会社
構造体
2か月前
三協立山株式会社
構造体
2か月前
続きを見る
他の特許を見る