TOP
|
特許
|
意匠
|
商標
特許ウォッチ
Twitter
他の特許を見る
10個以上の画像は省略されています。
公開番号
2025162657
公報種別
公開特許公報(A)
公開日
2025-10-28
出願番号
2024065977
出願日
2024-04-16
発明の名称
ゴルフ用靴下
出願人
イーグルワン合同会社
代理人
個人
主分類
A41B
11/00 20060101AFI20251021BHJP(衣類)
要約
【課題】運動能力が高いユーザーが用いた場合にも、足と靴下との間の滑りおよび靴下と靴との間の滑りを十分に防止することができ、最大の運動パフォーマンスを発揮することができる靴下を提供する。
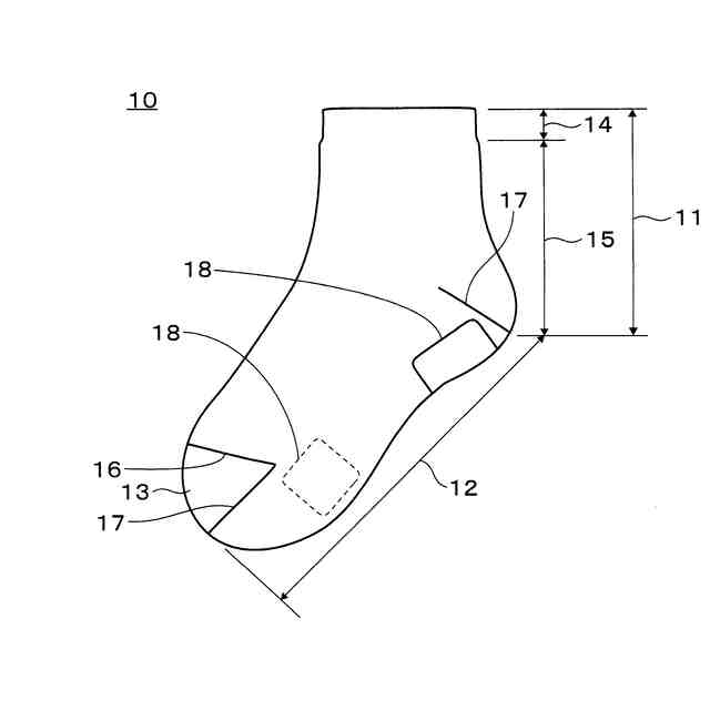
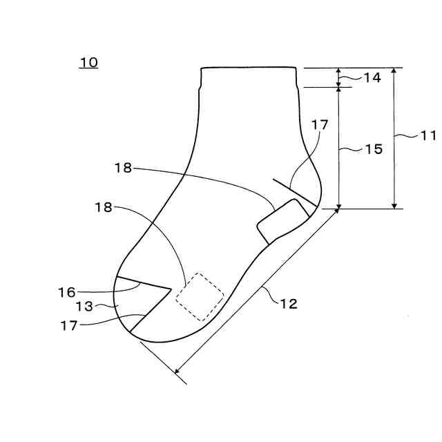
【解決手段】靴下は、フット部(12)の足の土踏まずに対応する部分を除く部分、つま先部(13)およびレッグ部(15)の足のかかと上端からくるぶし上端までの部分に対応する部分などが、単繊維径10~3000nmの第1ポリエステル繊維フィラメント糸と単繊維径がより大の第2ポリエステル繊維フィラメント糸とを含む滑り止め布帛により構成され、かつ布帛の一方の面に第1ポリエステル繊維フィラメント糸が露出している。フット部の底面の履いたときに足の母指球およびかかとに対応する部分などにゴムからなる突出部(18)が設けられている。この靴下の内側の面が滑り止め布帛の第1ポリエステル繊維フィラメント糸が露出している面により構成される。
【選択図】図1A
特許請求の範囲
【請求項1】
単繊維径が10nm以上3000nm以下の第1ポリエステル繊維フィラメント糸と単繊維径が上記第1ポリエステル繊維フィラメント糸より大の第2ポリエステル繊維フィラメント糸とを含み、かつ布帛の表面および裏面のどちらか一方の面に上記第1ポリエステル繊維フィラメント糸が露出している滑り止め布帛により構成された、フット部のうちの少なくとも、履いたときに足の土踏まずに対応する部分を除いた部分、つま先部およびレッグ部のうちの少なくとも、履いたときに足のかかと上端からくるぶし上端までの部分に対応する部分と、
フット部の底面の少なくとも、履いたときに足の母指球およびかかとに対応する部分にそれぞれ設けられたゴムからなる突出部と、
を有し、
履いたときに足が接触する内側の面が上記滑り止め布帛の上記第1ポリエステル繊維フィラメント糸が露出している面により構成されている靴下。
続きを表示(約 280 文字)
【請求項2】
上記第1ポリエステル繊維フィラメント糸の単繊維径が510nm以上2000nm以下である請求項1記載の靴下。
【請求項3】
上記第1ポリエステル繊維フィラメント糸の単繊維径が700nmである請求項1記載の靴下。
【請求項4】
上記突出部は、フット部の底面の、履いたときに足の土踏まずに対応する部分を除いた部分全体に亘って互いに分離して複数設けられている請求項1~3のいずれか一項記載の靴下。
【請求項5】
上記突出部は、フット部の底面の全体に亘って設けられている請求項1~3のいずれか一項記載の靴下。
発明の詳細な説明
【技術分野】
【0001】
この発明は靴下に関し、特に、例えばゴルフなどの体軸回転運動を伴うスポーツを行う場合に用いて好適なものである。
続きを表示(約 2,700 文字)
【背景技術】
【0002】
体軸回転運動を伴うスポーツ、例えばゴルフでは、運動パフォーマンスを最大限に発揮するためには、足と靴下との間の滑りおよび靴下と靴との間の滑りを防止することが重要である。
【0003】
従来、各種の繊維製品に用いることを目的として、高い表面摩擦抵抗およびグリップ力を有する滑り止め布帛が提案されている(例えば、特許文献1、2参照)。特許文献1、2に記載の滑り止め布帛は、単繊維径が10~3000nmの熱可塑性合成繊維フィラメント糸Aと単繊維径が熱可塑性合成繊維フィラメント糸Aより大、例えば10~50μmの熱可塑性合成繊維フィラメント糸Bとを含み、かつ布帛の表面および裏面のどちらか一方の面に熱可塑性合成繊維フィラメント糸Aが露出している。この滑り止め布帛では、熱可塑性合成繊維フィラメント糸Aおよび熱可塑性合成繊維フィラメント糸Bの代表例はポリエステル繊維フィラメント糸である。
【0004】
特許文献1、2に記載の滑り止め布帛は、単繊維径が10~3000nmの熱可塑性合成繊維フィラメント糸Aの一種として、ナノフロント(登録商標)と呼ばれる単繊維径が700nmの超極細ポリエステル繊維を用いたものが市販されている(非特許文献1、2参照)。そして、この滑り止め布帛を用いた靴下(商品名「ナノバイトソックス」)が市販されている(非特許文献3参照)。この靴下では、フット部の底面の足の土踏まずに対応する部分から両側面を通って口ゴム部に至る帯状の部分を除いた部分が上述の滑り止め布帛により構成されていると考えられる。この滑り止め布帛のうちの履いたときに足の甲の部分(足背部)に対応する部分以外の部分では、熱可塑性合成繊維フィラメント糸Aは靴下の底面を含む表面側に露出して粘着性を有するのに対し、それらの反対側の面は粘着性がなく、単繊維径が熱可塑性合成繊維フィラメント糸Aより大の熱可塑性合成繊維フィラメント糸Bが露出していると考えられる。この滑り止め布帛のうちの履いたときに足の甲の部分(足背部)に対応する部分は、メッシュ構造となっていて、ドライな着用感と曲げ伸ばしやすさをサポートすると謳っているが、この部分の両面が粘着性を有することから、両面とも熱可塑性合成繊維フィラメント糸Aが露出していると推定される。
【先行技術文献】
【特許文献】
【0005】
特開2020-172725号公報
特許第7267820号公報
【非特許文献】
【0006】
[令和6年2月22日検索]、インターネット〈URL:https://nanofront.jp〉
[令和6年2月22日検索]、インターネット〈URL:https://www.teijin.co.jp/rd/technology/pnf/ 〉
[令和6年2月22日検索]、インターネット〈URL:https://zerofit.com/blogs/特集/zerofit-socks-lineup 〉
[令和6年2月22日検索]、インターネット〈URL:https://item.rakuten.co.jp/kutsushitaya/c/0000000235/ 〉
【発明の概要】
【発明が解決しようとする課題】
【0007】
しかしながら、本発明者の検討によれば、非特許文献3記載の靴下は、「足とソックス間の滑り、ソックスとシューズ間の滑りを極限まで解消」と謳っているものの、例えばプロゴルファーなどの運動能力が高いユーザーにとっては、足と靴下との間の滑りおよび靴下と靴との間の滑りを防止する効果は必ずしも十分ではなく、改善の余地があった。
【0008】
そこで、この発明が解決しようとする課題は、プロゴルファーなどの運動能力が高いユーザーが用いた場合にも、足と靴下との間の滑りおよび靴下と靴との間の滑りを十分に防止することができ、最大の運動パフォーマンスを発揮することができる靴下を提供することである。
【課題を解決するための手段】
【0009】
上記課題を解決するために、この発明は、
単繊維径が10nm以上3000nm以下の第1ポリエステル繊維フィラメント糸と単繊維径が上記第1ポリエステル繊維フィラメント糸より大の第2ポリエステル繊維フィラメント糸とを含み、かつ布帛の表面および裏面のどちらか一方の面に上記第1ポリエステル繊維フィラメント糸が露出している滑り止め布帛により構成された、フット部のうちの少なくとも、履いたときに足の土踏まずに対応する部分を除いた部分、つま先部およびレッグ部のうちの少なくとも、履いたときに足のかかと上端からくるぶし上端までの部分に対応する部分と、
フット部の底面の少なくとも、履いたときに足の母指球およびかかとに対応する部分にそれぞれ設けられたゴムからなる突出部と、
を有し、
履いたときに足が接触する内側の面が上記滑り止め布帛の上記第1ポリエステル繊維フィラメント糸が露出している面により構成されている靴下である。
【0010】
この靴下においては、フット部のうちの少なくとも、履いたときに足の土踏まずに対応する部分を除いた部分、つま先部およびレッグ部のうちの少なくとも、履いたときに足のかかと上端からくるぶし上端までの部分に対応する部分が上記の滑り止め布帛により構成され、履いたときに足が接触する内側の面が上記の滑り止め布帛の第1ポリエステル繊維フィラメント糸が露出している面により構成されていることにより、ユーザーがこの靴下を履き靴を履いて体軸回転運動などを行ったときに、足と靴下との間の滑りを効果的に防止することができる。また、フット部の底面の少なくとも、履いたときに足の母指球およびかかとに対応する部分にゴムからなる突出部が設けられていることにより、ユーザーが体軸回転運動などを行ったときに、靴下と靴との間の滑りを効果的に防止することができる。この靴下においては、足と靴下との間の滑りを最も効果的に防止するために、典型的には、フット部、つま先部およびレッグ部の全体が上記の滑り止め布帛により構成され、履いたときに足が接触する内側の面がこの滑り止め布帛の第1ポリエステル繊維フィラメント糸が露出している面により構成される。なお、靴下の各部の名称は靴下辞典(非特許文献4)に準拠した。
(【0011】以降は省略されています)
この特許をJ-PlatPat(特許庁公式サイト)で参照する
関連特許
イーグルワン合同会社
ゴルフ用靴下
1か月前
個人
衿芯
4か月前
個人
和服
6か月前
個人
シャツ
2か月前
個人
中間着
21日前
個人
二部式袍
10か月前
個人
ネクタイ
2か月前
個人
下着
5か月前
個人
靴下
11か月前
個人
衣装
7か月前
個人
マスク
2か月前
個人
簡単帯
11か月前
個人
防虫服
21日前
個人
多機能装身具
3か月前
個人
ショーツ
11か月前
個人
:マスクカバー
3か月前
個人
手首穴付き手袋
12か月前
個人
シャツ改造方法
7か月前
個人
健康靴下
12か月前
東レ株式会社
防護服
1か月前
個人
作業補助ミトン
9か月前
個人
肩章付き衣服。
5か月前
有限会社原電業
指手袋
12か月前
東洋紡株式会社
マスク
1か月前
個人
ソフトキャミブラ
7か月前
株式会社聖
手足保護具
1か月前
個人
手袋
8か月前
株式会社聖
手足保護具
10か月前
個人
足首用サポーター
9か月前
個人
車椅子用グローブ
3か月前
個人
内フィルムマスク
1か月前
個人
レインコート
6か月前
興和株式会社
マスク
9か月前
株式会社マルイチ
二部式帯
1か月前
グンゼ株式会社
衣服
7か月前
個人
和装下着の半衿カバー
12か月前
続きを見る
他の特許を見る