TOP
|
特許
|
意匠
|
商標
特許ウォッチ
Twitter
他の特許を見る
10個以上の画像は省略されています。
公開番号
2025160848
公報種別
公開特許公報(A)
公開日
2025-10-23
出願番号
2024074101
出願日
2024-04-10
発明の名称
ボルトに締め込むナットの緩み止の構造
出願人
個人
代理人
主分類
F16B
39/02 20060101AFI20251016BHJP(機械要素または単位;機械または装置の効果的機能を生じ維持するための一般的手段)
要約
【課題】本発明は頭付ボルトをねじ込んだとき、振動等により生じる緩みを確実に、しかも簡単な作業により制止することである。
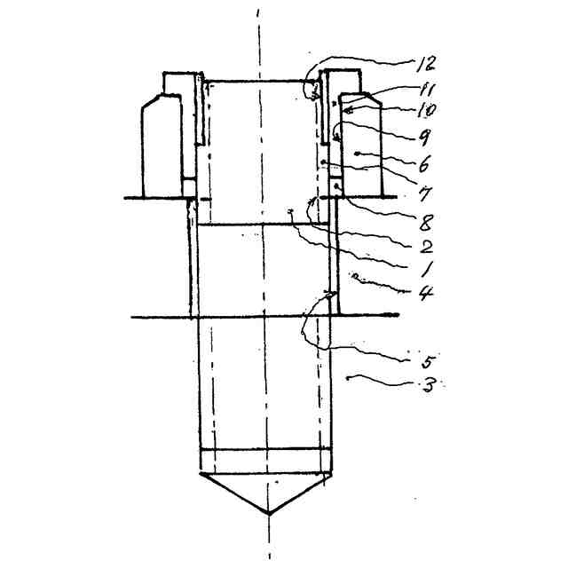
【解決手段】ボルトに締め込むナットの緩み止の構造において、締付ナット(6)の雌ねじ(7)に縦方向に1~4本の角溝(8)を切削しておき、そしてボルト(1)を植込みの方法により、下部材(3)に固定した後、上部材(4)をそのボルト孔(5)を通して下部材の上に載せ、締付ナット(6)をボルトに締付けた後、締付ナットの角溝(8)に強く嵌合する外形を持つ頭付角釘(10)を上から打撃又は圧入する。ボルトの雄ねじ(2)に接する頭付角釘の上半部(11)には、数本の縦方向の焼入硬化した山筋(12)が設けられており、この頭付角釘を押し下げることにより、この山筋がボルトの雄ねじ(2)を横断しながら降下し食い込むことによりボルトに対し、頭付角釘を抱いた締付けナットの回転を阻止する。
【選択図】図1
特許請求の範囲
【請求項1】
ボルトに締めこむナットの緩み止の構造において、締付ナット(6)の雌ねじ(7)に縦方向に1~4本の角溝(8)を切削しておき、そしてボルト(1)を植込みの方法により、下部材(3)に固定した後、上部材(4)をそのボルト孔(5)を通して下部材の上に載せ、締付ナットをボルトに締付けた後、締付ナットの角溝(8)に強く嵌合する外形を持つ頭付角釘(10)を上から打撃又は圧入する。ボルトの雄ねじ(2)に接する頭付角釘の上半部(11)には数本の縦方向の焼入硬化した山筋(12)が設けられており、この頭付角釘を押し下げることにより、この山筋がボルトの雄ねじ(2)を横断しながら降下し食い込むことによりボルトに対して、頭付角釘を抱いた締付ナットの回転を阻止するようにした緩み止め締付ナットの構造。
続きを表示(約 94 文字)
【請求項2】
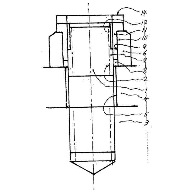
請求項1に記載した1~4本の頭付角釘(10)を円環(14)に固定して締付ナットの角溝(8)に押下げボルト(1)と結合するようにした締付ナットの緩み止の構造。
発明の詳細な説明
【技術分野】
【0001】
本発明は強い締付け力を必要とするボルトに締め込んだナットの緩み止を行う方法である。
続きを表示(約 1,700 文字)
【背景技術】
【0002】
緩み止のためボルトにナットを固定する方法としては、ナットとボルトを貫通する共孔を開けここに割ピンを押込んで固定する方法があるが、この穿孔は現地で行うこともあり面倒であり、又一度ねじ戻しの後、再びナットを締めこむときは合致しない欠点があり、又ころがり軸受を押え込む時に使用するナットは細目ねじであり、大きな荷重には耐えきれず、しかも軸には溝加工を必要とするため広範囲に使用する並目ねじボルトに用いることは不適である、又ねじ面の摩擦力を高めるためのダブルナット式の緩み止ナットもあるが、この効果は不明である。
【発明の開示】
【発明が解決しようとする課題】
【0003】
本発明はボルトに締込むナットが強振動により緩み、脱落することを防ぐものである。
【課題を解決するための手段】
【0004】
締付けナット(6)の雌ねじ(7)に縦方向に1~4本の角溝(8)を切削しておき、そしてボルト(1)を植込みの方法により、下部材(3)に固定した後、上部材(4)をそのボルト孔(5)を通して下部材の上に載せ、締付ナット(6)をボルトに締付けた後、締付ナットの角溝(8)に強く嵌合する外形を持つ頭付角釘(10)を上から打撃又は圧入する。ボルトの雄ねじ(2)に接する頭付角釘の上半部(11)には数本の縦方向の焼入硬化した山筋(12)が設けられており、この頭付角釘を押し下げることにより、この山筋がボルトの雄ねじ(2)を横断しながら降下し食い込むことによりボルトに対して、頭付角釘を抱いた締付ナットの回転を阻止するようにした緩み止め締付ナットの構造。
【0005】
1~4本の頭付角釘(10)を円環(14)に固定して締付ナットの角溝(8)に押下げ、ボルト(1)と結合するようにする。
【発明の効果】
【0006】
本発明の実施によりボルトに締付ナットを強く締め込んだ後、確実な緩み止が可能になり、鉄道車両等振動の激しいナットの脱落を防止しうるようになる。
【図面の簡単な説明】
【0007】
本発明の実施形態の一例として、ナットに2本の角釘を打込んだ状態の縦断面図
図1の側面図
図1の平面図
図1、図2及び図3、に組込まれている角釘の正面図
図4の側面図
本発明の実施形態の一例として頭付角釘の山筋上に鋸歯を設けた角釘の正面図
本発明の実施形態の一例として円環に固定した角釘を打込んだ状態の縦断面図
図7の側面図
図7の平面図
図7、図8及び図9に組込まれている角釘の正面図
図10の側面図
【発明を実施するための形態】
【0008】
締付ナット(6)の雌ねじ(7)に、縦方向に1~4本の角溝(8)を切削しておき、そしてボルト(1)を植込みの方法により下部材(3)に固定した後、上部材(4)をそのボルト孔(5)を通して下部材の上に載せ、締付ナット(6)をボルトに締め付けた後、締付ナットの角溝(8)に強く嵌合する外形を持つ頭付角釘(10)を上から打撃又は圧入する。ボルトの雄ねじ(2)に接する頭付角釘の上半部(11)には数本の縦方向の焼入硬化した山筋(12)が設けられており、この頭付角釘を押し下げることにより、この山筋がボルトの雄ねじ(2)を横断しながら降下し食い込むことによりボルトに対して、頭付角釘を抱いた締付ナットの回転を阻止するようにした緩み止め締付ナットの構造。
【0009】
1~4本の頭付角釘(10)を円環(13)に固定して締付ナットの角溝(8)に押下げ、ボルト(1)と結合するようにした締付ナットの緩み止の構造。
【0010】
締付ナットの口径が大きい場合、頭付角釘の上半部の数本の山筋(12)に鋸歯(13)を設け、ボルトの雄ねじを容易に横断しうるようにする。
(【0011】以降は省略されています)
この特許をJ-PlatPat(特許庁公式サイト)で参照する
関連特許
個人
留め具
1か月前
個人
鍋虫ねじ
3か月前
個人
回転伝達機構
3か月前
個人
ホース保持具
7か月前
個人
紛体用仕切弁
3か月前
個人
差動歯車用歯形
5か月前
個人
ジョイント
2か月前
個人
給排気装置
1か月前
株式会社不二工機
電磁弁
4か月前
個人
ナット
23日前
個人
地震の揺れ回避装置
4か月前
株式会社不二工機
電磁弁
6か月前
個人
ナット
2か月前
個人
ゲート弁バルブ
8日前
個人
吐出量監視装置
2か月前
カヤバ株式会社
緩衝器
4か月前
兼工業株式会社
バルブ
24日前
カヤバ株式会社
ダンパ
5か月前
カヤバ株式会社
ダンパ
5か月前
柿沼金属精機株式会社
分岐管
3か月前
カヤバ株式会社
緩衝器
4か月前
カヤバ株式会社
緩衝器
1か月前
株式会社ニフコ
クリップ
8日前
株式会社ニフコ
クリップ
1か月前
株式会社ノーリツ
分配弁
1か月前
株式会社不二工機
電動弁
1か月前
株式会社タカギ
水栓装置
3か月前
日東電工株式会社
断熱材
7か月前
株式会社ノーリツ
分配弁
6か月前
個人
固着具と固着具の固定方法
6か月前
株式会社三五
ドライブシャフト
1か月前
株式会社ノーリツ
分配弁
6か月前
株式会社不二工機
電磁弁
3か月前
株式会社奥村組
制振機構
2か月前
個人
固着具と固着具の固定方法
6か月前
株式会社フジキン
ボールバルブ
5か月前
続きを見る
他の特許を見る