TOP
|
特許
|
意匠
|
商標
特許ウォッチ
Twitter
他の特許を見る
10個以上の画像は省略されています。
公開番号
2025160635
公報種別
公開特許公報(A)
公開日
2025-10-23
出願番号
2024063302
出願日
2024-04-10
発明の名称
画像処理装置
出願人
京セラドキュメントソリューションズ株式会社
代理人
弁理士法人TNKアジア国際特許事務所
,
個人
主分類
H04N
1/00 20060101AFI20251016BHJP(電気通信技術)
要約
【課題】画像処理の条件を設定することの繰り返しを抑制できる画像処理装置を提供すること。
【解決手段】画像処理装置は、出力部と、第1読取部と、取得部と、第2読取部と、画像処理部とを備える。出力部は、画像処理の条件を符号化した画像を出力する。第1読取部は、出力部から出力された画像を読み取る。取得部は、第1読取部により読み取られた画像から条件を取得する。第2読取部は、原稿画像を読み取る。画像処理部は、取得部で取得された条件に従って、第2読取部により読み取られた原稿画像を処理する。
【選択図】図2
特許請求の範囲
【請求項1】
画像処理の条件を符号化した画像を出力する出力部と、
前記出力部から出力された前記画像を読み取る第1読取部と、
前記第1読取部により読み取られた前記画像から前記条件を取得する取得部と、
原稿画像を読み取る第2読取部と、
前記取得部で取得された前記条件に従って、前記第2読取部により読み取られた前記原稿画像を処理する画像処理部と
を備える、画像処理装置。
続きを表示(約 230 文字)
【請求項2】
前記画像は、前記条件を、少なくとも模様により表す二次元コードである、請求項1に記載の画像処理装置。
【請求項3】
前記出力部は、前記二次元コードを示す前記画像をシート上に印刷する印刷部である、請求項2に記載の画像処理装置。
【請求項4】
前記画像処理部は、前記取得部で取得された前記条件に従って、前記第2読取部により読み取られた前記原稿画像をシート上に印刷する印刷部である、請求項1又は2に記載の画像処理装置。
発明の詳細な説明
【技術分野】
【0001】
本開示は、画像処理装置に関する。
続きを表示(約 1,200 文字)
【背景技術】
【0002】
背景技術に係る画像処理装置は、互いに独立した複数のジョブデータを記憶可能な記憶手段のジョブデータを印刷可能である(例えば特許文献1参照)。
【先行技術文献】
【特許文献】
【0003】
米国特許出願公開第2006/0050307号明細書
【発明の概要】
【発明が解決しようとする課題】
【0004】
画像処理装置では、ユーザーは、ジョブごとに画像処理の条件(印刷部数やプリント濃度、用紙選択、ソーター、綴じ代、両面コピー等)を繰り返し設定する必要がある。
【0005】
本開示の目的は、画像処理の条件を設定することの繰り返しを抑制できる画像処理装置を提供することにある。
【課題を解決するための手段】
【0006】
本開示の一局面に係る画像処理装置は、出力部と、第1読取部と、取得部と、第2読取部と、画像処理部とを備える。前記出力部は、画像処理の条件を符号化した画像を出力する。前記第1読取部は、前記出力部から出力された前記画像を読み取る。前記取得部は、前記第1読取部により読み取られた前記画像から前記条件を取得する。前記第2読取部は、原稿画像を読み取る。前記画像処理部は、前記取得部で取得された前記条件に従って、前記第2読取部により読み取られた前記原稿画像を処理する。
【発明の効果】
【0007】
本開示によれば、画像処理の条件の繰り返し設定を抑制できる画像処理装置を提供できる。
【図面の簡単な説明】
【0008】
画像処理装置100のハードウェア構成を示す図である。
画像処理装置100の機能ブロックを示す図である。
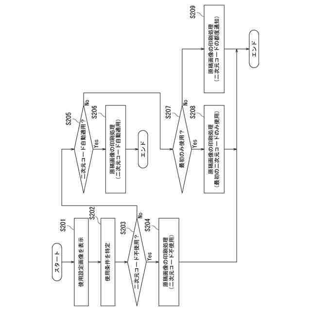
二次元コードの印刷処理のフロー図である。
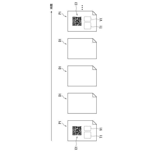
第1印刷物P1を示す図である。
原稿画像の印刷処理のフロー図である。
図5におけるステップS204の内容を示す図である。
図5におけるステップS206の内容を示す図である。
図5におけるステップS208の内容を示す図である。
図5におけるステップS209の内容を示す図である。
【発明を実施するための形態】
【0009】
以下、図面を参照しながら、本開示の実施形態に係る画像処理装置100を説明する。なお、図中、同一又は相当部分については同一の参照符号を附して説明の繰り返しを控える。
【0010】
[画像処理装置100(ハードウェア構成)]
図1において、画像処理装置100は、プリンター、ファクシミリ又は複写機、若しくはこれらの機能を有する複合機である。詳細には、画像処理装置100は、操作表示部1と、ADF2と、読取部3と、供給部4と、印刷部5と、排出部6と、制御部7とを備える。
(【0011】以降は省略されています)
この特許をJ-PlatPat(特許庁公式サイト)で参照する
関連特許
個人
イヤーマフ
4日前
個人
監視カメラシステム
13日前
個人
店内配信予約システム
3か月前
キーコム株式会社
光伝送線路
14日前
WHISMR合同会社
収音装置
1か月前
サクサ株式会社
中継装置
20日前
サクサ株式会社
中継装置
19日前
個人
スキャン式車載用撮像装置
13日前
サクサ株式会社
中継装置
3か月前
キヤノン株式会社
撮像装置
2か月前
キヤノン株式会社
電子機器
3か月前
アイホン株式会社
電気機器
1か月前
サクサ株式会社
無線通信装置
19日前
キヤノン電子株式会社
画像読取装置
12日前
サクサ株式会社
無線システム
18日前
株式会社リコー
画像形成装置
2か月前
個人
ワイヤレスイヤホン対応耳掛け
1か月前
株式会社リコー
画像形成装置
6日前
株式会社リコー
画像形成装置
2か月前
キヤノン電子株式会社
モバイル装置
3か月前
株式会社リコー
画像形成装置
1か月前
サクサ株式会社
無線通信装置
19日前
キヤノン電子株式会社
画像読取装置
1か月前
日本電気株式会社
海底分岐装置
14日前
ブラザー工業株式会社
読取装置
2か月前
個人
発信機及び発信方法
18日前
株式会社ニコン
撮像装置
3か月前
キヤノン株式会社
撮像システム
1か月前
パテントフレア株式会社
超高速電波通信
1か月前
シャープ株式会社
端末装置
11日前
キヤノン電子株式会社
シート材搬送装置
2か月前
パテントフレア株式会社
水中電波通信法
2か月前
国立大学法人電気通信大学
小型光学装置
2か月前
株式会社NTTドコモ
端末
13日前
株式会社JVCケンウッド
通信システム
25日前
有限会社フィデリックス
マイクロフォン
25日前
続きを見る
他の特許を見る