TOP
|
特許
|
意匠
|
商標
特許ウォッチ
Twitter
他の特許を見る
公開番号
2025160143
公報種別
公開特許公報(A)
公開日
2025-10-22
出願番号
2025063592
出願日
2025-04-08
発明の名称
バッテリパック
出願人
三星エスディアイ株式会社
,
SAMSUNG SDI Co., LTD.
代理人
弁理士法人谷・阿部特許事務所
主分類
H01M
50/233 20210101AFI20251015BHJP(基本的電気素子)
要約
【課題】バッテリパックを提供する。
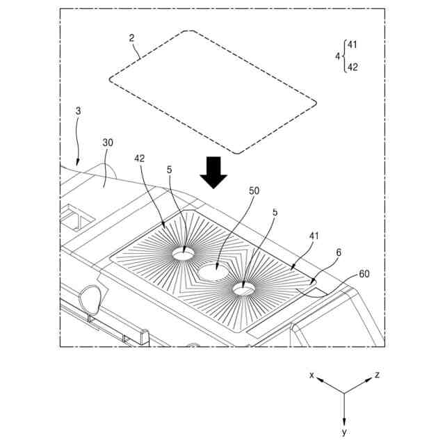
【解決手段】バッテリパックは、ハウジングの内部に収容されるバッテリセル;及び一表面上に付着物が付着される位置を提供するように引込み形成された付着領域を含むハウジング;を含み、付着領域は、貫通部及び凹パターン(Engraved pattern)を含み、貫通部は、ハウジングの内部領域と連通されるように貫設され、凹パターンは、付着物と付着領域との間に空気の流路を提供するように構成されうる。
【選択図】図5
特許請求の範囲
【請求項1】
ハウジングの内部に収容されるバッテリセルと、
一表面上に付着物が付着される位置を提供するように引込み形成された付着領域を含む前記ハウジングと、を含み、
前記付着領域は、貫通部及び凹パターン(Engraved pattern)を含み、
前記貫通部は、前記ハウジングの内部領域と連通されるように貫設され、
前記凹パターンは、前記付着物と前記付着領域との間に空気の流路を提供するように構成された、バッテリパック。
続きを表示(約 640 文字)
【請求項2】
前記付着領域は、前記一表面から第1深さに引込み形成され、
前記凹パターンは、前記一表面から前記第1深さより深い第2深さに引込み形成されることで、前記空気の流路を提供する、請求項1に記載のバッテリパック。
【請求項3】
前記凹パターンは、前記貫通部を取り囲んで形成される、請求項2に記載のバッテリパック。
【請求項4】
前記空気の流路は、
一端部が前記貫通部に連結されるように構成された、請求項3に記載のバッテリパック。
【請求項5】
前記貫通部は、円形断面形状に形成される、請求項4に記載のバッテリパック。
【請求項6】
前記凹パターンは、前記貫通部を中心に対称に形成される、請求項5に記載のバッテリパック。
【請求項7】
前記凹パターンは、前記貫通部を中心に放射状に形成される、請求項6に記載のバッテリパック。
【請求項8】
前記付着領域は、前記凹パターンを取り囲んで引込み形成される浸水防止線を含む、請求項2に記載のバッテリパック。
【請求項9】
前記浸水防止線は、前記第2深さに引込み形成される、請求項8に記載のバッテリパック。
【請求項10】
前記付着領域は、前記貫通部と前記凹パターンをそれぞれ含む第1付着領域及び第2付着領域を含む、請求項9に記載のバッテリパック。
(【請求項11】以降は省略されています)
発明の詳細な説明
【技術分野】
【0001】
本発明は、バッテリパックに関する。
続きを表示(約 940 文字)
【背景技術】
【0002】
二次電池は、繰り返し使用が可能なように複数回の充電及び放電が可能な電池である。 二次電池は、モバイル機器、電気自動車、ハイブリッド自動車、電気自転車、無停電電源供給装置(uninterruptible power supply)などのエネルギー源として使用され、適用される外部機器の種類に応じて、電池の形でも使用され、多数の電池を連結して1つの単位としたモジュール形でも使用される。
【発明の概要】
【発明が解決しようとする課題】
【0003】
本発明が解決しようとする課題は、バッテリパックに関する情報を含み、ハウジング上に付着される付着物が安定して付着されうるバッテリパックを提供しうる。
【0004】
また、本発明が解決しようとする課題は、付着領域と付着物との間に気泡が形成されることを防止しうる。
【課題を解決するための手段】
【0005】
前記課題を解決するためのバッテリパックは、ハウジングの内部に収容されるバッテリセルと、及び、一表面上に付着物が付着される位置を提供するように引込み形成された付着領域を含む前記ハウジングと、を含み、前記付着領域は、貫通部及び凹パターン(Engraved pattern)を含み、前記貫通部は、前記ハウジングの内部領域と連通されるように貫設され、前記凹パターンは、前記付着物と前記付着領域との間に空気の流路を提供するように構成されうる。
【0006】
前記付着領域は、前記一表面から第1深さに引込み形成され、前記凹パターンは、前記一表面から前記第1深さより深い第2深さに引込み形成されることで、前記空気の流路を提供しうる。
【0007】
前記凹パターンは、前記貫通部を取り囲んで形成されうる。
【0008】
前記空気の流路は、一端部が前記貫通部に連結されるように構成されうる。
【0009】
前記貫通部は、円形断面形状に形成されうる。
【0010】
前記凹パターンは、前記貫通部を中心に対称に形成されうる。
(【0011】以降は省略されています)
この特許をJ-PlatPat(特許庁公式サイト)で参照する
関連特許
東ソー株式会社
絶縁電線
今日
個人
フレキシブル電気化学素子
12日前
ローム株式会社
半導体装置
19日前
ローム株式会社
半導体装置
14日前
日新イオン機器株式会社
イオン源
8日前
株式会社ユーシン
操作装置
12日前
太陽誘電株式会社
コイル部品
12日前
オムロン株式会社
電磁継電器
13日前
太陽誘電株式会社
全固体電池
19日前
株式会社ホロン
冷陰極電子源
6日前
株式会社ホロン
冷陰極電子源
19日前
株式会社GSユアサ
蓄電設備
12日前
株式会社GSユアサ
蓄電設備
12日前
株式会社GSユアサ
蓄電装置
19日前
日東電工株式会社
積層体
13日前
トヨタ自動車株式会社
バッテリ
13日前
サクサ株式会社
電池の固定構造
12日前
日本特殊陶業株式会社
保持装置
1日前
日本特殊陶業株式会社
保持装置
19日前
ノリタケ株式会社
熱伝導シート
12日前
日本特殊陶業株式会社
保持装置
19日前
TDK株式会社
電子部品
19日前
トヨタ自動車株式会社
蓄電装置
12日前
トヨタ自動車株式会社
冷却構造
今日
住友電装株式会社
コネクタ
今日
ベストテック株式会社
装置支持具
12日前
ローム株式会社
半導体装置
13日前
株式会社トクヤマ
シリコンエッチング液
6日前
株式会社トクヤマ
シリコンエッチング液
6日前
ローム株式会社
半導体装置
今日
日本製紙株式会社
導電性フィルム
13日前
ローム株式会社
半導体装置
14日前
古河電気工業株式会社
端子
12日前
日本製紙株式会社
導電性フィルム
13日前
トヨタ自動車株式会社
電池パック
5日前
日本特殊陶業株式会社
電極
19日前
続きを見る
他の特許を見る