TOP
|
特許
|
意匠
|
商標
特許ウォッチ
Twitter
他の特許を見る
10個以上の画像は省略されています。
公開番号
2025159873
公報種別
公開特許公報(A)
公開日
2025-10-22
出願番号
2024062705
出願日
2024-04-09
発明の名称
マイクロホン装置
出願人
株式会社オーディオテクニカ
代理人
弁理士法人創光国際特許事務所
主分類
H04R
1/00 20060101AFI20251015BHJP(電気通信技術)
要約
【課題】雨水や汗などの液体の浸入によるマイクロホンユニットの故障が発生しにくいマイクロホン装置を提供する。
【解決手段】マイクロホン装置S1は、使用者の頭部に装着されるヘッドバンドユニット10と、前記ヘッドバンドユニット10から延び出したマイク支持部材81、及び、前記マイク支持部材81に設けられたマイクロホンユニット100を有するマイク部80と、を備え、前記マイクロホンユニット100は、電気音響変換器125と、前記電気音響変換器125を収容する内部空間を有し、前記内部空間と外部とを連通する開口115hが形成されたハウジング110と、前記開口115hを覆うように配置された通気性を有するシート部材121と、を有する。
【選択図】図4
特許請求の範囲
【請求項1】
使用者の頭部に装着されるヘッドバンドユニットと、
前記ヘッドバンドユニットから延び出したマイク支持部材、及び、前記マイク支持部材に設けられたマイクロホンユニットを有するマイク部と、
を備え、
前記マイクロホンユニットは、
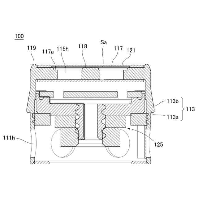
電気音響変換器と、
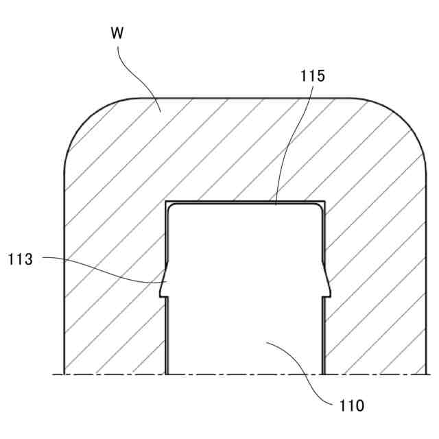
前記電気音響変換器を収容する内部空間を形成し、前記内部空間と外部とを連通する開口を有するハウジングと、
前記開口を覆うように配置された通気性を有するシート部材と、
を有する、
マイクロホン装置。
続きを表示(約 1,100 文字)
【請求項2】
前記ハウジングは、
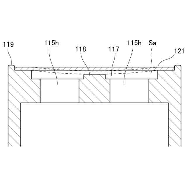
前記シート部材の外周部が固定される固定面と、
前記シート部材から離れる向きに前記固定面から窪むように設けられ、前記開口が形成された凹部領域と、
を有し、
前記凹部領域では、前記シート部材が前記ハウジングの部材に接していない、
請求項1に記載のマイクロホン装置。
【請求項3】
前記凹部領域の中央部に、
前記凹部領域の底面から前記シート部材の側に向かって突出した突起部が形成されており、
前記突起部と前記シート部材との間の距離は、前記凹部領域の底面と前記シート部材との間の距離よりも短い、
請求項2に記載のマイクロホン装置。
【請求項4】
前記電気音響変換器は、指向性軸が前記ハウジングの延在方向に交差する向きとなるように配置されており、
前記ハウジングの側面に前記開口が形成されるとともに、前記開口を覆うように前記シート部材が設けられている、
請求項1又は2に記載のマイクロホン装置。
【請求項5】
前記ハウジングは筒状であり、
前記ハウジングの側面には、前記側面から音を取り込むための複数の孔が形成されており、
前記複数の孔を覆うように通気性を有する保護部材が前記ハウジングに設けられている、
請求項1又は2に記載のマイクロホン装置。
【請求項6】
前記ハウジングは筒状であり、
前記ハウジングの側面には、前記ハウジングに対して取り付けられたウインドスクリーンが抜けるのを防止するために、半径方向外側に突出するように形成された張出し部が設けられている、
請求項1又は2に記載のマイクロホン装置。
【請求項7】
前記ハウジングは筒状であり、筒の端部に前記開口が設けられており、
前記マイク支持部材は、前記マイクロホン装置が前記使用者に装着された状態で、前記使用者の口元に向かって延びる向きで前記ヘッドバンドユニットに固定されており、
前記ハウジングは、前記マイクロホン装置が前記使用者に装着された状態で、前記開口の側が前記ハウジングの基端側よりも下方となるように設けられている、
請求項1又は2に記載のマイクロホン装置。
【請求項8】
前記ハウジングは筒状であり、筒の端部に前記開口が設けられており、
前記ハウジングの前記端部には、前記シート部材を包囲するように環状に形成され、前記シート部材の表面よりも前記シート部材の厚み方向に突出する環状リブが形成されている、
請求項1又は2に記載のマイクロホン装置。
発明の詳細な説明
【技術分野】
【0001】
本発明は、マイクロホン装置に関する。
続きを表示(約 1,200 文字)
【背景技術】
【0002】
従来、使用者の頭部に装着されるヘッドバンドと、集音マイクとを有するヘッドセットタイプの音響デバイスが知られている(例えば、特許文献1を参照)。この種の音響デバイスとしては、一対のスピーカユニットを有するものの他、スピーカユニットを有さず、単にマイクロホンの機能のみを有するものがある。
【先行技術文献】
【特許文献】
【0003】
特開平11-331970号公報
【発明の概要】
【発明が解決しようとする課題】
【0004】
上述したような音響デバイスは使用者の頭部に装着されて使用されるが、例えば、使用者が雨天の状況で装置を使用する場合や、コンサート等で使用者が装置を装着する場合、雨水や汗などの液体がマイクロホンユニットに浸入し、装置が故障するという問題がある。
【0005】
そこで、本発明はこれらの点に鑑みてなされたものであり、雨水や汗などの液体の浸入によるマイクロホンユニットの故障が発生しにくいマイクロホン装置を提供することを目的とする。
【課題を解決するための手段】
【0006】
本発明のマイクロホン装置は、使用者の頭部に装着されるヘッドバンドユニットと、前記ヘッドバンドユニットから延び出したマイク支持部材、及び、前記マイク支持部材に設けられたマイクロホンユニットを有するマイク部と、を備え、前記マイクロホンユニットは、電気音響変換器と、前記電気音響変換器を収容する内部空間を形成し、前記内部空間と外部とを連通する開口を有するハウジングと、前記開口を覆うように配置された通気性を有するシート部材と、を有する。
【0007】
前記ハウジングは、前記シート部材の外周部が固定される固定面と、前記シート部材から離れる向きに前記固定面から窪むように設けられ、前記開口が形成された凹部領域と、を有し、前記凹部領域では、前記シート部材が前記ハウジングの部材に接していなくてもよい。
【0008】
前記凹部領域の中央部に、前記凹部領域の底面から前記シート部材の側に向かって突出した突起部が形成されており、前記突起部と前記シート部材との間の距離は、前記凹部領域の底面と前記シート部材との間の距離よりも短くてもよい。
【0009】
前記電気音響変換器は、指向性軸が前記ハウジングの延在方向に交差する向きとなるように配置されており、前記ハウジングの側面に前記開口が形成されるとともに、前記開口を覆うように前記シート部材が設けられていてもよい。
【0010】
前記ハウジングは筒状であり、前記ハウジングの側面には、前記側面から音を取り込むための複数の孔が形成されており、前記複数の孔を覆うように通気性を有する保護部材が前記ハウジングに設けられていてもよい。
(【0011】以降は省略されています)
この特許をJ-PlatPat(特許庁公式サイト)で参照する
関連特許
個人
イヤーマフ
7日前
個人
監視カメラシステム
16日前
個人
店内配信予約システム
3か月前
個人
スイッチシステム
1日前
キーコム株式会社
光伝送線路
17日前
個人
スキャン式車載用撮像装置
16日前
WHISMR合同会社
収音装置
1か月前
サクサ株式会社
中継装置
23日前
サクサ株式会社
中継装置
22日前
キヤノン株式会社
電子機器
3か月前
アイホン株式会社
電気機器
1か月前
キヤノン株式会社
撮像装置
2か月前
個人
ワイヤレスイヤホン対応耳掛け
1か月前
キヤノン電子株式会社
画像読取装置
1か月前
キヤノン電子株式会社
画像読取装置
1日前
個人
映像表示装置、及びARグラス
2日前
サクサ株式会社
無線システム
21日前
株式会社リコー
画像形成装置
2か月前
株式会社リコー
画像形成装置
2か月前
ヤマハ株式会社
放音制御装置
1日前
キヤノン電子株式会社
画像読取装置
15日前
サクサ株式会社
無線通信装置
22日前
株式会社リコー
画像形成装置
2か月前
株式会社リコー
画像形成装置
9日前
サクサ株式会社
無線通信装置
22日前
ブラザー工業株式会社
読取装置
2か月前
株式会社ニコン
撮像装置
3か月前
日本電気株式会社
海底分岐装置
17日前
キヤノン株式会社
撮像システム
1か月前
個人
発信機及び発信方法
21日前
国立大学法人電気通信大学
小型光学装置
2か月前
沖電気工業株式会社
画像形成装置
24日前
DXO株式会社
情報処理システム
3か月前
シャープ株式会社
端末装置
14日前
株式会社NTTドコモ
端末
16日前
株式会社NTTドコモ
端末
16日前
続きを見る
他の特許を見る