TOP
|
特許
|
意匠
|
商標
特許ウォッチ
Twitter
他の特許を見る
公開番号
2025159736
公報種別
公開特許公報(A)
公開日
2025-10-22
出願番号
2022140407
出願日
2022-09-02
発明の名称
風力/浮力ハイブリッド発電装置及び風力/浮力ハイブリッド発電方法
出願人
株式会社島村技建コンサルタント
代理人
個人
,
個人
主分類
F03D
80/00 20160101AFI20251015BHJP(液体用機械または機関;風力原動機,ばね原動機,重力原動機;他類に属さない機械動力または反動推進力を発生するもの)
要約
【課題】従来よりも、自然環境への影響が小さく、気候の影響が小さく、エネルギー効率に優れ、製造コストが低い発電装置を提供する。
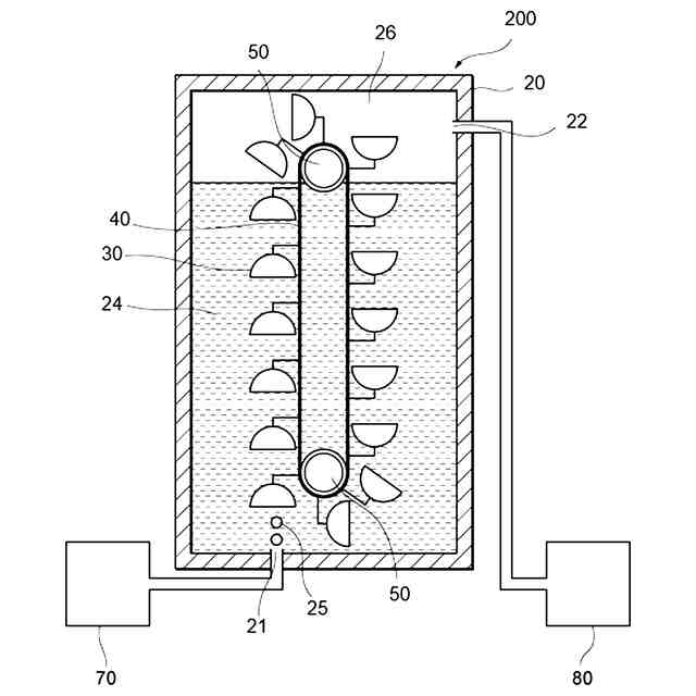
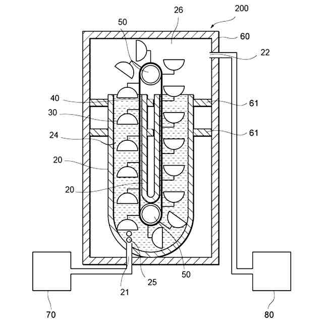
【解決手段】(A)タワー、前記タワーの上部に前記タワーの中心軸周りに回動可能に設けられたナセル、前記ナセルの端部に前記中心軸に直交する軸周りに回転可能に設けられたハブ、前記ハブに設けられた少なくとも1つのブレード、並びに前記ナセルの内部に配置され且つ前記ハブに連結された第1の発電機を含む風力発電部と、(B)水を貯水可能に構成された貯水槽、燃料ガス導入部、前記貯水可能な水の水面よりも上方に位置する燃料ガス回収部、及び前記燃料ガス回収部に連結された燃料ガス排出部、並びに気泡受け部、前記気泡受け部に接続されたベルト、前記ベルトに接続された回転体、及び前記回転体に連結された第2の発電機を含む浮力発電部とを含む風力/浮力のハイブリッド発電装置。
【選択図】図1
特許請求の範囲
【請求項1】
(A)タワー、
前記タワーの上部に前記タワーの中心軸周りに回動可能に設けられたナセル、
前記ナセルの端部に前記中心軸に直交する軸周りに回転可能に設けられたハブ、
前記ハブに設けられた少なくとも1つのブレード、並びに
前記ナセルの内部に配置され且つ前記ハブに連結された第1の発電機
を含む風力発電部と、
(B)水を貯水可能に構成された貯水槽、
燃料ガス導入部、前記貯水可能な水の水面よりも上方に位置する燃料ガス回収部、及び前記燃料ガス回収部に連結された燃料ガス排出部、並びに
気泡受け部、前記気泡受け部に接続されたベルト、前記ベルトに接続された回転体、及び前記回転体に連結された第2の発電機
を含む浮力発電部と
を含む風力/浮力のハイブリッド発電装置であって、
前記貯水槽は、前記タワーと共通であるか、または前記タワーの内部に固定され、
前記燃料ガス導入部は、液化ガスを気化した圧力が加えられた燃料ガスを前記貯水槽に導入可能に構成され、
前記燃料ガス回収部は、前記貯水槽に導入される燃料ガスを、前記貯水槽に貯水可能な水の水面よりも上部で回収可能に構成され、
前記燃料ガス排出部は、前記燃料ガス回収部で回収される燃料ガスを外部に排出可能に構成され、
風を受けて動作する前記ブレード及び前記ハブの回転エネルギーを用いて前記第1の発電機で発電し、
前記燃料ガス導入部から前記貯水槽に導入される前記燃料ガスの気泡を前記気泡受け部で受け、前記気泡の浮力によって前記気泡受け部に接続されたベルトを動かし、前記ベルトに接続された回転体を回転させて、前記回転体に連結された前記第2の発電機で発電する
風力/浮力のハイブリッド発電装置。
続きを表示(約 610 文字)
【請求項2】
前記第1の発電機と前記第2の発電機とが共通である、請求項1に記載のハイブリッド発電装置。
【請求項3】
(A)タワーの上部に前記タワーの中心軸周りに回動可能に設けられたナセルの端部に前記中心軸に直交する軸周りに回転可能に設けられたハブと、前記ハブに設けられた少なくとも1本のブレードとを、風の力により回転させて、前記ナセルの内部に配置され且つ前記ハブに連結された第1の発電機で発電することを含む風力発電と、
(B)液化ガスを気化した圧力が加えられた燃料ガスを、貯水槽として用いられる前記タワーの水中、または前記タワーの内部に固定された貯水槽の水中に導入して、前記水中に気泡を形成すること、
前記気泡を、前記貯水槽の内部に配置された気泡受け部で受けること、
前記気泡による浮力によって前記気泡受け部に接続されたベルトを動かして、前記ベルトに接続された回転体を回転させて、前記回転体に連結された第2の発電機で発電すること、
前記気泡として前記水中に導入した前記燃料ガスを、前記水の水面よりも上部で回収すること、及び
前記回収した燃料ガスを外部に排出すること
を含む、浮力発電と
を含む風力/浮力のハイブリッド発電方法。
【請求項4】
前記第1の発電機と前記第2の発電機とが共通である、請求項3に記載のハイブリッド発電方法。
発明の詳細な説明
【技術分野】
【0001】
本発明は、風を利用した風力発電と気泡を利用した浮力発電とを組み合わせた風力/浮力ハイブリッド発電装置及び風力/浮力ハイブリッド発電方法に関する。
続きを表示(約 1,200 文字)
【背景技術】
【0002】
近年、火力発電には大量の化石燃料が必要であり、地球温暖化の原因である二酸化炭素を多量に排出する等の問題が認識されている。原子力発電には様々なリスクがあり、施設建設から廃炉、再処理コストまで含めると多大なコストがかかることからその効率性にも疑義が生じている。
【0003】
このようなエネルギー問題及び環境問題が注目されてきており、2015年には、国連サミットにおける「持続可能な開発のための2030アジェンダ」(持続可能な開発目標(SDGs))が採択され、従来の環境影響が大きいエネルギー源を代替する再生可能エネルギーの活用が求められている。
【0004】
しかしながら、従来のエネルギーに代えて再生可能エネルギーを主に活用していくには多くのハードルがある。太陽光発電は天候に大きく影響され、夜間は発電できない等の問題がある。従来の風力発電は無風時には発電できないことや、風速によって発電量に影響が出る等の問題がある。従来の水力発電は、ダム建設による自然環境破壊、降雨量、貯水量により発電量が左右される等の問題がある。
【0005】
これに対して、天候に左右されにくく且つ環境への影響が小さい再生可能エネルギー源の一つとして、気泡の浮力を使って水中で回転体を回すことにより発電する浮力発電が検討されている。
【0006】
浮力発電として、水の抵抗を小さくしたバケットに気泡を入れ、気泡の浮力で回転体を回す浮力発電装置(特許文献1)や、水槽底の水車で水と空気を置換することにより気泡の取込を行う浮力発電装置(特許文献2)が提案されている。
【先行技術文献】
【特許文献】
【0007】
特開2019-138293号公報
特開2007-138883号公報
【発明の概要】
【発明が解決しようとする課題】
【0008】
しかしながら、特許文献1の装置では、気泡の発生には、装置の最下部に外部より接続された空気ポンプを用いるため、気泡を発生させるために電力等の他のエネルギーを必要とし、気泡を発生させるための投入エネルギーよりも浮力発電装置による出力エネルギーが小さくなるエネルギー効率の問題がある。特許文献2の装置では、水車を利用するため、従来の水力発電と同様にダム建設による自然環境破壊、降雨量、貯水量等の気候により発電量が左右される等の問題がある。
【0009】
また、浮力発電装置は、内部に水を貯めて気泡を導入する数十メートル以上にもなる貯水槽またはそれを保持する構造の製造コストが課題である。
【0010】
したがって、従来よりも、自然環境への影響が小さく、気候の影響が小さく、エネルギー効率に優れ、製造コストが低い発電装置が求められている。
【課題を解決するための手段】
(【0011】以降は省略されています)
この特許をJ-PlatPat(特許庁公式サイト)で参照する
関連特許
個人
小水力発電器
1か月前
個人
磁力スロープ
3か月前
個人
サボニウス風車
1か月前
個人
閉空間推進移動装置
3か月前
個人
風力発電装置
3か月前
東レ株式会社
風車ブレード
2か月前
個人
水力発電用水の循環活動
1か月前
個人
水中での上下動による発電
4日前
Orbray株式会社
発電装置
16日前
個人
波受け板を用いた波浪発電装置
1か月前
個人
岸壁などに設置する波力発電装置
1か月前
株式会社 林物産発明研究所
発電装置
2か月前
株式会社ゲットクリーンエナジー
発電機
3か月前
個人
水車発電と水の循環供給装置
2か月前
株式会社ライトエンジ
推力発生方法
1か月前
三菱電機株式会社
風力発電システム
1か月前
株式会社リコー
水力発電装置
3か月前
個人
上下運動を回転運動に変換する装置。
27日前
株式会社大林組
リフトアップ装置
2か月前
株式会社アイシン
発電装置
3か月前
株式会社アイシン
発電装置
3か月前
株式会社大林組
リフトアップ装置
2か月前
株式会社酉島製作所
多段式流体機械
24日前
個人
波力発電ユニット及び波力発電システム
2か月前
三菱重工業株式会社
風力発電装置
1か月前
株式会社大林組
リフトアップ装置の制御装置
24日前
パナテックス株式会社
発電装置
3か月前
国立大学法人 岡山大学
回転装置
3日前
ダイキン工業株式会社
流体機械
1か月前
合同会社DARRIEUS
可変ピッチ機構及び発電装置
1か月前
株式会社リアムウィンド
流体発電装置及び流体発電方法
2か月前
株式会社デンソー
熱音響装置
3か月前
個人
大車輪の上部から加重力を与え回転力を得て合せて発電を得る構造
1か月前
株式会社ノワール
潮流発電システム
18日前
華能広西清潔能源有限公司
風力発電機の角度修正方法および修正装置
1か月前
個人
暴風・洪水でも折れず、風速・河川流速の増速が出来る風水車羽根装置
1か月前
続きを見る
他の特許を見る