TOP
|
特許
|
意匠
|
商標
特許ウォッチ
Twitter
他の特許を見る
10個以上の画像は省略されています。
公開番号
2025159527
公報種別
公開特許公報(A)
公開日
2025-10-21
出願番号
2024062156
出願日
2024-04-08
発明の名称
駆動ユニット、及び変速装置
出願人
株式会社エクセディ
代理人
弁理士法人新樹グローバル・アイピー
主分類
F16H
3/44 20060101AFI20251014BHJP(機械要素または単位;機械または装置の効果的機能を生じ維持するための一般的手段)
要約
【課題】エネルギー消費を削減する。
【解決手段】遊星歯車機構は、サンギア、遊星ギア、リングギア、及び遊星キャリアを有する。入力部材は、リングギア及びサンギアの一方と電気モータとを連結する。出力部材は、遊星キャリアに連結される。第1クラッチは、入力部材と出力部材とを遮断可能に連結する。セレクタブルワンウェイクラッチは、リングギア及びサンギアの他方と固定部材との間に配置される。セレクタブルワンウェイクラッチは、第1動作モードにおいて、リングギア及びサンギアの他方の前進回転方向の回転を許可するとともに後進回転方向の回転を阻止する。セレクタブルワンウェイクラッチは、第2動作モードにおいて、リングギア及びサンギアの他方の前進回転方向の回転を阻止する。
【選択図】図2
特許請求の範囲
【請求項1】
電気モータと、
サンギア、遊星ギア、リングギア、及び遊星キャリアを有する遊星歯車機構と、
前記リングギア及び前記サンギアの一方と前記電気モータとを連結する入力部材と、
前記遊星キャリアに連結される出力部材と、
前記入力部材と前記出力部材とを遮断可能に連結する第1クラッチと、
回転不能に配置される固定部材と、
前記リングギア及び前記サンギアの他方と前記固定部材との間に配置されるセレクタブルワンウェイクラッチと、
を備え、
前記セレクタブルワンウェイクラッチは、第1動作モード及び第2動作モードを有し、
前記セレクタブルワンウェイクラッチは、前記第1動作モードにおいて、前記リングギア及び前記サンギアの他方の前進回転方向の回転を許可するとともに後進回転方向の回転を阻止するように構成され、前記第2動作モードにおいて、前記リングギア及び前記サンギアの他方の前進回転方向の回転を阻止するように構成される、
駆動ユニット。
続きを表示(約 1,200 文字)
【請求項2】
前記第1クラッチは、遠心クラッチである、
請求項1に記載の駆動ユニット。
【請求項3】
前記入力部材は、前記出力部材に対して径方向外側に配置され、
前記第1クラッチは、
前記出力部材と一体的に回転するとともに、前記出力部材に対して径方向に移動可能に配置される遠心子と、
前記入力部材の内周面に形成され、前記遠心子と係合するように構成される係合溝と、
を有する、
請求項2に記載の駆動ユニット。
【請求項4】
前記第1クラッチは、前記遠心子に対して径方向内側に配置されて前記遠心子を磁力により吸引する磁石をさらに有する、
請求項3に記載の駆動ユニット。
【請求項5】
前記係合溝は、周方向において対向する一対の内壁面を有し、
前記一対の内壁面のうち少なくとも一方の内壁面は、径方向内側に向かってもう一方の内壁面から離れるように傾斜する、
請求項3に記載の駆動ユニット。
【請求項6】
前記入力部材は、第1入力部と、第2入力部と、前記第1入力部と前記第2入力部とを弾性的に連結する弾性部材と、を有する、
請求項1に記載の駆動ユニット。
【請求項7】
前進走行モード、及び後進走行モードを有する制御部をさらに備え、
前記制御部は、
前記前進走行モードにおいて、前記電気モータを前進回転方向に回転させ、前記セレクタブルワンウェイクラッチを前記第1動作モードとし、
前記後進走行モードにおいて、前記電気モータを後進回転方向に回転させ、前記セレクタブルワンウェイクラッチを前記第2動作モードとする、
請求項1に記載の駆動ユニット。
【請求項8】
電気モータからの動力の回転速度を変速するように構成される変速装置であって、
サンギア、遊星ギア、リングギア、及び遊星キャリアを有する遊星歯車機構と、
前記リングギア及び前記サンギアの一方と前記電気モータとを連結する入力部材と、
前記遊星キャリアに連結される出力部材と、
前記入力部材と前記出力部材とを遮断可能に連結する第1クラッチと、
回転不能に配置される固定部材と、
前記リングギア及び前記サンギアの他方と前記固定部材との間に配置されるセレクタブルワンウェイクラッチと、
を備え、
前記セレクタブルワンウェイクラッチは、第1動作モード及び第2動作モードを有し、
前記セレクタブルワンウェイクラッチは、前記第1動作モードにおいて、前記リングギア及び前記サンギアの他方の前進回転方向の回転を許可するとともに後進回転方向の回転を阻止するように構成され、前記第2動作モードにおいて、前記リングギア及び前記サンギアの他方の前進回転方向の回転を阻止するように構成される、
変速装置。
発明の詳細な説明
【技術分野】
【0001】
本発明は、駆動ユニット、及び変速装置に関するものである。
続きを表示(約 1,600 文字)
【背景技術】
【0002】
特許文献1に記載の変速装置は、回転速度を変速して内燃機関からの動力を駆動輪へと伝達するように構成されている。具体的には、変速装置は、第1クラッチ、第2クラッチ、及び遊星歯車機構を有している。第1クラッチ及び第2クラッチの状態を油圧で切り替えることによって、変速装置の変速比が切り替わる。
【先行技術文献】
【特許文献】
【0003】
特開平9-210149号公報
【発明の概要】
【発明が解決しようとする課題】
【0004】
電気モータを駆動源とする駆動ユニットにおいて、上述したように構成された変速装置を採用する場合、エネルギー消費を削減することが要望される。そこで、本発明の課題は、エネルギー消費を削減することにある。
【課題を解決するための手段】
【0005】
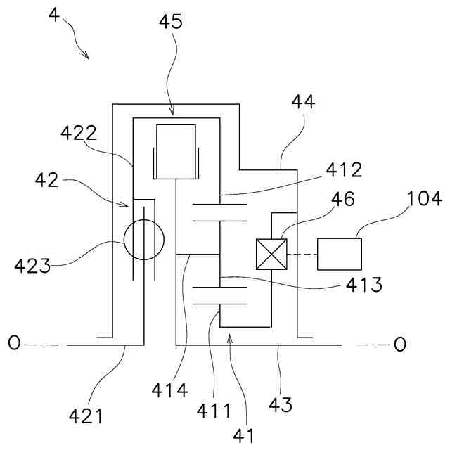
第1態様に係る駆動ユニットは、電気モータ、遊星歯車機構、入力部材、出力部材、第1クラッチ、固定部材、及びセレクタブルワンウェイクラッチを備える。遊星歯車機構は、サンギア、遊星ギア、リングギア、及び遊星キャリアを有する。入力部材は、リングギア及びサンギアの一方と電気モータとを連結する。出力部材は、遊星キャリアに連結される。第1クラッチは、入力部材と出力部材とを遮断可能に連結する。固定部材は、回転不能に配置される。セレクタブルワンウェイクラッチは、リングギア及びサンギアの他方と固定部材との間に配置される。セレクタブルワンウェイクラッチは、第1動作モード及び第2動作モードを有する。セレクタブルワンウェイクラッチは、第1動作モードにおいて、リングギア及びサンギアの他方の前進回転方向の回転を許可するとともに後進回転方向の回転を阻止するように構成される。セレクタブルワンウェイクラッチは、第2動作モードにおいて、リングギア及びサンギアの他方の前進回転方向の回転を阻止するように構成される。
【0006】
この構成によれば、前進走行時において、セレクタブルワンウェイクラッチを第1動作モードとすることで、低速走行時にリングギア及びサンギアの他方の回転を阻止することができる。また、後進走行時において、セレクタブルワンウェイクラッチを第2動作モードとすることで、リングギア及びサンギアの他方の回転を阻止することができる。このように、セレクタブルワンウェイクラッチを用いることで、リングギア及びサンギアの他方の回転を阻止するための油圧が不要となるため、エネルギー消費を削減することができる。
【0007】
第2態様に係る駆動ユニットは、第1態様に係る駆動ユニットにおいて、次のように構成される。第1クラッチは、遠心クラッチである。
【0008】
第3態様に係る駆動ユニットは、第2態様に係る駆動ユニットにおいて、次のように構成される。入力部材は、出力部材に対して径方向外側に配置される。第1クラッチは、遠心子及び係合溝を有する。遠心子は、出力部材と一体的に回転する。遠心子は、出力部材に対して径方向に移動可能に配置される。係合溝は、入力部材の内周面に形成される。係合溝は、遠心子と係合するように構成される。
【0009】
第4態様に係る駆動ユニットは、第3態様に係る駆動ユニットにおいて、次のように構成される。第1クラッチは、磁石をさらに有する。磁石は、遠心子に対して径方向内側に配置されて遠心子を磁力により吸引する。
【0010】
第5態様に係る駆動ユニットは、第3又は第4態様に係る駆動ユニットにおいて、次のように構成される。係合溝は、周方向において対向する一対の内壁面を有する。一対の内壁面のうち少なくとも一方の内壁面は、径方向内側に向かってもう一方の内壁面から離れるように傾斜する。
(【0011】以降は省略されています)
この特許をJ-PlatPat(特許庁公式サイト)で参照する
関連特許
個人
留め具
24日前
個人
鍋虫ねじ
2か月前
個人
紛体用仕切弁
2か月前
個人
回転伝達機構
3か月前
個人
ホース保持具
6か月前
個人
差動歯車用歯形
4か月前
個人
トーションバー
7か月前
個人
ジョイント
1か月前
個人
給排気装置
1か月前
株式会社不二工機
電磁弁
5か月前
個人
ナット
2日前
株式会社不二工機
電磁弁
4か月前
個人
地震の揺れ回避装置
3か月前
個人
ナット
1か月前
個人
吐出量監視装置
2か月前
カヤバ株式会社
緩衝器
4か月前
カヤバ株式会社
ダンパ
4か月前
カヤバ株式会社
ダンパ
4か月前
兼工業株式会社
バルブ
3日前
カヤバ株式会社
緩衝器
4か月前
柿沼金属精機株式会社
分岐管
2か月前
カヤバ株式会社
緩衝器
1か月前
個人
固着具と固着具の固定方法
5か月前
株式会社不二工機
電動弁
1か月前
日東電工株式会社
断熱材
6か月前
株式会社ノーリツ
分配弁
6か月前
株式会社ノーリツ
分配弁
6か月前
株式会社奥村組
制振機構
1か月前
個人
固着具と固着具の固定方法
5か月前
株式会社奥村組
制振機構
1か月前
株式会社不二工機
電磁弁
2か月前
個人
固着具と固着具の固定方法
7か月前
株式会社タカギ
水栓装置
3か月前
株式会社三五
ドライブシャフト
16日前
株式会社ノーリツ
分配弁
1か月前
株式会社フジキン
ボールバルブ
5か月前
続きを見る
他の特許を見る