TOP
|
特許
|
意匠
|
商標
特許ウォッチ
Twitter
他の特許を見る
公開番号
2025159418
公報種別
公開特許公報(A)
公開日
2025-10-21
出願番号
2024061938
出願日
2024-04-08
発明の名称
タイヤ監視システムおよびタイヤ監視方法
出願人
TOYO TIRE株式会社
代理人
個人
主分類
B60C
23/04 20060101AFI20251014BHJP(車両一般)
要約
【課題】タイヤにおける不具合の原因について判定し、保守性を向上することができる技術を提供する。
【解決手段】タイヤ監視システム100は、情報取得部32、温度判定部33および空気圧判定部34を備える。情報取得部32は、車両に装着された複数のタイヤ1に設けた空気圧センサ11および温度センサ12による計測データを取得する。温度判定部33は、情報取得部32によって取得した計測データに基づき、各タイヤ1の温度変化量を算出し、温度変化量が最も大きい少なくとも1つのタイヤの温度変化量と他のタイヤの前記温度変化量との差分値が所定閾値よりも大きいか否かを判定する。空気圧判定部34は、温度判定部33によって差分値が所定閾値よりも大きいと判定した場合に、空気圧の計測データに基づいて、車両側およびタイヤ側のいずれに不具合が発生しているかを判定する。
【選択図】図2
特許請求の範囲
【請求項1】
車両に装着された複数のタイヤに設けた空気圧センサおよび温度センサによる計測データを取得する情報取得部と、
前記情報取得部によって取得した計測データに基づき、各タイヤの温度変化量を算出し、前記温度変化量が最も大きい少なくとも1つのタイヤの温度変化量と他のタイヤの前記温度変化量との差分値が所定閾値よりも大きいか否かを判定する温度判定部と、
前記温度判定部によって前記差分値が前記所定閾値よりも大きいと判定した場合に、空気圧の計測データに基づいて、車両側およびタイヤ側のいずれに不具合が発生しているかを判定する空気圧判定部と、
を備えるタイヤ監視システム。
続きを表示(約 1,100 文字)
【請求項2】
前記空気圧判定部は、所定期間ごとにタイヤの空気圧の最小値を取得して代表空気圧とし、前記代表空気圧が所定閾値よりも大きい場合に、車両側に不具合が発生していると判定する請求項1に記載のタイヤ監視システム。
【請求項3】
前記空気圧判定部は、前記差分値が前記所定閾値よりも大きいタイヤの現時点のタイヤ空気圧を参照して車両側およびタイヤ側のいずれに不具合が発生しているかを判定する請求項1に記載のタイヤ監視システム。
【請求項4】
前記温度判定部は、所定期間ごとにタイヤの温度の最大値を取得して代表温度とし、前記代表温度の変遷に基づいて前記温度変化量を算出する請求項1から3のいずれか1項に記載のタイヤ監視システム。
【請求項5】
前記空気圧判定部は、冷却時のタイヤの空気圧を取得して代表空気圧とし、前記代表空気圧が所定閾値よりも大きい場合に、車両側に不具合が発生していると判定する請求項1に記載のタイヤ監視システム。
【請求項6】
前記空気圧判定部によって判定した結果を外部に通知する通知部を更に備える請求項1に記載のタイヤ監視システム。
【請求項7】
前記通知部は、前記空気圧判定部によって車両側に不具合が発生していると判定された場合、車両のメンテナンスに要する費用を含む評価情報を更に外部に通知する請求項6に記載のタイヤ監視システム。
【請求項8】
前記情報取得部は、輸送事業者で運行管理する複数の車両における前記計測データを取得し、
前記温度判定部は、車両ごとに前記差分値が所定閾値よりも大きいか否かを判定し、
前記空気圧判定部は、車両ごとに車両側およびタイヤ側のいずれに不具合が発生しているかを判定し、
前記通知部は、前記複数の車両に関して所定期間ごとの通知回数を集計した情報を通知する請求項6に記載のタイヤ監視システム。
【請求項9】
車両に装着された複数のタイヤに設けた空気圧センサおよび温度センサによる計測データを取得する情報取得ステップと、
前記情報取得ステップによって取得した計測データに基づき、各タイヤの温度変化量を算出し、前記温度変化量が最も大きい少なくとも1つのタイヤの温度変化量と他のタイヤの前記温度変化量との差分値が所定閾値よりも大きいか否かを判定する温度判定ステップと、
前記温度判定ステップによって前記差分値が前記所定閾値よりも大きいと判定した場合に、空気圧の計測データに基づいて、車両側およびタイヤ側のいずれに不具合が発生しているかを判定する空気圧判定ステップと、
を備えるタイヤ監視方法。
発明の詳細な説明
【技術分野】
【0001】
本発明は、車両に装着されるタイヤについて管理するためのタイヤ監視システムおよびタイヤ監視方法に関する。
続きを表示(約 1,500 文字)
【背景技術】
【0002】
車両に装着されたタイヤは、適正な空気圧に設定されており、空気圧が低下した場合には、再び適正な空気圧となるようにメンテナンスによって空気が充填される。
【0003】
特許文献1には従来のタイヤ故障予知システムが記載されている。このタイヤ故障予知システムは、第1のタイヤの温度値が所定閾値を超えており、かつ、第1のタイヤの温度値と第2のタイヤの温度値との差が所定の第1温度差閾値を超えている場合に、第1のタイヤに故障の可能性があると判定する。
【先行技術文献】
【特許文献】
【0004】
特開2020-111126号公報
【発明の概要】
【発明が解決しようとする課題】
【0005】
特許文献1に記載のタイヤ故障予知システムでは、例えば、冬季などで外気温が低い場合、第1のタイヤの温度値が所定閾値を超えず、タイヤの故障の可能性を判定できないことがある。
【0006】
本発明は、斯かる事情に鑑みてなされたものであり、その目的とするところは、タイヤにおける不具合の原因について判定し、保守性を向上することができるタイヤ監視システムおよびタイヤ監視方法を提供することにある。
【課題を解決するための手段】
【0007】
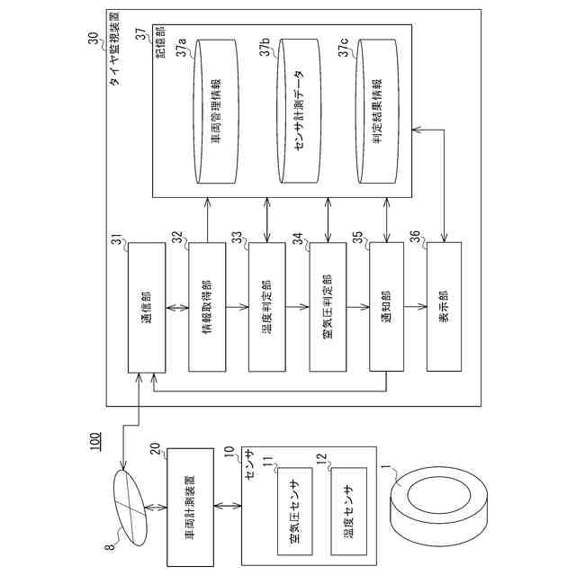
本発明のある態様のタイヤ監視システムは、車両に装着された複数のタイヤに設けた空気圧センサおよび温度センサによる計測データを取得する情報取得部と、前記情報取得部によって取得した計測データに基づき、各タイヤの温度変化量を算出し、前記温度変化量が最も大きい少なくとも1つのタイヤの温度変化量と他のタイヤの前記温度変化量との差分値が所定閾値よりも大きいか否かを判定する温度判定部と、前記温度判定部によって前記差分値が前記所定閾値よりも大きいと判定した場合に、空気圧の計測データに基づいて、車両側およびタイヤ側のいずれに不具合が発生しているかを判定する空気圧判定部と、を備える。
【0008】
本発明の別の態様はタイヤ監視方法である。タイヤ監視方法は、車両に装着された複数のタイヤに設けた空気圧センサおよび温度センサによる計測データを取得する情報取得ステップと、前記情報取得ステップによって取得した計測データに基づき、各タイヤの温度変化量を算出し、前記温度変化量が最も大きい少なくとも1つのタイヤの温度変化量と他のタイヤの前記温度変化量との差分値が所定閾値よりも大きいか否かを判定する温度判定ステップと、前記温度判定ステップによって前記差分値が前記所定閾値よりも大きいと判定した場合に、空気圧の計測データに基づいて、車両側およびタイヤ側のいずれに不具合が発生しているかを判定する空気圧判定ステップと、を備える。
【発明の効果】
【0009】
本発明によれば、タイヤにおける温度異常が車両側かタイヤ側のいずれに起因するかを判定し、保守性を向上することができる。
【図面の簡単な説明】
【0010】
実施形態に係るタイヤ監視システムの全体構成を示す模式図である。
タイヤ監視装置の機能構成を示すブロック図である。
タイヤ監視システムによる不具合の判定処理の手順を示すフローチャートである。
タイヤの不具合が発生した際のタイヤ温度の例を示すグラフである。
不具合の発生原因が車両側によると判定されるタイヤ空気圧の例を示すグラフである。
変形例に係るタイヤ監視装置の機能構成を示すブロック図である。
【発明を実施するための形態】
(【0011】以降は省略されています)
この特許をJ-PlatPat(特許庁公式サイト)で参照する
関連特許
個人
カーテント
4か月前
個人
タイヤレバー
3か月前
個人
前輪キャスター
2か月前
個人
上部一体型自動車
25日前
個人
ルーフ付きトライク
2か月前
個人
車輪清掃装置
5か月前
個人
タイヤ脱落防止構造
2か月前
個人
ホイルのボルト締結
3か月前
個人
キャンピングトライク
4か月前
井関農機株式会社
作業車両
4か月前
日本精機株式会社
表示装置
2か月前
日本精機株式会社
表示装置
2か月前
日本精機株式会社
表示装置
2か月前
井関農機株式会社
作業車両
4か月前
日本精機株式会社
表示装置
2か月前
個人
マスタシリンダ
1か月前
個人
車両通過構造物
3か月前
個人
ワイパーゴム性能保持具
5か月前
個人
常設収納型サンバイザー
4日前
個人
アクセルのソフトウェア
4か月前
個人
乗合路線バスの客室装置
3か月前
個人
車両用スリップ防止装置
4か月前
個人
キャンピングトレーラー
4か月前
株式会社ニフコ
収納装置
1か月前
個人
音声ガイド、音声サービス
3か月前
個人
車載小物入れ兼雨傘収納具
3か月前
株式会社クラベ
ヒータユニット
5か月前
個人
円湾曲ホイール及び球体輪
3か月前
日本精機株式会社
車室演出装置
2か月前
株式会社ニフコ
保持装置
3か月前
日本精機株式会社
車載表示装置
6日前
日本精機株式会社
車載表示装置
4か月前
株式会社豊田自動織機
産業車両
2か月前
株式会社ニフコ
照明装置
2か月前
日本精機株式会社
画像投映装置
21日前
日本精機株式会社
車載表示装置
1か月前
続きを見る
他の特許を見る