TOP
|
特許
|
意匠
|
商標
特許ウォッチ
Twitter
他の特許を見る
10個以上の画像は省略されています。
公開番号
2025159234
公報種別
公開特許公報(A)
公開日
2025-10-17
出願番号
2025138789,2024173321
出願日
2025-08-22,2022-07-26
発明の名称
情報処理装置
出願人
コンプライアンス・データラボ株式会社
代理人
個人
,
個人
主分類
G06Q
50/10 20120101AFI20251009BHJP(計算;計数)
要約
【課題】複数の異なる定義で適切なUBO情報を抽出可能な情報処理装置を提供すること。
【解決手段】開示の情報処理装置は、実質的支配者の情報である支配者情報を提供すべき企業である第1の企業を指定する企業指定情報を取得し、取得された企業指定情報を基に特定される、対象とする企業である対象企業を一意に識別可能な企業識別情報の他に、対象企業の受益者を表す受益者情報、受益者による対象企業の株の保有比率を表す保有比率情報、及び第1の国での定義に沿って算出された受益率を表す受益率情報、を少なくとも含む受益者関係情報を有する企業情報を取得し、取得された企業情報を参照して、想定する指定国の定義による前記受益率を特定し、取得された企業情報、及び特定された受益率を基に、第1の企業における実質的支配者である受益者を特定し、特定した前記受益者に対応する受益者関係情報中の少なくとも一部を支配者情報として抽出する。
【選択図】図1
特許請求の範囲
【請求項1】
実質的支配者の情報である支配者情報を提供すべき企業である第1の企業を指定する企業指定情報を取得する第1の取得手段と、
前記第1の取得手段により取得された前記企業指定情報を基に特定される、対象とする企業である対象企業を一意に識別可能な企業識別情報の他に、前記対象企業の受益者を表す受益者情報、及び前記受益者による前記対象企業の株の保有比率を表す保有比率情報を少なくとも含む受益者関係情報を有する企業情報を取得する第2の取得手段と、
前記第2の取得手段により取得された前記企業情報を参照して、想定する指定国の定義による受益率を特定する受益率特定手段と、
前記第2の取得手段により取得された前記企業情報、及び前記受益率特定手段により特定された受益率を基に、前記第1の企業における前記実質的支配者である前記受益者を特定し、特定した前記受益者に対応する前記受益者関係情報中の少なくとも一部を前記支配者情報として抽出する抽出手段と、
前記受益者として法人を特定した場合、前記法人を前記受益者として特定した理由を表す特定理由情報を生成する特定理由情報生成手段と、
を備える情報処理装置。
続きを表示(約 690 文字)
【請求項2】
前記第2の取得手段により取得可能な前記企業情報のうちに、前記実質的支配者である前記受益者の特定に必要な前記企業情報が存在しないことが判明した場合、前記企業情報が不足していることを示す警告情報を生成する警告情報生成手段、
をさらに備える請求項1に記載の情報処理装置。
【請求項3】
前記特定理由情報は、前記対象企業が国若しくは地方公共団体又は上場企業である場合の前記対象企業の種別を示す第1の種別情報と、前記対象企業の代表者を前記実質的支配者として特定した場合における株主情報及び前記保有比率情報の有無に応じた第2の種別情報と、資本関係を辿って特定した前記実質的支配者の属性を示す第3の種別情報と、を少なくとも含む、
請求項1に記載の情報処理装置。
【請求項4】
前記警告情報生成手段は、前記指定国に応じて設定された前記企業情報を参照対象としても前記実質的支配者である前記受益者の特定に必要な株主情報が不足している場合に前記警告情報を生成し、前記警告情報は前記株主情報の不足により前記実質的支配者の特定が困難であることを示すアラート情報を含む、
請求項2に記載の情報処理装置。
【請求項5】
前記抽出手段により抽出された前記支配者情報を出力するための出力手段をさらに備え、
前記出力手段は、前記支配者情報とともに前記特定理由情報又は前記警告情報を出力し、前記特定理由情報又は前記警告情報により前記支配者情報の信頼度を表示可能とする、
請求項2に記載の情報処理装置。
発明の詳細な説明
【技術分野】
【0001】
本発明は、情報処理装置に関する。
続きを表示(約 1,800 文字)
【背景技術】
【0002】
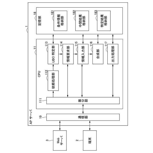
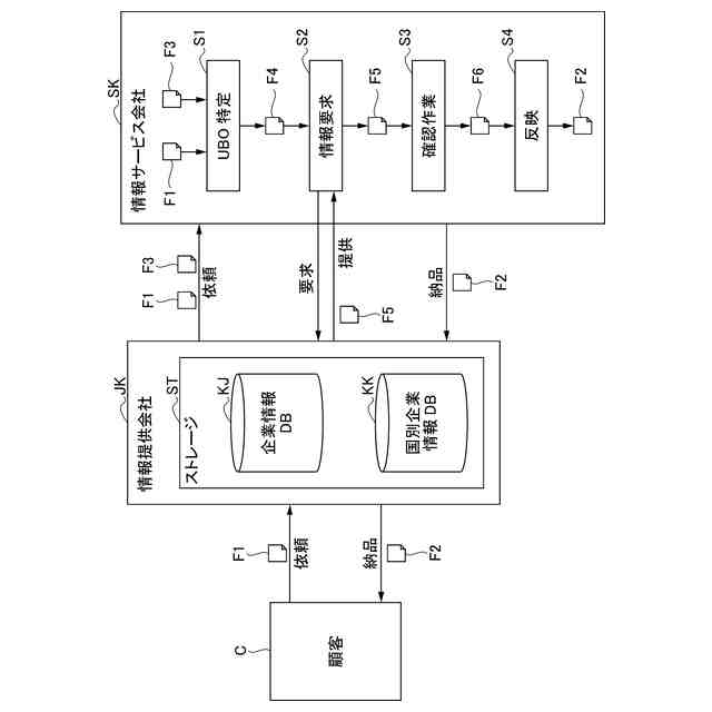
近年、アンチ・マネーロンダリング、及び安全保障貿易管理に関する規制、或いは罰則が世界的に厳格化され、国際的な枠組の下で、日本でも法律が施行されている。その法律により、日本では、金融機関に代表される特定事業者に対し、法人との取り引き時、実質的支配者(UBO:Ultimate Beneficial Ownership)情報を必ず申告させるようにしている(例えば、特許文献1参照)。このようなことから、顧客が必要とする法人のUBO情報を提供する情報サービス会社が設立されている。
【先行技術文献】
【特許文献】
【0003】
特開2019-36098号公報
【発明の概要】
【発明が解決しようとする課題】
【0004】
情報サービス会社は、UBO情報を提供するためのデータベース(DB)を構築し、構築したDBから必要なUBO情報を抽出することにより、サービスとしてUBO情報を提供する。しかし、UBOの定義は、全ての国で同じではない。情報サービス会社が構築したDBは、サービスの提供を想定した国の定義に沿ってUBO情報を抽出できるように設計されており、想定した国とは異なる定義でのUBO情報は適切に抽出できない。このため、従来、DBの想定とは異なる定義でUBO情報を提供する場合、例えばDBから対象法人に係わるレコードの情報(以降「法人情報」)を抽出させ、抽出させた法人情報を従業員に確認させることにより、UBOを特定させるようなことが行われている。
【0005】
通常、DBのレコードは、法人毎に、株主(受益者)分、存在する。そのため、多くの法人では、複数のレコードが存在する。多数のレコードが存在する法人も少なくない。また、UBOの特定には、資本関係を考慮する必要がある。つまり、UBOを特定する場合、対象法人だけでなく、対象法人の株主となっている他の法人、更にはその他の法人の株主となっている別の法人のレコード等も確認する必要がある場合も少なくない。
【0006】
このようなことから、1対象法人のUBOを特定するためには、従業員は、多数のレコードを確認する必要があるのが普通である。そのため、DBで想定されていない定義でのUBOの特定には非常に長い時間を要する場合も少なくないのが実情となっている。
【0007】
そのような不具合から、DBで想定していない定義の国用に、DBを新たに用意するという選択肢が考えられる。しかし、必要な法人の情報収集だけでも膨大なコスト、及び長い時間がともに必要である。そのため、サービスの提供をより早く開始できるようにするうえでも、既存のDBを利用するのが望ましいと考えられる。
【0008】
そこで、本発明は、既存のDBを利用して、複数の異なる定義で適切なUBO情報を抽出可能な情報処理装置を提供することを目的とする。
【課題を解決するための手段】
【0009】
本発明の一態様の情報処理装置は、実質的支配者の情報である支配者情報を提供すべき企業である第1の企業を指定する企業指定情報を取得する第1の取得手段と、前記第1の取得手段により取得された前記企業指定情報を基に特定される、対象とする企業である対象企業を一意に識別可能な企業識別情報の他に、前記対象企業の受益者を表す受益者情報、及び前記受益者による前記対象企業の株の保有比率を表す保有比率情報、を少なくとも含む受益者関係情報を有する企業情報を取得する第2の取得手段と、前記第2の取得手段により取得された前記企業情報を参照して、想定する指定国の定義による受益率を特定する受益率特定手段と、前記第2の取得手段により取得された前記企業情報、及び前記受益率特定手段により特定された受益率を基に、前記第1の企業における前記実質的支配者である前記受益者を特定し、特定した前記受益者に対応する前記受益者関係情報中の少なくとも一部を前記支配者情報として抽出する抽出手段と、を備える。
【発明の効果】
【0010】
本発明は、既存のDBを利用して、複数の異なる定義で適切なUBO情報を抽出可能な情報処理装置を提供することができる。
【図面の簡単な説明】
(【0011】以降は省略されています)
この特許をJ-PlatPat(特許庁公式サイト)で参照する
関連特許
個人
詐欺保険
8日前
個人
縁伊達ポイン
8日前
個人
QRコードの彩色
12日前
個人
地球保全システム
21日前
個人
冷凍食品輸出支援構造
1か月前
個人
為替ポイント伊達夢貯
1か月前
個人
残土処理システム
14日前
個人
農作物用途分配システム
7日前
個人
表変換編集支援システム
1か月前
個人
知的財産出願支援システム
15日前
個人
知財出願支援AIシステム
1か月前
個人
タッチパネル操作指代替具
1日前
個人
行動時間管理システム
1か月前
個人
AIによる情報の売買の仲介
1か月前
個人
携帯端末障害問合せシステム
今日
個人
パスワード管理支援システム
1か月前
個人
スケジュール調整プログラム
今日
個人
パスポートレス入出国システム
1か月前
個人
システム及びプログラム
1か月前
株式会社キーエンス
受発注システム
20日前
個人
食品レシピ生成システム
20日前
日本精機株式会社
施工管理システム
1か月前
株式会社キーエンス
受発注システム
20日前
個人
海外支援型農作物活用システム
1か月前
株式会社アジラ
進入判定装置
1か月前
個人
AIキャラクター制御システム
1か月前
株式会社キーエンス
受発注システム
20日前
個人
帳票自動生成型SaaSシステム
15日前
大同特殊鋼株式会社
疵判定方法
27日前
個人
音声対話型帳票生成支援システム
1か月前
個人
食事受注会計処理システム
1か月前
キヤノン株式会社
印刷システム
今日
エッグス株式会社
情報処理装置
1日前
個人
音声・通知・再配達UX制御構造
15日前
キヤノン株式会社
表示システム
20日前
個人
未来型家系図構築システム
1か月前
続きを見る
他の特許を見る