TOP
|
特許
|
意匠
|
商標
特許ウォッチ
Twitter
他の特許を見る
公開番号
2025158810
公報種別
公開特許公報(A)
公開日
2025-10-17
出願番号
2024061703
出願日
2024-04-05
発明の名称
成膜方法及び成膜装置
出願人
東京エレクトロン株式会社
代理人
個人
,
個人
主分類
H01L
21/205 20060101AFI20251009BHJP(基本的電気素子)
要約
【課題】シリコン膜中のニッケル濃度を高めることができる技術を提供する。
【解決手段】本開示の一態様による成膜方法は、非晶質シリコン膜を表面に有する基板を準備する工程と、前記非晶質シリコン膜にニッケル原料ガスと水素ガスとを同時に供給し、前記非晶質シリコン膜中にニッケルを拡散させる工程と、を有する。
【選択図】図1
特許請求の範囲
【請求項1】
非晶質シリコン膜を表面に有する基板を準備する工程と、
前記非晶質シリコン膜にニッケル原料ガスと水素ガスとを同時に供給し、前記非晶質シリコン膜中にニッケルを拡散させる工程と、
を有する、成膜方法。
続きを表示(約 980 文字)
【請求項2】
前記水素ガスの流量は、前記ニッケル原料ガスの流量よりも大きい、
請求項1に記載の成膜方法。
【請求項3】
前記非晶質シリコン膜を加熱し、前記非晶質シリコン膜中に拡散した前記ニッケルを核とする金属誘起横方向結晶化により前記非晶質シリコン膜を結晶化させて多結晶シリコン膜を形成する工程を有する、
請求項1に記載の成膜方法。
【請求項4】
前記拡散させる工程は、液体のニッケル原料を気化又は固体のニッケル原料を昇華させて前記ニッケル原料ガスを生成することを含む、
請求項1乃至3のいずれか一項に記載の成膜方法。
【請求項5】
前記ニッケル原料は、有機ニッケル原料である、
請求項4に記載の成膜方法。
【請求項6】
前記有機ニッケル原料は、Ni(C
2
H
5
C
5
H
4
)
2
、(C
3
H
5
)(C
5
H
5
)Ni、又はNi(CH
3
C
5
H
4
)
2
である、
請求項5に記載の成膜方法。
【請求項7】
前記基板の前記表面には凹部が形成されており、
前記準備する工程は、前記凹部の内面に前記非晶質シリコン膜を形成することを含む、
請求項1乃至3のいずれか一項に記載の成膜方法。
【請求項8】
前記準備する工程は、前記拡散させる工程と同じ処理容器内において前記基板の前記表面に前記非晶質シリコン膜を形成することを含む、
請求項1乃至3のいずれか一項に記載の成膜方法。
【請求項9】
前記拡散させる工程と前記多結晶シリコン膜を形成する工程とは、同じ処理容器内で行われる、
請求項3に記載の成膜方法。
【請求項10】
前記準備する工程と前記拡散させる工程との間に、前記非晶質シリコン膜の表面状態を変更する工程を有する、
請求項1乃至3のいずれか一項に記載の成膜方法。
(【請求項11】以降は省略されています)
発明の詳細な説明
【技術分野】
【0001】
本開示は、成膜方法及び成膜装置に関する。
続きを表示(約 1,000 文字)
【背景技術】
【0002】
非晶質シリコン膜の表面にニッケル粒子を吸着させた後にアニールを行うことで非晶質シリコン膜を多結晶シリコン膜に改質する技術が知られている(例えば、特許文献1参照)。
【先行技術文献】
【特許文献】
【0003】
特開2011-60908号公報
【発明の概要】
【発明が解決しようとする課題】
【0004】
本開示は、シリコン膜中のニッケル濃度を高めることができる技術を提供する。
【課題を解決するための手段】
【0005】
本開示の一態様による成膜方法は、非晶質シリコン膜を表面に有する基板を準備する工程と、前記非晶質シリコン膜にニッケル原料ガスと水素ガスとを同時に供給し、前記非晶質シリコン膜中にニッケルを拡散させる工程と、を有する。
【発明の効果】
【0006】
本開示によれば、シリコン膜中のニッケル濃度を高めることができる。
【図面の簡単な説明】
【0007】
実施形態に係る成膜方法を示すフローチャートである。
実施形態に係る成膜方法を示す断面図である。
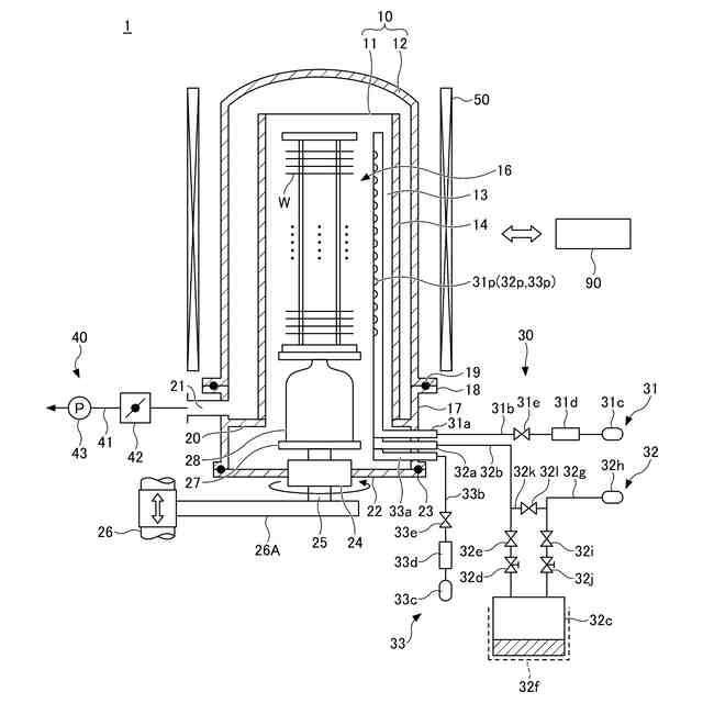
実施形態に係る成膜装置を示す断面図である。
非晶質シリコン膜中のニッケル濃度の水素ガス流量依存性の一例を示す図である。
【発明を実施するための形態】
【0008】
以下、添付の図面を参照しながら、本開示の限定的でない例示の実施形態について説明する。添付の全図面中、同一又は対応する部材又は部品については、同一又は対応する参照符号を付し、重複する説明を省略する。
【0009】
〔成膜方法〕
図1及び図2を参照し、実施形態に係る成膜方法について説明する。以下では、基板の上に多結晶シリコン膜を形成する場合を例に挙げて説明する。多結晶シリコン膜は、例えば3次元NANDフラッシュメモリのチャネルシリコン膜として利用しうる。図1は、実施形態に係る成膜方法を示すフローチャートである。図2は、実施形態に係る成膜方法を示す断面図である。
【0010】
図1に示されるように、実施形態に係る成膜方法は、準備工程S1と、表面状態変更工程S2と、拡散工程S3と、結晶化工程S4とを有する。
(【0011】以降は省略されています)
この特許をJ-PlatPat(特許庁公式サイト)で参照する
関連特許
東ソー株式会社
絶縁電線
今日
個人
フレキシブル電気化学素子
12日前
株式会社ユーシン
操作装置
12日前
日新イオン機器株式会社
イオン源
8日前
ローム株式会社
半導体装置
19日前
ローム株式会社
半導体装置
14日前
太陽誘電株式会社
全固体電池
19日前
太陽誘電株式会社
コイル部品
12日前
株式会社GSユアサ
蓄電設備
12日前
株式会社ホロン
冷陰極電子源
6日前
株式会社GSユアサ
蓄電装置
19日前
株式会社GSユアサ
蓄電設備
12日前
株式会社ホロン
冷陰極電子源
19日前
オムロン株式会社
電磁継電器
13日前
日東電工株式会社
積層体
13日前
ノリタケ株式会社
熱伝導シート
12日前
トヨタ自動車株式会社
冷却構造
今日
トヨタ自動車株式会社
蓄電装置
12日前
トヨタ自動車株式会社
バッテリ
13日前
TDK株式会社
電子部品
19日前
サクサ株式会社
電池の固定構造
12日前
日本特殊陶業株式会社
保持装置
19日前
日本特殊陶業株式会社
保持装置
19日前
日本特殊陶業株式会社
保持装置
1日前
株式会社ダイヘン
搬送装置
12日前
日本特殊陶業株式会社
電極
19日前
住友電装株式会社
コネクタ
今日
日本特殊陶業株式会社
電極
19日前
日東電工株式会社
電子装置
15日前
トヨタ自動車株式会社
電池パック
5日前
日本製紙株式会社
導電性フィルム
13日前
東レエンジニアリング株式会社
実装装置
13日前
日本特殊陶業株式会社
電極
19日前
ベストテック株式会社
装置支持具
12日前
古河電気工業株式会社
端子
12日前
日本製紙株式会社
導電性フィルム
13日前
続きを見る
他の特許を見る