TOP
|
特許
|
意匠
|
商標
特許ウォッチ
Twitter
他の特許を見る
10個以上の画像は省略されています。
公開番号
2025158807
公報種別
公開特許公報(A)
公開日
2025-10-17
出願番号
2024061694
出願日
2024-04-05
発明の名称
振動減衰装置
出願人
ティーワイネット株式会社
代理人
弁理士法人エピファニー特許事務所
主分類
F16F
15/03 20060101AFI20251009BHJP(機械要素または単位;機械または装置の効果的機能を生じ維持するための一般的手段)
要約
【課題】磁力を利用した振動減衰装置において、磁力を作用させる部材の移動量の制限を抑えた振動減衰装置を提供する。
【解決手段】振動減衰装置は、第1方向に沿って相対的に往復移動可能に構成された内側部材及び外側部材を備える振動減衰装置であって、内側部材は、第1方向に直交する第2方向において外側部材の内側に配置されており、外側部材の磁極に対し第2方向において対向して配置され、磁性体で構成された端部部材を備え、外側部材は、平衡状態において、端部部材を吸着するように構成された磁気デバイスを備え、端部部材と磁気デバイスとは、当接しないように第2方向への移動が制限されている。
【選択図】図1
特許請求の範囲
【請求項1】
第1方向に沿って相対的に往復移動可能に構成された内側部材及び外側部材を備える振動減衰装置であって、
前記内側部材は、
第1方向に直交する第2方向において前記外側部材の内側に配置されており、
前記外側部材の磁極に対し第2方向において対向して配置され、磁性体で構成された端部部材を備え、
前記外側部材は、
平衡状態において、前記端部部材を吸着するように構成された磁気デバイスを備え、
前記端部部材と前記磁気デバイスとは、
当接しないように第2方向への移動が制限されている、
振動減衰装置。
続きを表示(約 1,200 文字)
【請求項2】
請求項1に記載の振動減衰装置であって、
前記内側部材は、
第1方向に隔離して配置された第1端部及び第2端部から構成された前記端部部材と、
前記第1端部及び前記第2端部を第1方向に連結する連結部材と、を備え、
前記磁気デバイスは、
一対の磁極が第1方向に沿って配置され、
前記一対の磁極のそれぞれは、
平衡状態において、前記第1端部及び前記第2端部と第2方向に対向して配置され、
前記第1端部及び前記第2端部は、
平衡状態において、第2方向に対向する前記磁気デバイスの磁極に吸着するように構成されている、
振動減衰装置。
【請求項3】
請求項1又は2に記載の振動減衰装置であって、
前記磁気デバイスは、
複数の磁気デバイスから構成されており、
前記複数の磁気デバイスは、
前記内側部材を挟んで第2方向において対向する位置に配置されている少なくとも一対の磁気デバイスを含む、
振動減衰装置。
【請求項4】
請求項1又は2に記載の振動減衰装置であって、
前記端部部材は、
永久磁石により構成されており、
前記磁気デバイスの磁極は、
前記端部部材と極性が反対になるように設定されている、
振動減衰装置。
【請求項5】
請求項1又は2に記載の振動減衰装置であって、
前記端部部材は、
軟磁性材料により構成されている、
振動減衰装置。
【請求項6】
請求項1又は2に記載の振動減衰装置であって、
前記端部部材は、
前記内側部材の中心軸を含む断面において、第2方向の先端が中心軸から外側に向かうに従い第1方向の幅が狭くなる構造を有する、
振動減衰装置。
【請求項7】
請求項1又は2に記載の振動減衰装置であって、
前記内側部材と前記外側部材との第1方向への相対移動に応じて、移動方向と反対向きに荷重を付加する弾性部材を更に備える、
振動減衰装置。
【請求項8】
請求項7に記載の振動減衰装置であって、
前記弾性部材は、
前記内側部材及び前記外側部材の少なくとも一方に連結されている、
振動減衰装置。
【請求項9】
請求項1又は2に記載の振動減衰装置であって、
前記磁気デバイスは、
前記一対の磁極が第1方向に移動可能に構成された電磁石である、
振動減衰装置。
【請求項10】
請求項9に記載の振動減衰装置であって、
前記磁気デバイスは、
中心軸が第1方向に沿うように並べられた複数のコイルを備え、
前記複数のコイルのうち通電する一部のコイルを変動させることにより磁極が第1方向に移動する、
振動減衰装置。
発明の詳細な説明
【技術分野】
【0001】
本発明は、磁力を利用した振動減衰装置に関する。
続きを表示(約 3,000 文字)
【背景技術】
【0002】
従来、「ベースと、上環状永久磁石と、下環状永久磁石と、連接棒と、中心永久磁石とを含み、前記ベースの上表面には金属導体スリーブが連結されており、前記金属導体スリーブは中空の金属円筒であり、前記ベースは金属導体スリーブの下端面を密閉しており、前記上環状永久磁石と下環状永久磁石は形状が同じで、いずれも中空の円環であり、前記上環状永久磁石及び下環状永久磁石は、それぞれ上環状ブッシュ及び下環状ブッシュ内に嵌め込まれており、上環状ブッシュ及び下環状ブッシュは、それぞれ前記金属導体スリーブの内壁の上端及び下端に連結され、前記上環状永久磁石、下環状永久磁石及び前記金属導体スリーブを軸方向において同心にするとともに、前記上環状永久磁石と下環状永久磁石の対向する面の磁極の極性を反対にしており、前記連接棒の軸線は前記金属導体スリーブの中軸線と同軸であり、前記中心永久磁石は中空の円環で、連接棒を同心に被せて固接されており、前記連接棒の上端は前記上環状永久磁石の中心孔を貫通し、前記中心永久磁石は前記上環状永久磁石と下環状永久磁石の間に位置して、前記連接棒とともに上環状永久磁石と下環状永久磁石の間を軸方向に運動することができ、中心永久磁石と上環状永久磁石の対向する面の磁極の極性は反対であり、中心永久磁石と下環状永久磁石の対向する面の磁極の極性は反対であることを特徴とする」一自由度磁力防振装置が知られている(例えば、引用文献1を参照)。
【0003】
引用文献1に開示された一自由度磁力防振装置は、「エネルギー供給を必要とせず、かつ信頼性が高く、静磁力と動磁力を生成することができる。静磁力は、永久磁石の異極が相互に引きつけ合うことにより実現され、動磁力は金属導体スリーブと永久磁石の相対運動により生じる渦電流ダンパにより実現される。静磁力の大きさは変位にのみ関係し、本発明の装置が静止している時も磁力は存在するので、一種の剛性力と見なすことができ、渦電流ダンパは相対運動速度にのみ関係し、磁力機構に運動が発生した時だけ存在するので、一種の粘性減衰力と見なすことができる」ものである。また、この一自由度磁力防振装置は、「剛性コイルバネや空気バネなどの受動防振構造と並列することで、受動防振システムの高周波数減衰性能に影響を与えることなく、固有周波数における振幅値の拡大を小さくし、元のシステムの受動防振性能を効果的に改善することができる」ものである。
【先行技術文献】
【特許文献】
【0004】
特許第6317822号公報
【発明の概要】
【発明が解決しようとする課題】
【0005】
特許文献1に開示されている一自由度磁力防振装置は、「前記上環状永久磁石と下環状永久磁石の対向する面の磁極の極性を反対にし」、「前記中心永久磁石は前記上環状永久磁石と下環状永久磁石の間に位置して、前記連接棒とともに上環状永久磁石と下環状永久磁石の間を軸方向に運動する」ものであるから、中心永久磁石は、平衡状態から上下の何れかの方向に移動する際に延長線上に上環状永久磁石又は下環状永久磁石が存在するため、移動量が制限される、という課題があった。
【0006】
本発明は、以上のような課題を解決するためになされたもので、磁力を利用した振動減衰装置において、磁力を作用させる部材の移動量の制限を抑えた振動減衰装置を提供することを目的とする。
【課題を解決するための手段】
【0007】
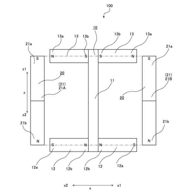
本発明に係る振動減衰装置は、第1方向に沿って相対的に往復移動可能に構成された内側部材及び外側部材を備える振動減衰装置であって、前記内側部材は、第1方向に直交する第2方向において前記外側部材の内側に配置されており、前記外側部材の磁極に対し第2方向において対向して配置され、磁性体で構成された端部部材を備え、前記外側部材は、平衡状態において、前記端部部材を吸着するように構成された磁気デバイスを備え、前記端部部材と前記磁気デバイスとは、当接しないように第2方向への移動が制限されている、ものである。
【発明の効果】
【0008】
上記の発明によれば、内側部材と外側部材との間に吸着する方向の磁力が発生し、内側部材及び外側部材は、それぞれの移動経路が交差しないため、お互いに移動を制限することがない。
【図面の簡単な説明】
【0009】
実施の形態1に係る振動減衰装置100の主な構成の概略図である。
図1の第1端部13及び磁気デバイス21の磁極21aの拡大図である。
図1に示した振動減衰装置100の内側部材10がz方向に移動した状態を示す概略図である。
実施の形態1に係る振動減衰装置100の内側部材10の移動距離と発生する磁力との関係を示す図である。
実施の形態1に係る振動減衰装置100の変形例である振動減衰装置100Aの主な構成の概略図である。
図5に示す変形例に係る振動減衰装置100Aの内側部材10の移動距離と発生する磁力との関係を示す図である。
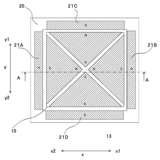
実施の形態1に係る振動減衰装置100及び100Aを平面視した(z方向から見た)状態の概略図の一例である。
実施の形態1に係る振動減衰装置100及び100Aを平面視した(z方向から見た)状態の概略図の他の例である。
実施の形態1に係る振動減衰装置100の変形例である振動減衰装置100Bの主な構成の概略図である。
実施の形態1に係る振動減衰装置100の変形例である振動減衰装置100Cの主な構成の概略図である。
実施の形態2に係る振動減衰装置200の主な構成の概略図である。
図1に示す振動減衰装置100における内側部材10の移動距離と発生する荷重との関係及び弾性部材30の伸縮量と発生する荷重との関係を示す図である。
実施の形態2に係る振動減衰装置200の内側部材10の移動距離と発生する磁力との関係を示す図である。
図11に示す振動減衰装置200における振動減衰装置100を図5に示す振動減衰装置100Aに置換した場合の内側部材10の移動距離と発生する磁力との関係を示す図である。
実施の形態3に係る振動減衰装置300の主な構成の概略図である。
図15に示す状態の振動減衰装置300から内側部材10がz2方向に移動した状態の概略図である。
実施の形態1に係る振動減衰装置100から第2端部12を取り除いた変形例である振動減衰装置100Dの主な構成の概略図である。
【発明を実施するための形態】
【0010】
以下に、本発明の振動減衰装置の好ましい実施の形態を、図面を参照して詳しく説明する。なお、以下に述べる実施の形態は、本発明の好適な具体例であるから、技術的に好ましい種々の限定が付されているが、本発明の範囲は、以下の説明において特に本発明を限定する旨の記載がない限り、これらの態様に限られるものではない。
(【0011】以降は省略されています)
特許ウォッチbot のツイートを見る
この特許をJ-PlatPat(特許庁公式サイト)で参照する
関連特許
個人
留め具
1か月前
個人
鍋虫ねじ
2か月前
個人
回転伝達機構
3か月前
個人
ホース保持具
7か月前
個人
紛体用仕切弁
2か月前
個人
トーションバー
7か月前
個人
差動歯車用歯形
4か月前
個人
ジョイント
2か月前
個人
給排気装置
1か月前
株式会社不二工機
電磁弁
6か月前
株式会社不二工機
電磁弁
4か月前
個人
ナット
2か月前
個人
地震の揺れ回避装置
4か月前
個人
ナット
16日前
個人
吐出量監視装置
2か月前
個人
ゲート弁バルブ
1日前
カヤバ株式会社
緩衝器
1か月前
カヤバ株式会社
ダンパ
5か月前
カヤバ株式会社
ダンパ
5か月前
柿沼金属精機株式会社
分岐管
3か月前
カヤバ株式会社
緩衝器
4か月前
カヤバ株式会社
緩衝器
4か月前
兼工業株式会社
バルブ
17日前
株式会社タカギ
水栓装置
3か月前
個人
固着具と固着具の固定方法
6か月前
株式会社ノーリツ
分配弁
1か月前
株式会社フジキン
ボールバルブ
5か月前
株式会社不二工機
電磁弁
2か月前
株式会社ノーリツ
分配弁
6か月前
株式会社ノーリツ
分配弁
6か月前
株式会社ノーリツ
分配弁
6か月前
個人
固着具と固着具の固定方法
6か月前
株式会社奥村組
制振機構
1か月前
株式会社奥村組
制振機構
1か月前
株式会社不二工機
電動弁
1か月前
個人
固着具と固着具の固定方法
7か月前
続きを見る
他の特許を見る