TOP
|
特許
|
意匠
|
商標
特許ウォッチ
Twitter
他の特許を見る
10個以上の画像は省略されています。
公開番号
2025157974
公報種別
公開特許公報(A)
公開日
2025-10-16
出願番号
2024060372
出願日
2024-04-03
発明の名称
情報処理装置、情報処理方法、および、情報処理プログラム
出願人
TIS株式会社
代理人
弁理士法人酒井国際特許事務所
主分類
G06Q
30/0601 20230101AFI20251008BHJP(計算;計数)
要約
【課題】情報サービスを利用する際の利便性を高めること。
【解決手段】情報処理装置は、取得部と、決定部とを備える。取得部は、所定の情報サービスの利用に関する所定行動を利用者が示した場合に、利用者の利用者情報として、利用者の身体的情報を少なくとも含む利用者の属性情報および利用者の所定の情報サービスにおける行動を示す行動情報、または、利用者の身体的情報を少なくとも含む利用者の属性情報および利用者の所定の情報サービスにおける購買を示す購買情報を取得する。決定部は、利用者情報と、所定の情報サービスで管理される管理情報とに基づいて、レコメンド情報を決定する。
【選択図】図6
特許請求の範囲
【請求項1】
所定の情報サービスの利用に関する所定行動を利用者が示した場合に、前記利用者の利用者情報として、前記利用者の身体的情報を少なくとも含む前記利用者の属性情報および前記利用者の所定の情報サービスにおける行動を示す行動情報、または、前記利用者の身体的情報を少なくとも含む前記利用者の属性情報および前記利用者の所定の情報サービスにおける購買を示す購買情報を取得する取得部と、
前記利用者情報と、所定の情報サービスで管理される管理情報とに基づいて、レコメンド情報を決定する決定部と、
を備える情報処理装置。
続きを表示(約 1,700 文字)
【請求項2】
前記取得部は、
前記所定の情報サービスを前記利用者が利用した場合に、前記利用者による前記所定の情報サービスの利用履歴を示す前記行動情報を取得し、
前記所定の情報サービスで提供される商品を前記利用者が購入した場合に、前記利用者による商品の購入履歴を示す前記購買情報を取得する
請求項1に記載の情報処理装置。
【請求項3】
前記管理情報には、前記所定の情報サービスを利用したことで蓄積される顧客情報が含まれ、
前記決定部は、前記所定の情報サービスを利用した顧客のうち、前記利用者情報に対応する顧客の傾向であって、前記顧客情報に基づき生成された傾向に基づいて、前記レコメンド情報を決定する
請求項1に記載の情報処理装置。
【請求項4】
前記決定部は、前記レコメンド情報の中に、前記利用者が好むブランド、もしくは、前記利用者が指定した価格帯のいずれか応じた商品の情報が存在する場合には、前記商品をレコメンド商品として優先的に決定する
請求項3に記載の情報処理装置。
【請求項5】
前記決定部は、前記利用者情報に基づいて、前記レコメンド情報として、前記レコメンド商品の最適な着こなし情報をさらに決定する
請求項4に記載の情報処理装置。
【請求項6】
前記管理情報には、前記所定の情報サービスに属する販売員の情報である販売員情報が含まれる
請求項1に記載の情報処理装置。
【請求項7】
前記決定部は、前記販売員情報に基づいて、前記所定の情報サービスに属する販売員のうち、前記利用者情報に対応する販売員を特定し、特定した販売員に関する情報を前記レコメンド情報として決定する
請求項6に記載の情報処理装置。
【請求項8】
前記所定の情報サービスそれぞれと、前記情報処理装置とは、前記利用者を識別する識別情報によって互いに連携され、
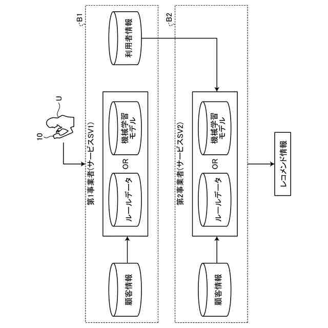
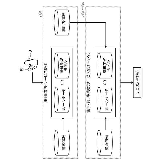
前記取得部は、前記所定の情報サービスのうち、第1事業者が提供する第1の情報サービスにおいて前記利用者が前記所定行動を示した場合には、前記利用者の利用者情報として、前記利用者の身体的情報を少なくとも含む前記利用者の属性情報および前記利用者の前記第1の情報サービスにおける行動を示す行動情報、または、前記利用者の身体的情報を少なくとも含む前記利用者の属性情報および前記利用者の前記第1の情報サービスにおける購買を示す購買情報を取得し、
前記決定部は、前記所定の情報サービスのうち、前記第1事業者とは異なる第2事業者が提供する第2の情報サービスで管理される管理情報と、前記利用者情報とに基づいて、前記第2の情報サービスに対応するレコメンド情報を決定する
請求項1に記載の情報処理装置。
【請求項9】
情報処理装置が実行する情報処理方法であって、
所定の情報サービスの利用に関する所定行動を利用者が示した場合に、前記利用者の利用者情報として、前記利用者の身体的情報を少なくとも含む前記利用者の属性情報および前記利用者の所定の情報サービスにおける行動を示す行動情報、または、前記利用者の身体的情報を少なくとも含む前記利用者の属性情報および前記利用者の所定の情報サービスにおける購買を示す購買情報を取得する取得工程と、
前記利用者情報と、所定の情報サービスで管理される管理情報とに基づいて、レコメンド情報を決定する決定工程と、
を含む情報処理方法。
【請求項10】
所定の情報サービスの利用に関する所定行動を利用者が示した場合に、前記利用者の利用者情報として、前記利用者の身体的情報を少なくとも含む前記利用者の属性情報および前記利用者の所定の情報サービスにおける行動を示す行動情報、または、前記利用者の身体的情報を少なくとも含む前記利用者の属性情報および前記利用者の所定の情報サービスにおける購買を示す購買情報を取得する取得手順と、
前記利用者情報と、所定の情報サービスで管理される管理情報とに基づいて、レコメンド情報を決定する決定手順と、
をコンピュータに実行させる情報処理プログラム。
発明の詳細な説明
【技術分野】
【0001】
本発明は、情報処理装置、情報処理方法、および、情報処理プログラムに関する。
続きを表示(約 1,400 文字)
【背景技術】
【0002】
従来、利用者の身体的特徴に合ったアイテムを利用者に対して出力する手法が提案されている。
【先行技術文献】
【特許文献】
【0003】
特開2022-145944号公報
【発明の概要】
【発明が解決しようとする課題】
【0004】
例えば、ECサイトのような情報サービスを利用して商品を購入しようとする場合、身体的情報と各種行動履歴とに基づいて、より適したレコメンド商品等を総合的に判断し、判断結果を活用して利用者の購買行動や販売員の接客行動を支援したいというニーズがある。
【0005】
上記の従来技術では、利用者の身体的特徴に合ったアイテムを利用者にレコメンドしているに過ぎないため、行動支援のニーズを満たすことができるとはいい難く、情報サービスを利用する際の利便性が高いとはいえない。
【0006】
本発明は、上記に鑑みてなされたものであって、情報サービスを利用する際の利便性を高めることができる情報処理装置、情報処理方法、および、情報処理プログラムを提案する。
【課題を解決するための手段】
【0007】
上記の課題を解決するために、本発明に係る一形態の情報処理装置は、所定の情報サービスの利用に関する所定行動を利用者が示した場合に、前記利用者の利用者情報として、前記利用者の身体的情報を少なくとも含む前記利用者の属性情報および前記利用者の所定の情報サービスにおける行動を示す行動情報、または、前記利用者の身体的情報を少なくとも含む前記利用者の属性情報および前記利用者の所定の情報サービスにおける購買を示す購買情報を取得する取得部と、前記利用者情報と、所定の情報サービスで管理される管理情報とに基づいて、レコメンド情報を決定する決定部と、を備える。
【発明の効果】
【0008】
本発明によれば、情報サービスを利用する際の利便性を高めることができる。
【図面の簡単な説明】
【0009】
図1は、実施形態に係る情報処理の概要を示す図である。
図2は、実施形態に係る情報処理システムの構成例を示す図である。
図3は、事業者装置と情報処理装置との情報連携に応じて実現される機能の一例を示す図(1)である。
図4は、事業者装置と情報処理装置との情報連携に応じて実現される機能の一例を示す図(2)である。
図5は、事業者装置と情報処理装置との情報連携に応じて実現される機能の一例を示す図(3)である。
図6は、実施形態に係る装置構成例を示す図である。
図7は、利用者Uをパーソナル診断に誘導する場面を示す図である。
図8は、実施形態に係る情報処理の手順を示すフローチャートである。
図9は、実施形態に係る装置の機能を実現するコンピュータの一例を示すハードウェア構成図である。
【発明を実施するための形態】
【0010】
以下に添付図面を参照しながら、本開示の実施形態について詳細に説明する。なお、本明細書および図面において、実質的に同一の機能構成を有する構成要素については、同一の符号を付することにより重複説明を省略する。
(【0011】以降は省略されています)
この特許をJ-PlatPat(特許庁公式サイト)で参照する
関連特許
TIS株式会社
情報処理装置、情報処理方法、および、情報処理プログラム
6日前
旭化成株式会社
可能性情報生成システム、プログラム及び可能性情報生成方法
12日前
TIS株式会社
情報処理装置、情報処理方法および情報処理プログラム
5日前
個人
詐欺保険
8日前
個人
縁伊達ポイン
8日前
個人
QRコードの彩色
12日前
個人
地球保全システム
21日前
個人
冷凍食品輸出支援構造
1か月前
個人
為替ポイント伊達夢貯
1か月前
個人
表変換編集支援システム
1か月前
個人
残土処理システム
14日前
個人
農作物用途分配システム
7日前
個人
タッチパネル操作指代替具
1日前
個人
知的財産出願支援システム
15日前
個人
知財出願支援AIシステム
1か月前
個人
AIによる情報の売買の仲介
1か月前
個人
パスワード管理支援システム
1か月前
個人
スケジュール調整プログラム
今日
個人
携帯端末障害問合せシステム
今日
個人
行動時間管理システム
1か月前
株式会社キーエンス
受発注システム
20日前
株式会社キーエンス
受発注システム
20日前
株式会社キーエンス
受発注システム
20日前
日本精機株式会社
施工管理システム
1か月前
個人
AIキャラクター制御システム
1か月前
個人
食品レシピ生成システム
20日前
株式会社アジラ
進入判定装置
1か月前
個人
海外支援型農作物活用システム
1か月前
個人
システム及びプログラム
1か月前
個人
未来型家系図構築システム
1か月前
大同特殊鋼株式会社
疵判定方法
27日前
個人
音声対話型帳票生成支援システム
1か月前
エッグス株式会社
情報処理装置
1日前
個人
SaaS型勤務調整支援システム
1か月前
サクサ株式会社
中継装置
1か月前
個人
冷凍加工連携型農場運用システム
1か月前
続きを見る
他の特許を見る