TOP
|
特許
|
意匠
|
商標
特許ウォッチ
Twitter
他の特許を見る
公開番号
2025157933
公報種別
公開特許公報(A)
公開日
2025-10-16
出願番号
2024060295
出願日
2024-04-03
発明の名称
電池及びその製造方法
出願人
トヨタ自動車株式会社
代理人
弁理士法人太陽国際特許事務所
主分類
H01M
50/105 20210101AFI20251008BHJP(基本的電気素子)
要約
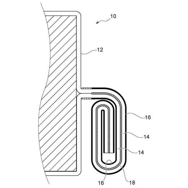
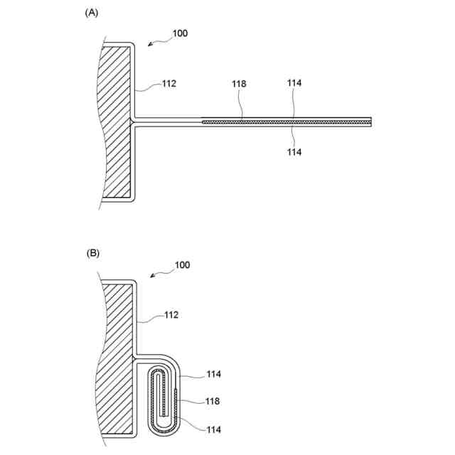
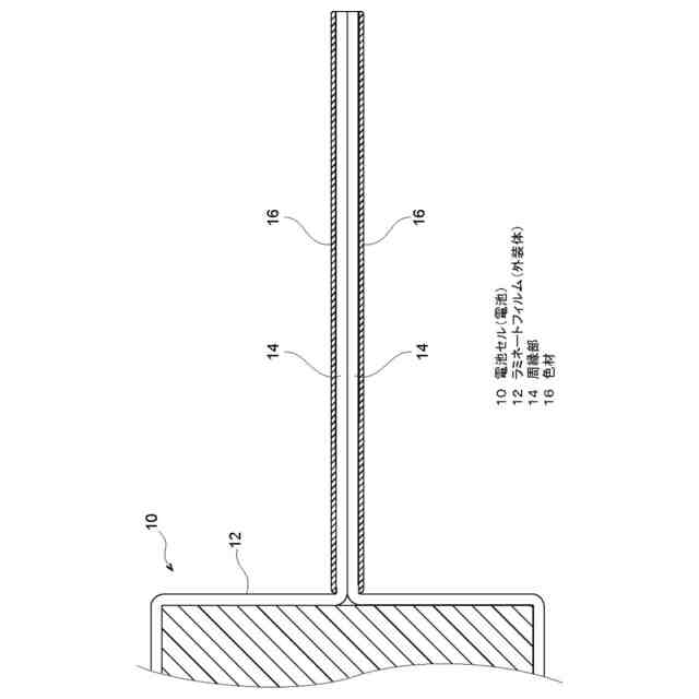
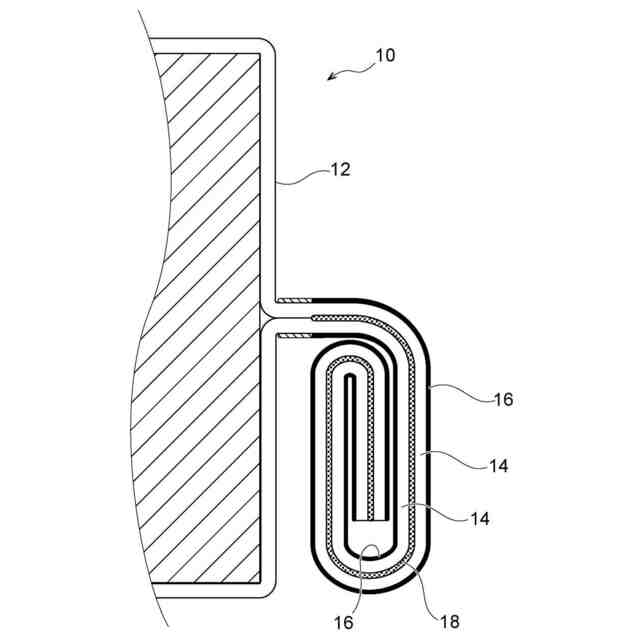
【課題】外装体の周縁部の折り曲げられた箇所が、熱溶着された箇所か否かを目視によって判別し易い電池と、その製造方法を得る。
【解決手段】電極体を内部に収容し、重なり合う周縁部14が熱溶着によって接合されるとともに折り曲げられる外装体12を備えた電池10及びその製造方法であって、周縁部14に、加熱することによって変色する色材16が塗布されており、周縁部14の色材16が変色した箇所だけが、周縁部14の折り曲げ箇所とされている。
【選択図】図3
特許請求の範囲
【請求項1】
電極体を内部に収容し、重なり合う周縁部が熱溶着によって接合されるとともに折り曲げられる外装体を備え、
前記周縁部に、加熱することによって変色する色材が塗布されており、
前記周縁部の前記色材が変色した箇所だけが、前記周縁部の折り曲げ箇所とされている電池。
続きを表示(約 390 文字)
【請求項2】
前記色材は、前記周縁部の全体に塗布されている請求項1に記載の電池。
【請求項3】
前記色材は、変色状態を維持する不可逆性の色材である請求項1又は請求項2に記載の電池。
【請求項4】
電極体を内部に収容した外装体の重なり合う周縁部に、加熱することによって変色する色材を塗布する塗布工程と、
前記周縁部を熱溶着によって接合する接合工程と、
前記周縁部の前記色材が変色した箇所だけを折り曲げ箇所として折り曲げる折曲工程と、
を有する電池の製造方法。
【請求項5】
前記塗布工程において、前記色材は、前記周縁部の全体に塗布される請求項4に記載の電池の製造方法。
【請求項6】
前記色材は、変色状態を維持する不可逆性の色材である請求項4又は請求項5に記載の電池の製造方法。
発明の詳細な説明
【技術分野】
【0001】
本発明は、電池及びその製造方法に関する。
続きを表示(約 1,000 文字)
【背景技術】
【0002】
ラミネート型電池の外装体であるラミネートフィルムの熱溶着した周縁部を折り曲げる電池の製造方法は、従来から知られている(例えば、特許文献1参照)。
【先行技術文献】
【特許文献】
【0003】
特開2017-228381号公報
【発明の概要】
【発明が解決しようとする課題】
【0004】
ところで、ラミネート型電池のラミネートフィルム(外装体)の周縁部は、熱溶着した箇所を含んで折り曲げる必要がある。しかしながら、ラミネートフィルム(外装体)の周縁部の折り曲げ箇所が、熱溶着された箇所か否かを目視によって判別することは難しい。
【0005】
そこで、本発明は、外装体の周縁部の折り曲げられた箇所が、熱溶着された箇所か否かを目視によって判別し易い電池と、その製造方法を得ることを目的とする。
【課題を解決するための手段】
【0006】
上記の目的を達成するために、本発明に係る第1の態様の電池は、電極体を内部に収容し、重なり合う周縁部が熱溶着によって接合されるとともに折り曲げられる外装体を備え、前記周縁部に、加熱することによって変色する色材が塗布されており、前記周縁部の前記色材が変色した箇所だけが、前記周縁部の折り曲げ箇所とされている。
【0007】
第1の態様の発明によれば、電極体を内部に収容した外装体は、重なり合う周縁部が熱溶着によって接合され、かつ折り曲げられるが、その周縁部に、加熱することによって変色する色材が塗布されており、その周縁部の色材が変色した箇所だけが、周縁部の折り曲げ箇所とされている。したがって、外装体の周縁部の折り曲げられた箇所が、熱溶着された箇所か否かを目視によって判別し易い。
【0008】
また、本発明に係る第2の態様の電池は、第1の態様の電池であって、前記色材は、前記周縁部の全体に塗布されている。
【0009】
第2の態様の発明によれば、色材が、周縁部の全体に塗布されている。したがって、色材が、周縁部の一部にしか塗布されていない場合に比べて、熱溶着された範囲が目視によって判別し易い。
【0010】
また、本発明に係る第3の態様の電池は、第1又は第2の態様の電池であって、前記色材は、変色状態を維持する不可逆性の色材である。
(【0011】以降は省略されています)
この特許をJ-PlatPat(特許庁公式サイト)で参照する
関連特許
東ソー株式会社
絶縁電線
今日
個人
フレキシブル電気化学素子
12日前
株式会社ユーシン
操作装置
12日前
日新イオン機器株式会社
イオン源
8日前
ローム株式会社
半導体装置
19日前
ローム株式会社
半導体装置
14日前
太陽誘電株式会社
全固体電池
19日前
太陽誘電株式会社
コイル部品
12日前
株式会社GSユアサ
蓄電設備
12日前
株式会社ホロン
冷陰極電子源
6日前
株式会社GSユアサ
蓄電装置
19日前
株式会社GSユアサ
蓄電設備
12日前
株式会社ホロン
冷陰極電子源
19日前
オムロン株式会社
電磁継電器
13日前
日東電工株式会社
積層体
13日前
ノリタケ株式会社
熱伝導シート
12日前
トヨタ自動車株式会社
冷却構造
今日
トヨタ自動車株式会社
蓄電装置
12日前
トヨタ自動車株式会社
バッテリ
13日前
TDK株式会社
電子部品
19日前
サクサ株式会社
電池の固定構造
12日前
日本特殊陶業株式会社
保持装置
19日前
日本特殊陶業株式会社
保持装置
19日前
日本特殊陶業株式会社
保持装置
1日前
株式会社ダイヘン
搬送装置
12日前
日本特殊陶業株式会社
電極
19日前
住友電装株式会社
コネクタ
今日
日本特殊陶業株式会社
電極
19日前
日東電工株式会社
電子装置
15日前
トヨタ自動車株式会社
電池パック
5日前
日本製紙株式会社
導電性フィルム
13日前
東レエンジニアリング株式会社
実装装置
13日前
日本特殊陶業株式会社
電極
19日前
ベストテック株式会社
装置支持具
12日前
古河電気工業株式会社
端子
12日前
日本製紙株式会社
導電性フィルム
13日前
続きを見る
他の特許を見る