TOP
|
特許
|
意匠
|
商標
特許ウォッチ
Twitter
他の特許を見る
公開番号
2025157860
公報種別
公開特許公報(A)
公開日
2025-10-16
出願番号
2024060162
出願日
2024-04-03
発明の名称
インバータ装置
出願人
トヨタ自動車株式会社
代理人
弁理士法人 快友国際特許事務所
主分類
H02M
7/48 20070101AFI20251008BHJP(電力の発電,変換,配電)
要約
【課題】 電流センサ及びフェライトをコンパクトに搭載するための技術を提供する。
【解決手段】 インバータ装置は、筐体と、前記筐体内に収容されるインバータ回路と、前記インバータ回路から、前記筐体に形成されている開口を通り、前記筐体の外に位置するモータ端子台まで延びるバスバと、前記開口の周縁に固定され、前記バスバを支持する支持台と、を備え、前記支持台には、前記バスバを流れる電流を計測する電流センサと、前記バスバを流れる電流のノイズを低減するフェライトと、の双方が固定されている。
【選択図】図1
特許請求の範囲
【請求項1】
筐体と、
前記筐体内に収容されるインバータ回路と、
前記インバータ回路から、前記筐体に形成されている開口を通り、前記筐体の外に位置するモータ端子台まで延びるバスバと、
前記開口の周縁に固定され、前記バスバを支持する支持台と、
を備え、
前記支持台には、前記バスバを流れる電流を計測する電流センサと、前記バスバを流れる電流のノイズを低減するフェライトと、の双方が固定されている、
インバータ装置。
発明の詳細な説明
【技術分野】
【0001】
本明細書は、インバータ装置に関する。
続きを表示(約 1,100 文字)
【背景技術】
【0002】
特許文献1には、インバータの回路基板から延びるバスバに一体化されている電流センサが開示されている。特許文献2には、インバータから延びる導電部材の外周縁を囲むフェライトが開示されている。
【先行技術文献】
【特許文献】
【0003】
特開2022-098336号公報
特開2010-233293号公報
【発明の概要】
【発明が解決しようとする課題】
【0004】
本明細書では、電流センサ及びフェライトをコンパクトに搭載するための技術を提供する。
【課題を解決するための手段】
【0005】
本明細書で開示するインバータ装置は、筐体と、前記筐体内に収容されるインバータ回路と、前記インバータ回路から、前記筐体に形成されている開口を通り、前記筐体の外に位置するモータ端子台まで延びるバスバと、前記開口の周縁に固定され、前記バスバを支持する支持台と、を備え、前記支持台には、前記バスバを流れる電流を計測する電流センサと、前記バスバを流れる電流のノイズを低減するフェライトと、の双方が固定されている。
【0006】
上記の構成によれば、電流センサとフェライトを筐体の開口付近に集約することができる。これにより、電流センサ及びフェライトをコンパクトに搭載することができる。
【0007】
本明細書が開示する技術の詳細とさらなる改良は以下の「発明を実施するための形態」にて説明する。
【図面の簡単な説明】
【0008】
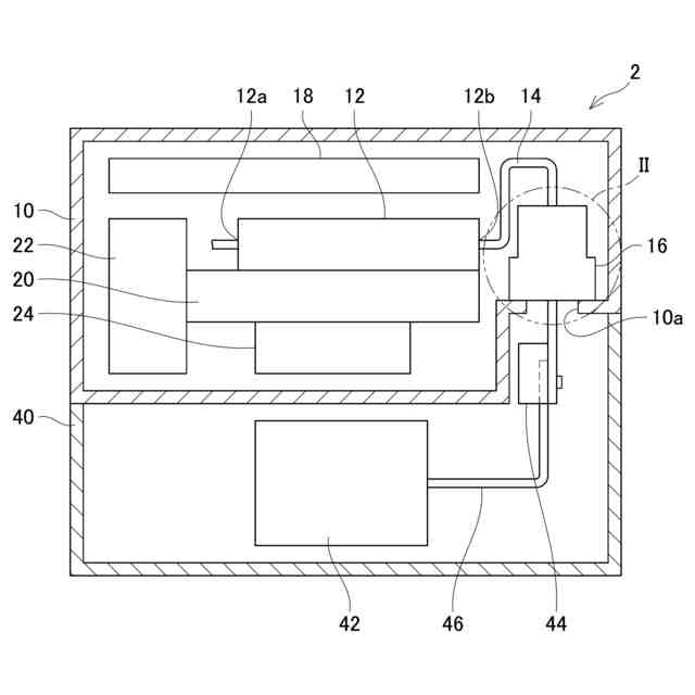
インバータ装置の断面図である。
図1の範囲IIにおける断面拡大図である。
【発明を実施するための形態】
【0009】
インバータ装置2は、車両に搭載される。インバータ装置2は、車載バッテリ(図示省略)からの直流電力を交流電力に変換し、走行用のモータ42へ供給する。なお、インバータ装置2は、車両の制動時にモータ42で発生する交流電力を直流電力に変換し、車載バッテリへ供給してもよい。インバータ装置2は、モータ42を収容するモータ筐体40の一面(例えば上面)に配置される。
【0010】
インバータ装置2は、インバータ筐体10と、インバータ回路12と、バスバ14と、支持台16と、制御基板18と、冷却器20と、コンデンサ22と、フィルタ24と、を備える。各部12、14、16、18、20、22、及び、24は、インバータ筐体10内に収容される。
(【0011】以降は省略されています)
この特許をJ-PlatPat(特許庁公式サイト)で参照する
関連特許
トヨタ自動車株式会社
電池
1日前
トヨタ自動車株式会社
製造設備
1日前
トヨタ自動車株式会社
蓄電セル
3日前
トヨタ自動車株式会社
監視装置
1日前
トヨタ自動車株式会社
車両駆動装置
3日前
トヨタ自動車株式会社
操舵制御装置
3日前
トヨタ自動車株式会社
車両前部構造
8日前
トヨタ自動車株式会社
車両の制御装置
3日前
トヨタ自動車株式会社
ソフトウェア開発の視覚化
1日前
トヨタ自動車株式会社
充放電装置及び充放電方法
3日前
株式会社デンソー
電気回路
3日前
トヨタ自動車株式会社
車両内に表示されたコンテンツの管理
1日前
トヨタ自動車株式会社
車両制御装置、車両制御方法及びプログラム
3日前
トヨタ自動車株式会社
固体電解質層及びその製造方法並びに固体電池
1日前
株式会社デンソー
半導体装置とその製造方法
3日前
トヨタ自動車株式会社
情報処理装置、情報処理方法、及び、プログラム
1日前
トヨタ自動車株式会社
インシデント回避のための運転システムの連続的な更新
1日前
トヨタ自動車株式会社
蓄電セル
3日前
株式会社ヨコオ
アンテナ装置、アンテナ装置の取付方法
3日前
トヨタ自動車株式会社
車両操作を制御する方法、方法を実装するシステム及び車両
1日前
トヨタ自動車株式会社
運転支援装置
1日前
トヨタ自動車株式会社
ダイヤモンド複合金属薄膜及びダイヤモンド複合金属薄膜の製造方法
1日前
トヨタ自動車株式会社
機械学習を使用した車両パフォーマンスの最適化のためのシステム及び方法
4日前
トヨタ自動車株式会社
車両のガラスの透過率を制御する方法、方法を実装するためのシステム及び車両
1日前
トヨタ自動車株式会社
車両プロパティデータ及びHMIアプリケーション固有データに対するアクセスの統合
1日前
株式会社デンソー
半導体装置の製造方法
1日前
株式会社デンソー
半導体装置およびその製造方法
1日前
トヨタ自動車株式会社
車両用表示制御装置、車両用表示システム、車両、表示方法及びプログラム
8日前
トヨタ自動車株式会社
車両において検出されるユーザデバイスをサポートするための車載インフォテインメントシステムに対する車両アプリケーションのプロビジョニング
1日前
個人
単極モータ
1か月前
個人
電気を重力で発電装置
9日前
キヤノン電子株式会社
モータ
16日前
キヤノン電子株式会社
モータ
8日前
株式会社アイシン
ロータ
1か月前
株式会社アイシン
ロータ
1か月前
コーセル株式会社
電源装置
17日前
続きを見る
他の特許を見る