TOP
|
特許
|
意匠
|
商標
特許ウォッチ
Twitter
他の特許を見る
10個以上の画像は省略されています。
公開番号
2025157261
公報種別
公開特許公報(A)
公開日
2025-10-15
出願番号
2025107101,2023081518
出願日
2025-06-25,2017-08-18
発明の名称
高性能コンピューティング環境における高速ハイブリッド再構成をサポートするためのシステムおよび方法
出願人
オラクル・インターナショナル・コーポレイション
代理人
弁理士法人深見特許事務所
主分類
H04L
41/082 20220101AFI20251007BHJP(電気通信技術)
要約
【課題】SR-IOV vSwitchアーキテクチャを用いるコンピュータシステム仮想化およびライブマイグレーションをサポートする。
【解決手段】ネットワークのうちさまざまな下位区分を選択するためのさまざまなルーティングアルゴリズムを用いた高速の部分的ネットワーク再構成を可能にするハイブリッド再構成方式であって、部分的な再構成は、初期の全体構成よりも桁違いに高速であり得、無損失ネットワークにおける性能駆動型の再構成を検討することが可能となる。
【選択図】図16
特許請求の範囲
【請求項1】
高性能コンピューティング環境において高速ハイブリッド再構成をサポートするためのシステムであって、
1つ以上のマイクロプロセッサと、
第1のサブネットとを含み、前記第1のサブネットは、
複数のスイッチを含み、前記複数のスイッチは少なくともリーフスイッチを含み、前記複数のスイッチの各々は複数のスイッチポートを含み、前記第1のサブネットはさらに、
各々が少なくとも1つのホストチャネルアダプタポートを含む複数のホストチャネルアダプタと、
複数のエンドノードとを含み、前記複数のエンドノードの各々は、前記複数のホストチャネルアダプタのうち少なくとも1つのホストチャネルアダプタに関連付けられており、
前記第1のサブネットのうちの前記複数のスイッチは、複数のレベルを有するネットワークアーキテクチャに配置され、前記複数のレベルの各々は、前記複数のスイッチのうち少なくとも1つのスイッチを含み、
前記複数のスイッチは、最初に第1の構成方法に従って構成され、前記第1の構成方法は、前記複数のエンドノードについての第1の順序付けに関連付けられており、
前記複数のスイッチのサブセットは前記第1のサブネットのサブ・サブネットとして構成されており、前記第1のサブネットの前記サブ・サブネットは、前記第1のサブネットの前記複数のレベルよりも少ないいくつかのレベルを含み、
前記第1のサブネットの前記サブ・サブネットは第2の構成方法に従って再構成される、システム。
続きを表示(約 1,800 文字)
【請求項2】
前記第1のサブネットの前記複数のエンドノードは前記複数のスイッチを介して相互接続される、請求項1に記載のシステム。
【請求項3】
前記複数のエンドノードのサブセットは前記第1のサブネットの前記サブ・サブネットに関連付けられており、
前記第1のサブネットの前記サブ・サブネットは、前記複数のエンドノードのサブセット間のトラフィックが前記第1のサブネットの前記サブ・サブネットとして構成された前記複数のスイッチの前記サブセットに制限されるように構成されている、請求項2に記載のシステム。
【請求項4】
前記第2の再構成方法は、前記第1のサブネットの前記サブ・サブネットに関連付けられた前記複数のエンドノードの前記サブセットのうち少なくとも2つのエンドノードについての第2の順序付けに関連付けられている、請求項3に記載のシステム。
【請求項5】
前記第1のサブネットの前記サブ・サブネットに関連付けられた前記複数のエンドノードの前記サブセットのうち前記少なくとも2つのエンドノードについての前記第2の順序付けは、システムアドミニストレータから受取られる、請求項4に記載のシステム。
【請求項6】
前記第1のサブネットの前記サブ・サブネットに関連付けられた前記複数のエンドノードの前記サブセットのうち少なくとも2つのエンドノードについての前記第2の順序付けは、管理エンティティから受取られる、請求項4に記載のシステム。
【請求項7】
前記第1のサブネットはインフィニバンドサブネットを含み、
前記管理エンティティは、
サブネットマネージャ、
ファブリックマネージャ、および、
グローバルファブリックマネージャからなる群から選択される管理エンティティである、請求項6に記載のシステム。
【請求項8】
高性能コンピューティング環境において高速ハイブリッド再構成をサポートするための方法であって、
1つ以上のマイクロプロセッサにおいて第1のサブネットを設けるステップを含み、前記第1のサブネットは、
複数のスイッチを含み、前記複数のスイッチは少なくともリーフスイッチを含み、前記複数のスイッチの各々は複数のスイッチポートを含み、前記第1のサブネットはさらに、
各々が少なくとも1つのホストチャネルアダプタポートを含む複数のホストチャネルアダプタと、
複数のエンドノードとを含み、前記複数のエンドノードの各々は、前記複数のホストチャネルアダプタのうち少なくとも1つのホストチャネルアダプタに関連付けられており、前記方法はさらに、
複数のレベルを有するネットワークアーキテクチャにおいて、前記第1のサブネットのうちの前記複数のスイッチを配置するステップを含み、前記複数のレベルの各々は、前記複数のスイッチのうち少なくとも1つのスイッチを含み、前記方法はさらに、
第1の構成方法に従って前記複数のスイッチを構成するステップを含み、前記第1の構成方法は、前記複数のエンドノードについての第1の順序付けに関連付けられており、前記方法はさらに、
前記複数のスイッチのサブセットを前記第1のサブネットのサブ・サブネットとして構成するステップを含み、前記第1のサブネットの前記サブ・サブネットは、前記第1のサブネットの前記複数のレベルよりも少ないいくつかのレベルを含み、前記方法はさらに、
第2の構成方法に従って前記第1のサブネットの前記サブ・サブネットを再構成するステップを含む、方法。
【請求項9】
前記第1のサブネットの前記複数のエンドノードは前記複数のスイッチを介して相互接続される、請求項8に記載の方法。
【請求項10】
前記複数のエンドノードのサブセットは前記第1のサブネットの前記サブ・サブネットに関連付けられており、
前記第1のサブネットの前記サブ・サブネットは、前記複数のエンドノードのサブセット間のトラフィックが前記第1のサブネットの前記サブ・サブネットとして構成された前記複数のスイッチの前記サブセットに制限されるように構成されている、請求項9に記載の方法。
(【請求項11】以降は省略されています)
発明の詳細な説明
【技術分野】
【0001】
著作権表示:
この特許文献の開示の一部は、著作権保護の対象となる資料を含む。この特許文献または特許開示は特許商標庁の特許ファイルまたは記録に記載されているため、著作権保有者は、何人によるその複写複製に対しても異議はないが、その他の場合には如何なるときもすべての著作権を保有する。
続きを表示(約 3,400 文字)
【0002】
発明の分野:
本発明は、概して、コンピュータシステムに関し、特に、SR-IOV vSwitchアーキテクチャを用いるコンピュータシステム仮想化およびライブマイグレーションをサポートすることに関する。
【背景技術】
【0003】
背景:
導入されるクラウドコンピューティングアーキテクチャがより大規模になるのに応じて、従来のネットワークおよびストレージに関する性能および管理の障害が深刻な問題になってきている。クラウドコンピューティングファブリックのための基礎としてインフィニバンド(登録商標)(InfiniBand:IB)技術を用いることへの関心がますます高まってきている。これは、本発明の実施形態が対応するように意図された一般領域である。
【発明の概要】
【課題を解決するための手段】
【0004】
概要:
一実施形態に従うと、システムおよび方法は、大規模な無損失ネットワークにおいて性能駆動型の再構成を提供することができる。ハイブリッド再構成方式は、ネットワークのうちさまざまな下位区分を選択するためのさまざまなルーティングアルゴリズムを用いた高速の部分的なネットワーク再構成を可能にし得る。部分的な再構成は、初期の全体構成よりも桁違いに高速であり得るので、無損失ネットワークにおける性能駆動型の再構成を検討することが可能となり得る。提案されているメカニズムは、大型のHPCシステムおよびクラウドが、隔離されたタスクを実行する複数のテナント(たとえば、さまざまなパーティション上のさまざまなテナント)によって共有されるという点を利用している。このようなシナリオにおいては、テナント間の相互通信が不可能となり、このため、ワークロード展開および配置スケジューラは、効率的なリソース利用を確実にするためにフラグメンテーションを回避しようと試みるはずである。すなわち、テナント当たりのトラフィックの大部分をネットワークのうち集約された下位区分内に含めることができ、SMは、全体的な性能を向上させるためにいくつかの下位区分を再構成することができる。SMは、ファットツリートポロジーおよびファットツリールーティングアルゴリズムを用いることができる。このようなハイブリッド再構成方式は、ネットワークを再構成するために提供されるノード順序付けを用いるカスタムのファットツリールーティングアルゴリズムを用いることによって、サブツリー内の性能をうまく再構成および向上させることができる。SMがネットワーク全体を再構成することを所望する場合、SMは、デフォルトのファットツリールーティングアルゴリズムを用いて、単一のサブネットにおけるさまざまな使用事例のための2つの異なるルーティングアルゴリズムの組合せを効果的に発揮することができる。
【0005】
一実施形態に従うと、高性能コンピューティング環境において高速ハイブリッド再構成
をサポートするための例示的な方法は、1つ以上のマイクロプロセッサにおいて第1のサブネットを設け得る。第1のサブネットは複数のスイッチを含み、複数のスイッチは少なくともリーフスイッチを含み、複数のスイッチの各々は、複数のスイッチポートと、各々が少なくとも1つのホストチャネルアダプタポートを含む複数のホストチャネルアダプタと、複数のエンドノードとを含み、複数のエンドノードの各々は、複数のホストチャネルアダプタのうち少なくとも1つのホストチャネルアダプタに関連付けられている。当該方法は、複数のレベルを有するネットワークアーキテクチャにおいて第1のサブネットのうちの複数のスイッチを配置し得る。複数のレベルの各々は、複数のスイッチのうち少なくとも1つのスイッチを含む。当該方法は、第1の構成方法に従って複数のスイッチを構成し得る。第1の構成方法は、複数のエンドノードについての第1の順序付けに関連付けられている。当該方法は、複数のスイッチのサブセットを第1のサブネットのサブ・サブネット(sub-subnet)として構成し得る。第1のサブネットのサブ・サブネットは第1のサブネットの複数のレベルよりも少ないいくつかのレベルを含む。当該方法は、第2の構成方法に従って第1のサブネットのサブ・サブネットを再構成し得る。
【図面の簡単な説明】
【0006】
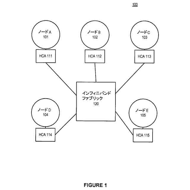
一実施形態に従ったインフィニバンド環境の一例を示す図である。
一実施形態に従った、ネットワーク環境におけるツリートポロジーの一例を示す図である。
一実施形態に従った例示的な共有ポートアーキテクチャを示す図である。
一実施形態に従った例示的なvSwitchアーキテクチャを示す図である。
一実施形態に従った、LIDが予めポピュレートされた例示的なvSwitchアーキテクチャを示す図である。
一実施形態に従った、動的LID割当てがなされた例示的なvSwitchアーキテクチャを示す図である。
一実施形態に従った、動的LID割当てがなされかつLIDが予めポピュレートされているvSwitchを備えた例示的なvSwitchアーキテクチャを示す図である。
一実施形態に従ったスイッチタプルを示す図である。
一実施形態に従った、ノードルーティングの段階についてのシステムを示す図である。
一実施形態に従った、ノードルーティングの段階についてのシステムを示す図である。
一実施形態に従った、ノードルーティングの段階についてのシステムを示す図である。
一実施形態に従った、ノードルーティングの段階についてのシステムを示す図である。
一実施形態に従った、2よりも大きい数のレベルを有するファットツリートポロジーを含むシステムを示す図である。
一実施形態に従った、高速ハイブリッド再構成のためのシステムを示す図である。
一実施形態に従った、高速ハイブリッド再構成のためのシステムを示す図である。
一実施形態に従った、高性能コンピューティング環境における高速ハイブリッド再構成をサポートするための例示的な方法を示すフローチャートである。
【発明を実施するための形態】
【0007】
詳細な説明:
本発明は、同様の参照番号が同様の要素を指している添付図面の図において、限定のた
めではなく例示のために説明されている。なお、この開示における「ある」または「1つの」または「いくつかの」実施形態への参照は必ずしも同じ実施形態に対するものではなく、そのような参照は少なくとも1つを意味する。特定の実現例が説明されるが、これらの特定の実現例が例示的な目的のためにのみ提供されることが理解される。当業者であれば、他の構成要素および構成が、この発明の範囲および精神から逸脱することなく使用され得ることを認識するであろう。
【0008】
図面および詳細な説明全体にわたって同様の要素を示すために、共通の参照番号が使用され得る。したがって、ある図で使用される参照番号は、要素が別のところで説明される場合、そのような図に特有の詳細な説明において参照される場合もあり、または参照されない場合もある。
【0009】
高性能コンピューティング環境における高速ハイブリッド再構成をサポートするシステムおよび方法がこの明細書中に記載される。
【0010】
この発明の以下の説明は、高性能ネットワークについての一例として、インフィニバンド(IB)ネットワークを使用する。他のタイプの高性能ネットワークが何ら限定されることなく使用され得ることが、当業者には明らかであるだろう。以下の説明ではまた、ファブリックトポロジーについての一例として、ファットツリートポロジーを使用する。他のタイプのファブリックトポロジーが何ら限定されることなく使用され得ることが当業者には明らかであるだろう。
(【0011】以降は省略されています)
この特許をJ-PlatPat(特許庁公式サイト)で参照する
関連特許
個人
イヤーマフ
11日前
個人
監視カメラシステム
20日前
キーコム株式会社
光伝送線路
21日前
個人
スイッチシステム
5日前
サクサ株式会社
中継装置
27日前
WHISMR合同会社
収音装置
1か月前
個人
スキャン式車載用撮像装置
20日前
サクサ株式会社
中継装置
26日前
キヤノン株式会社
撮像装置
2か月前
アイホン株式会社
電気機器
1か月前
ヤマハ株式会社
放音制御装置
5日前
キヤノン電子株式会社
画像読取装置
1か月前
個人
映像表示装置、及びARグラス
6日前
株式会社リコー
画像形成装置
2か月前
株式会社リコー
画像形成装置
2か月前
サクサ株式会社
無線システム
25日前
キヤノン電子株式会社
画像読取装置
5日前
株式会社リコー
画像形成装置
13日前
株式会社リコー
画像形成装置
2か月前
キヤノン電子株式会社
画像読取装置
19日前
サクサ株式会社
無線通信装置
26日前
サクサ株式会社
無線通信装置
26日前
個人
ワイヤレスイヤホン対応耳掛け
1か月前
キヤノン株式会社
画像処理装置
今日
日本電気株式会社
海底分岐装置
21日前
個人
発信機及び発信方法
25日前
ブラザー工業株式会社
読取装置
2か月前
キヤノン株式会社
撮像システム
1か月前
シャープ株式会社
端末装置
18日前
パテントフレア株式会社
超高速電波通信
2か月前
パテントフレア株式会社
水中電波通信法
3か月前
国立大学法人電気通信大学
小型光学装置
2か月前
株式会社NTTドコモ
端末
20日前
キヤノン電子株式会社
シート材搬送装置
2か月前
有限会社フィデリックス
マイクロフォン
1か月前
株式会社JVCケンウッド
通信システム
1か月前
続きを見る
他の特許を見る