TOP
|
特許
|
意匠
|
商標
特許ウォッチ
Twitter
他の特許を見る
公開番号
2025157183
公報種別
公開特許公報(A)
公開日
2025-10-15
出願番号
2025060559
出願日
2025-04-01
発明の名称
高圧および低圧ガス消費機器のためのガス供給システム
出願人
ギャズトランスポルト エ テクニギャズ
代理人
個人
,
個人
,
個人
主分類
F17C
9/00 20060101AFI20251007BHJP(ガスまたは液体の貯蔵または分配)
要約
【課題】ガス供給システムを稼働させるのにかかる時間をスピードアップするように、熱交換器などの大きな要素を温度に至らせるのに必要な時間が短縮されるガス供給システムを提供する。
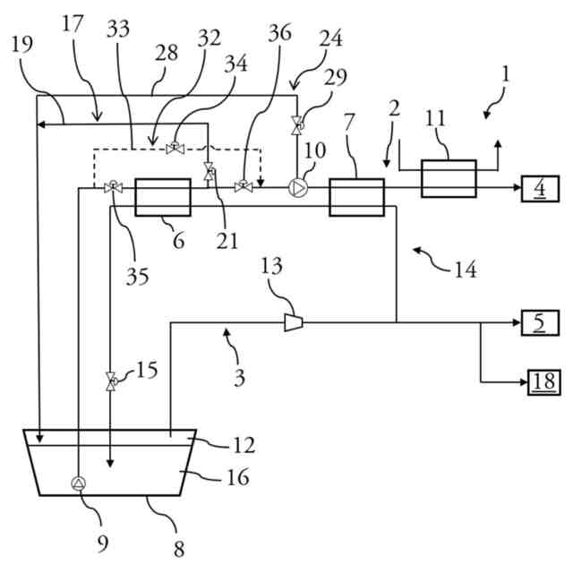
【解決手段】少なくとも1つのタンク(8)を備える浮体構造体の高圧ガスを消費する機器(4)にガスを供給するためのガス供給システム(1)であって、第1の熱交換器(6)と、第2の熱交換器(7)と、ポンプ(10)とを備える、高圧消費機器(4)に供給するための少なくとも1つの第1の供給回路(2)を備え、供給システム(1)は、タンク(8)から液体状態のガスを取り出すように構成された第1の熱交換器(6)を予冷するための予冷システム(17)を備え、予冷システム(17)は、予冷ライン(19)と、予冷ライン(19)内のガスの循環を制御するための制御弁(21)とを備えることを特徴とする、ガス供給システム(1)。
【選択図】図1
特許請求の範囲
【請求項1】
ガスを収容するように構成された少なくとも1つのタンク(8)を備える浮体構造体(20)の高圧ガスを消費する少なくとも1つの機器(4)および低圧ガスを消費する少なくとも1つの機器(5)に前記ガスを供給するための供給システム(1)であって、
前記高圧ガスを消費する機器(4)にガスを供給するための少なくとも1つの第1のガス供給回路(2)であって、液体状態で前記タンク(8)から取り出された前記ガスを圧送するように構成された少なくとも1つの第1のポンプ(9)と、少なくとも1つの第1の熱交換器(6)と、第2の熱交換器(7)と、前記第1の熱交換器(6)と前記第2の熱交換器(7)との間に配置された第2のポンプ(10)と、前記第1のガス供給回路(2)内を循環する前記ガスを蒸発させるように構成された少なくとも1つの高圧蒸発器(11)とを備える、少なくとも1つの第1のガス供給回路(2)と、
前記低圧ガスを消費する機器(5)にガスを供給するための少なくとも1つの第2のガス供給回路(3)であって、前記タンク(8)から気化状態で取り込まれたガスを、前記低圧ガスを消費する機器(5)の動作圧力まで圧縮するように構成された少なくとも1つの圧縮機(13)を備える、少なくとも1つの第2のガス供給回路(3)と、
を備え、前記供給システム(1)は、前記タンク(8)から液体状態のガスを取り込むように構成された前記第1の熱交換器(6)を予冷するための予冷システム(17)を備え、前記予冷システム(17)は、前記第1の熱交換器(6)と前記第2のポンプ(10)との間で前記第1の供給回路(2)に接続された予冷ライン(19)を備え、前記予冷システム(17)は、前記予冷ライン(19)内のガスの循環を制御するための少なくとも1つの制御弁(21)を備えることを特徴とする、供給システム(1)。
続きを表示(約 1,200 文字)
【請求項2】
前記第1の供給回路(2)は、前記第1のポンプ(9)と前記第1の熱交換器(6)との間に配設された第1の弁(35)と、前記第1の熱交換器(6)と前記第2のポンプ(10)との間に配設された第2の弁(36)とを備え、前記予冷ライン(19)は、前記第1の熱交換器(6)と前記第2の弁(36)との間で前記第1の供給回路(2)に接続されている、請求項1に記載の供給システム(1)。
【請求項3】
前記予冷システム(17)は、前記予冷ライン(19)が前記タンク(8)の下側部分に開口するように構成されている、請求項1および2のいずれか一項に記載の供給システム(1)。
【請求項4】
前記予冷システム(17)は、前記予冷ライン(19)が前記タンク(8)の上側部分に開口するように構成されている、請求項1および2のいずれか一項に記載の供給システム(1)。
【請求項5】
前記第2の供給回路(3)に接続され、前記ガスを前記タンク(8)に戻すように構成されたガス戻りライン(14)を備え、前記第1の熱交換器(6)および前記第2の熱交換器(7)は各々、前記第1の供給回路(2)を構成する第1のパスと、前記戻りライン(14)を構成する第2のパスとを備える、請求項1~4のいずれか一項に記載の供給システム(1)。
【請求項6】
前記予冷ライン(19)は、前記第1の熱交換器(6)と前記タンク(8)内に開口するように構成された前記戻りライン(14)の出口との間で前記戻りライン(14)に接続されている、請求項5に記載の供給システム(1)。
【請求項7】
前記第2のポンプ(10)を冷却するための冷却システム(24)を備え、前記冷却システム(24)は、前記第2のポンプ(10)の入口ポートと前記第2の熱交換器(7)との間で前記第1の供給回路(2)に接続された冷却ライン(28)を備え、前記冷却システム(24)は、前記冷却ライン(28)内の前記ガスの循環を制御するための少なくとも1つの制御弁(29)を備える、請求項1~6のいずれか一項に記載の供給システム(1)。
【請求項8】
前記冷却システム(24)は、前記冷却ライン(28)が前記タンク(8)内に開口するように構成されている、請求項7に記載の供給システム(1)。
【請求項9】
前記冷却ライン(28)は、前記第1の熱交換器(6)と前記タンク(8)内に開口するように構成された前記戻りライン(14)の前記出口との間で前記戻りライン(14)内に開口している、請求項5と組み合わせた請求項7に記載の供給システム(1)。
【請求項10】
前記戻りライン(14)は、前記第1の熱交換器(6)と前記タンク(8)内に開口するように構成された前記戻りライン(14)の出口との間に配置された膨張部材(15)を備える、請求項5と組み合わせた請求項1~9のいずれか一項に記載の供給システム(1)。
(【請求項11】以降は省略されています)
発明の詳細な説明
【技術分野】
【0001】
本発明は、液体状態のガスを貯蔵および/または輸送するための船舶の分野に関し、より詳細には、そのような船舶内に備えられる消費機器にガスを供給するためのガス供給システムに関する。
続きを表示(約 2,600 文字)
【背景技術】
【0002】
消費されおよび/または目的地に向かって送達されるように構成された液体状態のガスのタンクを備える船舶によって実行される行程の間、上記船舶は、ガス供給システムを介して、そのエンジンの少なくとも1つに供給するために、液体状態の上記ガスの少なくとも一部を使用することが可能であり得る。これは、ME-GIタイプの推進エンジンを装備した船舶に当てはまる。このタイプのエンジンに供給するために、ガスは、ガスを300バールに圧縮可能な特別な圧縮機によって非常に高い圧力に圧縮されなければならないが、そのような圧縮機は高価であり、高いメンテナンスコストを発生させ、船舶内に振動を誘発する。
【0003】
これらの高圧圧縮機を設置する代わりに、ガスが推進エンジンに送られる前に300バールで液体状態のガスを気化させる。この解決策は、貨物の少なくとも一部を収容するタンク内に自然に形成される気化ガス(またはBOG、「ボイルオフガス」を表す)を排除しないため、低圧でボイルオフガスを消費可能な補助エンジンに供給するために低圧圧縮機が設置され得る。
【発明の概要】
【0004】
しかしながら、そのようなガス供給システムの使用は、予冷に対応する準備を必要とし、その間、その要素のいくつかは、エンジンへの供給が開始され得る閾値未満の温度に至る。温度に至る必要がある要素のサイズは、そのような予冷に必要な時間を変える可能性があり、例えば、大きな要素を準備することは、より小さな要素がすでに温度にある場合でも、ガス供給システムの始動を遅らせる。
【0005】
本発明の目的は、ガス供給システムを稼働させるのにかかる時間をスピードアップするように、熱交換器などの大きな要素を温度に至らせるのに必要な時間が短縮されるガス供給システムを提供することによってこの欠点を克服することである。
【0006】
したがって、本発明の主な目的は、浮体構造体の高圧ガスを消費する少なくとも1つの機器および低圧ガスを消費する少なくとも1つの機器にガスを供給するための供給システムであって、浮体構造体は、ガスを収容するように構成された少なくとも1つのタンクを備え、供給システムは、高圧ガスを消費する機器にガスを供給するための少なくとも1つの第1のガス供給回路であって、液体状態でタンクから取り出されたガスを圧送するように構成された少なくとも1つの第1のポンプと、少なくとも1つの第1の熱交換器と、第2の熱交換器と、第1の熱交換器と第2の熱交換器との間に配置された第2のポンプと、第1のガス供給回路内を循環するガスを蒸発させるように構成された少なくとも1つの高圧蒸発器とを備える、少なくとも1つの第1のガス供給回路と、低圧ガスを消費する機器にガスを供給するための少なくとも1つの第2のガス供給回路であって、タンクから気化状態で取り込まれたガスを、低圧ガスを消費する機器の動作圧力まで圧縮するように構成された少なくとも1つの圧縮機を備える、少なくとも1つの第2のガス供給回路とを備える、供給システムである。本発明によれば、供給システムは、タンクから液体状態のガスを取り出すように構成された第1の熱交換器を予冷するための予冷システムを備え、予冷システムは、第1の熱交換器と第2のポンプとの間で第1の供給回路に接続された予冷ラインを備え、予冷システムは、予冷ライン内のガスの循環を制御するための少なくとも1つの制御弁を備える。
【0007】
本発明による供給システムは、例えば、その消費機器にガスを供給する目的で浮体構造体に備え付けられるように構成されている。より具体的には、第1のガス供給回路は、高圧ガスを消費する機器の燃料要件を満たすことを可能にする。高圧ガスを消費する機器は、浮体構造体、例えばエンジンME-GIの推進手段であってもよい。第1の供給回路は、タンクから高圧ガスを消費する機器まで延在する。第1のポンプは、タンクの底部に設置されており、第1の供給回路内を循環することができるように液体状態のガスを圧送する。
【0008】
ガスは、高圧ガスを消費する機器に供給され得る前に気化状態になければならないため、高圧蒸発器は、ガスが、高圧ガスを消費する機器に供給される前に蒸発することを確実にする。高圧蒸発器は、第1の供給回路内を循環する液体状態のガスと、熱伝達流体、例えばグリコール水、海水または蒸気との間の熱量交換の場所である。これは、高圧ガスを消費する機器に供給するためにガスが気化または超臨界状態になるように、ガスの状態の変化を生じさせるほど十分に高い温度でなければならない。
【0009】
第1の供給回路内を循環する液体状態のガスが高圧蒸発器によって気化される前に、液体状態のガスは、第1の熱交換器を通過した後、第2の熱交換器を通過する。これを行うために、第1の熱交換器および第2の熱交換器は、液体状態のガスが2つの熱交換器を連続して通過することができるように、第1の供給回路の一部によって互いに連結されている。したがって、その液体状態の上記ガスの温度は、高圧蒸発器を通過する前に上昇する傾向がある。このようにして、第1の供給回路内を循環するガスは、第2の熱交換器の出口で二相状態になり得る。
【0010】
一般的に言えば、タンク内に収容されたガスは、自然に気化状態になるか、または浮体構造体によって強制的に気化状態になることができる。気化状態に変化するタンク内のいかなるガスも、タンク内に過剰な圧力を生じさせないように排気されなければならない。この機能は、低圧ガスを消費する機器の第2のガス供給回路によって実行される。そのような第2の供給回路は、タンクから低圧ガスを消費する機器まで延在する。これは、発電機などの補助モータであってもよい。第2の供給回路上の圧縮機は、低圧ガスを消費する機器に供給すると共にタンク内の圧力を調節することができるように、タンクヘッドからガスを吸い上げる役割を果たす。圧縮機出口では、気化状態のガスを、低圧ガスを消費する機器に供給することができる。
(【0011】以降は省略されています)
この特許をJ-PlatPat(特許庁公式サイト)で参照する
関連特許
株式会社石井鐵工所
低温タンクの揚液装置
6か月前
株式会社石井鐵工所
低温タンクの揚液装置
3か月前
川崎重工業株式会社
竪型タンク
5か月前
川崎重工業株式会社
三重殻タンク
7か月前
川崎重工業株式会社
三重殻タンク
7か月前
川崎重工業株式会社
極低温流体用配管設備
16日前
トヨタ自動車株式会社
水素タンク
3か月前
株式会社タツノ
充填ノズル
1か月前
トヨタ自動車株式会社
水素充填装置
5か月前
帝人株式会社
繊維補強圧力容器及びその製造方法
2か月前
株式会社タツノ
充填ノズル
1か月前
岩谷産業株式会社
燃料ガス充填設備
25日前
株式会社神戸製鋼所
水素吸蔵合金容器
2か月前
豊田合成株式会社
圧力容器
6か月前
川崎重工業株式会社
低温流体の移送システム
5か月前
トヨタ自動車株式会社
タンクモジュール
6か月前
トヨタ自動車株式会社
水素消費システム
4か月前
川崎重工業株式会社
三重殻タンクのパージ方法
7か月前
トヨタ自動車株式会社
水素消費システム
4か月前
清水建設株式会社
水素貯蔵供給システム
7か月前
オリオン機械株式会社
燃料供給装置および発電システム
4か月前
トヨタ自動車株式会社
水素タンクシステム
4か月前
トヨタ自動車株式会社
カートリッジタンク
5か月前
オリオン機械株式会社
燃料供給装置および発電システム
6か月前
JFEエンジニアリング株式会社
エネルギー貯蔵システム
4か月前
鹿島建設株式会社
水素供給システム
8か月前
鹿島建設株式会社
水素吸蔵システム
8か月前
JFEエンジニアリング株式会社
エネルギー貯蔵システム
2か月前
JFEエンジニアリング株式会社
エネルギー貯蔵システム
2か月前
鹿島建設株式会社
水素貯蔵システム
3か月前
JFEエンジニアリング株式会社
エネルギー貯蔵システム
3か月前
JFEエンジニアリング株式会社
エネルギー貯蔵システム
2か月前
トヨタ自動車株式会社
水素タンクの支持構造
6か月前
トヨタ自動車株式会社
高圧タンクの製造方法
7か月前
株式会社 商船三井
貨物タンク
4か月前
三浦工業株式会社
ガス気化システム
7か月前
続きを見る
他の特許を見る