TOP
|
特許
|
意匠
|
商標
特許ウォッチ
Twitter
他の特許を見る
10個以上の画像は省略されています。
公開番号
2025156891
公報種別
公開特許公報(A)
公開日
2025-10-15
出願番号
2024059633
出願日
2024-04-02
発明の名称
車両上部構造
出願人
トヨタ車体株式会社
,
トヨタ自動車株式会社
代理人
弁理士法人太陽国際特許事務所
主分類
B60J
3/02 20060101AFI20251007BHJP(車両一般)
要約
【課題】ポールが車体側部に衝突して非使用状態のサンバイザが車両幅方向内側へ移動したときに天井側内装部材の取付箇所に作用する荷重を低減することが可能な車両上部構造を得る。
【解決手段】サンバイザ40は、室内天井部14に沿った退避位置40Xに配置可能とされ、退避位置40Xでオーバーヘッドコンソール22に対して車両幅方向外側に配置される。サンバイザ40の退避位置40Xに対して車両幅方向内側には案内部22Gが設けられている。案内部22Gは、サンバイザ40に車両幅方向外側から車両幅方向内側への衝突荷重Fが入力された場合にサンバイザ40をオーバーヘッドコンソール22から逸れる方向(矢印S参照)に案内する。
【選択図】図4
特許請求の範囲
【請求項1】
車両の室内天井部に配置されるように車両上部に取り付けられた天井側内装部材と、
前記室内天井部に沿った退避位置に配置可能とされて前記退避位置で前記天井側内装部材に対して車両幅方向外側に配置されるサンバイザと、
前記サンバイザの前記退避位置に対して車両幅方向内側に設けられ、前記退避位置にある状態の前記サンバイザに車両幅方向外側から車両幅方向内側への衝突荷重が入力された場合に前記サンバイザを前記天井側内装部材から逸れる方向に案内する案内部と、
を備える車両上部構造。
続きを表示(約 390 文字)
【請求項2】
前記案内部は、前記室内天井部を形成する成形天井の一部とされて前記サンバイザの前記退避位置と前記天井側内装部材との間に設けられ、
前記案内部の裏側には前記案内部が車両幅方向内側に所定量変位した場合に前記案内部のそれ以上の変位を規制する規制機構が設けられている、請求項1に記載の車両上部構造。
【請求項3】
前記成形天井には、前記天井側内装部材が配置される開口部が形成され、前記成形天井の車両上方側には、ルーフ骨格部材に固定されて前記天井側内装部材が取り付けられる取付部材が配置されると共に前記開口部の周囲部に補強部材が固定されており、
前記取付部材及び前記補強部材は、前記案内部が車両幅方向内側に所定量変位した場合に互いに嵌合する嵌合部を有し、前記規制機構は前記嵌合部を含んで構成されている、請求項2に記載の車両上部構造。
発明の詳細な説明
【技術分野】
【0001】
本発明は、車両上部構造に関する。
続きを表示(約 2,000 文字)
【背景技術】
【0002】
車両の室内天井部にオーバーヘッドコンソール(「ルーフコンソール」ともいう)等の天井側内装部材が配置された構造が知られている(例えば、下記特許文献1参照)。このような構造では、天井側内装部材は車両上部に取り付けられている。
【先行技術文献】
【特許文献】
【0003】
特開2020-132106号公報
【発明の概要】
【発明が解決しようとする課題】
【0004】
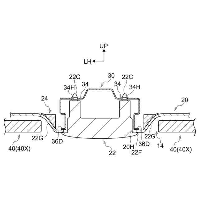
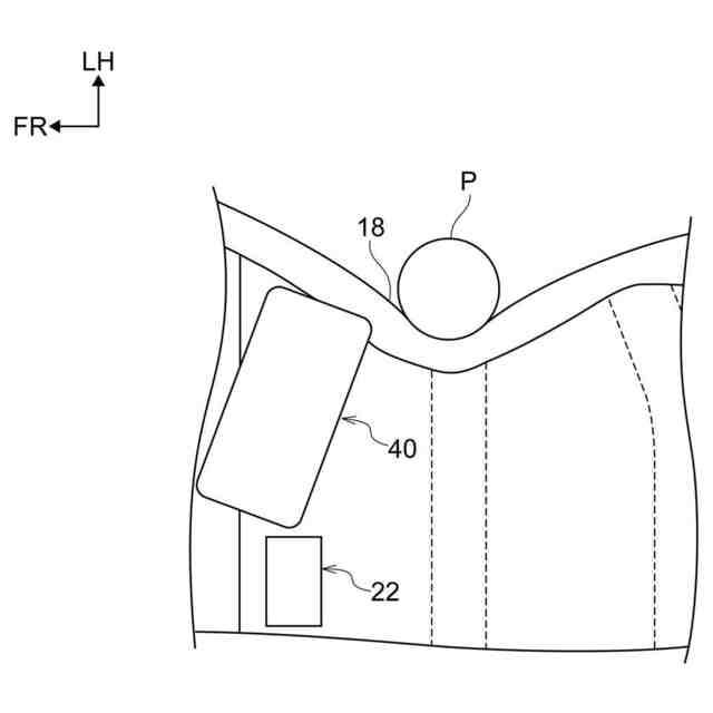
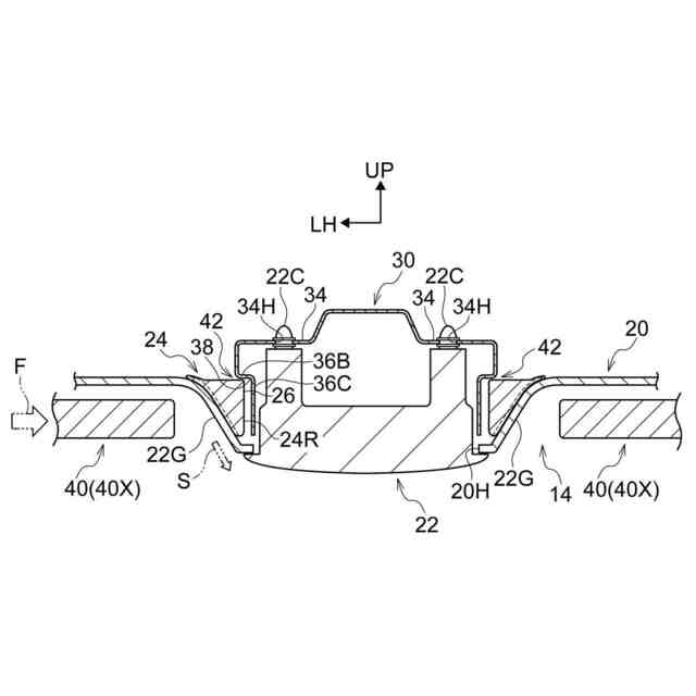
ところで、車両上部においては、非使用時のサンバイザを室内天井部に沿った退避位置に配置することができる構造が知られており、このような構造では、退避位置にある状態のサンバイザが天井側内装部材に対して車両幅方向外側に配置される場合がある。このような場合、ポールが車体側部に衝突したときに非使用状態のサンバイザが車両幅方向内側へ移動すると、サンバイザ側から天井側内装部材側に衝突荷重が伝達されることによって、天井側内装部材の取付箇所に大きな荷重が作用する可能性がある。
【0005】
本発明は、上記事実を考慮して、ポールが車体側部に衝突して非使用状態のサンバイザが車両幅方向内側へ移動したときに天井側内装部材の取付箇所に作用する荷重を低減することが可能な車両上部構造を得ることが目的である。
【課題を解決するための手段】
【0006】
第1の態様に係る車両上部構造は、車両の室内天井部に配置されるように車両上部に取り付けられた天井側内装部材と、前記室内天井部に沿った退避位置に配置可能とされて前記退避位置で前記天井側内装部材に対して車両幅方向外側に配置されるサンバイザと、前記サンバイザの前記退避位置に対して車両幅方向内側に設けられ、前記退避位置にある状態の前記サンバイザに車両幅方向外側から車両幅方向内側への衝突荷重が入力された場合に前記サンバイザを前記天井側内装部材から逸れる方向に案内する案内部と、を備える。
【0007】
第1の態様に係る車両上部構造によれば、天井側内装部材が車両の室内天井部に配置されるように車両上部に取り付けられている。また、室内天井部に沿った退避位置に配置可能なサンバイザが、退避位置で天井側内装部材に対して車両幅方向外側に配置される。ここで、サンバイザの退避位置に対して車両幅方向内側に設けられた案内部は、退避位置にある状態のサンバイザに車両幅方向外側から車両幅方向内側への衝突荷重が入力された場合にサンバイザを天井側内装部材から逸れる方向に案内する。このため、ポールが車体側部に衝突して非使用状態のサンバイザが車両幅方向内側へ移動したときに天井側内装部材の取付箇所に作用する荷重を低減することが可能となる。
【0008】
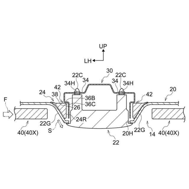
第2の態様に係る車両上部構造は、第1の態様に係る車両上部構造において、前記案内部は、前記室内天井部を形成する成形天井の一部とされて前記サンバイザの前記退避位置と前記天井側内装部材との間に設けられ、前記案内部の裏側には前記案内部が車両幅方向内側に所定量変位した場合に前記案内部のそれ以上の変位を規制する規制機構が設けられている。
【0009】
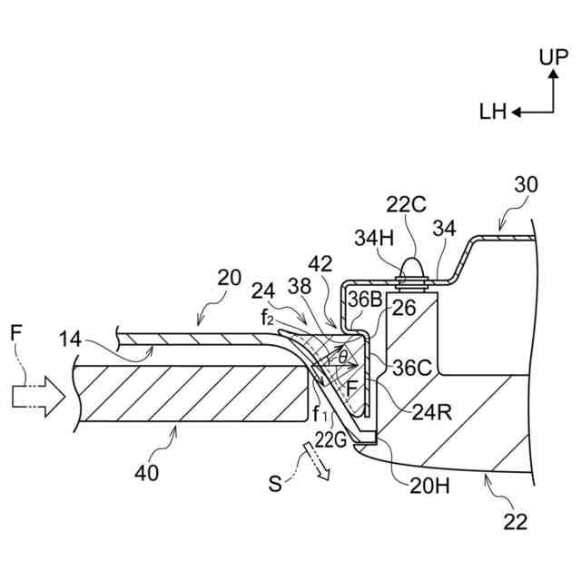
第2の態様に係る車両上部構造によれば、案内部は、室内天井部を形成する成形天井の一部とされてサンバイザの退避位置と天井側内装部材との間に設けられている。このため、サンバイザが退避位置にあるときに当該サンバイザに車両幅方向外側から車両幅方向内側への衝突荷重が入力された場合、成形天井に形成された案内部によって、サンバイザが天井側内装部材から逸れる方向に案内される。ここで、案内部の裏側には案内部が車両幅方向内側に所定量変位した場合に案内部のそれ以上の変位を規制する規制機構が設けられている。このため、ポールが車体側部に衝突して案内部がサンバイザを介して衝突荷重を受けた場合、案内部が車両幅方向内側に所定量変位すると案内部のそれ以上の変位が規制機構によって規制されるので、案内部はサンバイザを天井側内装部材から逸れる方向に安定的に案内することができる。
【0010】
第3の態様に係る車両上部構造は、第2の態様に係る車両上部構造において、前記成形天井には、前記天井側内装部材が配置される開口部が形成され、前記成形天井の車両上方側には、ルーフ骨格部材に固定されて前記天井側内装部材が取り付けられる取付部材が配置されると共に前記開口部の周囲部に補強部材が固定されており、前記取付部材及び前記補強部材は、前記案内部が車両幅方向内側に所定量変位した場合に互いに嵌合する嵌合部を有し、前記規制機構は前記嵌合部を含んで構成されている。
(【0011】以降は省略されています)
この特許をJ-PlatPat(特許庁公式サイト)で参照する
関連特許
トヨタ車体株式会社
成形方法
今日
トヨタ車体株式会社
車両上部構造
今日
トヨタ車体株式会社
車両上部構造
2日前
トヨタ車体株式会社
車両用シート
10日前
トヨタ紡織株式会社
乗物用シート
1日前
豊田合成株式会社
木粉繊維強化ポリオレフィン系樹脂組成物及びその製造方法
2日前
個人
タイヤレバー
2か月前
個人
前輪キャスター
1か月前
個人
上部一体型自動車
14日前
個人
ホイルのボルト締結
3か月前
個人
タイヤ脱落防止構造
1か月前
個人
ルーフ付きトライク
2か月前
日本精機株式会社
表示装置
2か月前
個人
車両通過構造物
2か月前
個人
マスタシリンダ
21日前
日本精機株式会社
表示装置
2か月前
日本精機株式会社
表示装置
2か月前
日本精機株式会社
表示装置
2か月前
個人
車両用スリップ防止装置
3か月前
個人
乗合路線バスの客室装置
3か月前
個人
アクセルのソフトウェア
3か月前
個人
音声ガイド、音声サービス
2か月前
個人
車載小物入れ兼雨傘収納具
3か月前
株式会社豊田自動織機
産業車両
2か月前
日本精機株式会社
車室演出装置
1か月前
日本精機株式会社
車載表示装置
3か月前
個人
円湾曲ホイール及び球体輪
3か月前
株式会社ニフコ
保持装置
3か月前
日本精機株式会社
画像投映装置
10日前
株式会社ニフコ
照明装置
1か月前
株式会社ニフコ
収納装置
1か月前
日本精機株式会社
車載表示装置
29日前
日本精機株式会社
車両用表示装置
2か月前
井関農機株式会社
作業車両
4か月前
日本精機株式会社
車両用投射装置
15日前
日本精機株式会社
車両用投影装置
28日前
続きを見る
他の特許を見る