TOP
|
特許
|
意匠
|
商標
特許ウォッチ
Twitter
他の特許を見る
公開番号
2025158586
公報種別
公開特許公報(A)
公開日
2025-10-17
出願番号
2024061272
出願日
2024-04-05
発明の名称
車両上部構造
出願人
トヨタ車体株式会社
代理人
弁理士法人あいち国際特許事務所
主分類
B60R
21/213 20110101AFI20251009BHJP(車両一般)
要約
【課題】シートベルトの車高方向のレイアウト変更に自由度を持たせることができる車両上部構造を提供する。
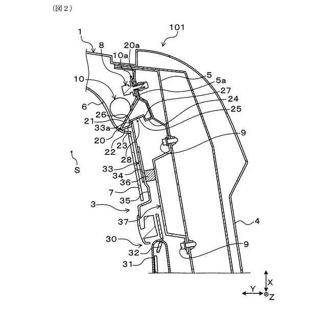
【解決手段】車両上部構造101は、ルーフサイド部1に収容されたエアバッグ10を膨張展開時に車室空間Sに向けてガイドするガイド部材20と、シートベルト31が挿通されるショルダアンカ32の上方にショルダアンカ32に連結して設けられ、ピラー部3に収容されたスライドレール37によって車高方向Xの位置を調節可能に支持されるベルトプレート33と、を備え、ガイド部材20には、ベルトプレート33の上端部33aが上向きに挿入されて収容される底空間28が設けられている。
【選択図】図2
特許請求の範囲
【請求項1】
ルーフサイド部に収容されたエアバッグを膨張展開時に車室空間に向けてガイドするガイド部材と、
シートベルトが挿通されるショルダアンカの上方に前記ショルダアンカに連結して設けられ、ピラー部に収容されたスライドレールによって車高方向の位置を調節可能に支持されるベルトプレートと、
を備え、
前記ガイド部材には、前記ベルトプレートの上端部が上向きに挿入されて収容される収容空間が設けられている、車両上部構造。
続きを表示(約 460 文字)
【請求項2】
前記ベルトプレートは、前記ピラー部のピラーガーニッシュによって車室空間側から覆われており、
前記ガイド部材は、前記ベルトプレートの前記上端部が前記収容空間に収容された状態で車両側突時に前記上端部から車室空間側に向かう荷重を受ける荷重受け部を有する、請求項1に記載の車両上部構造。
【請求項3】
前記収容空間は、前記ガイド部材の底面を凹状或いは段差状とすることで形成された底空間であり、
前記ガイド部材は、前記底空間の上側を区画する上壁部を有し、
前記ベルトプレートの前記上端部は、前記底空間に収容された状態で前記エアバッグが膨張展開するときに前記ガイド部材の前記上壁部から下向きの荷重を受けるように構成されている、請求項1または2に記載の車両上部構造。
【請求項4】
前記収容空間は、前記ガイド部材の下壁部を貫通する貫通穴を通じて前記ベルトプレートの前記上端部が上向きに挿入されて収容される内部空間である、請求項1または2に記載の車両上部構造。
発明の詳細な説明
【技術分野】
【0001】
本発明は、車両上部構造に関する。
続きを表示(約 1,600 文字)
【背景技術】
【0002】
下記特許文献1には、頭部保護エアバッグ袋体の配設構造が開示されている。この配設構造は、車両上部に設けられるものであり、「ジャンプ台」と称される規制手段を備えている。この規制手段は、頭部保護エアバッグ袋体の展開方向を規制するために、ピラーガーニッシュの上端部に向かって延びるガイド壁を有する。また、この規制手段の下方には、シートベルトが挿通されるショルダアンカの車高方向の位置を調節するためのスライドプレートが設けられている。
【先行技術文献】
【特許文献】
【0003】
特開2000-168482号公報
【発明の概要】
【発明が解決しようとする課題】
【0004】
この種の車両上部構造の設計においては、乗員の着座位置を極力見晴らしの良い高所に配置したいという要請があり、これに応じてシートベルトも極力高い位置に配置するようなレイアウト変更が求められる。この要請に対しては、乗員の着座位置の変更に応じてスライドプレートの車高方向の位置を高く設定するのが有効である。ところが、上記配設構造のように規制手段の下方にスライドプレートが配置されている場合には、規制手段がスライドプレートの高さ変更の邪魔になるため、シートベルトの車高方向のレイアウト変更に自由度を持たせるのが難しいという問題が生じ得る。
【0005】
本発明は、かかる課題に鑑みてなされたものであり、シートベルトの車高方向のレイアウト変更に自由度を持たせることができる車両上部構造を提供しようとするものである。
【課題を解決するための手段】
【0006】
本発明の一態様は、
ルーフサイド部に収容されたエアバッグを膨張展開時に車室空間に向けてガイドするガイド部材と、
シートベルトが挿通されるショルダアンカの上方に前記ショルダアンカに連結して設けられ、ピラー部に収容されたスライドレールによって車高方向の位置を調節可能に支持されるベルトプレートと、
を備え、
前記ガイド部材には、前記ベルトプレートの上端部が上向きに挿入されて収容される収容空間が設けられている、車両上部構造、
にある。
【発明の効果】
【0007】
上述の態様の車両上部構造において、エアバッグを膨張展開時に車室空間に向けてガイドするガイド部材には収容空間が設けられている。シートベルトが挿通されるショルダアンカの上方にこのショルダアンカに連結して設けられるベルトプレートの上端部がガイド部材の収容空間に上向きに挿入されて収容される。
【0008】
ベルトプレートの上端部をガイド部材の収容空間に収容するようにすれば、その分、ベルトプレートの車高方向の位置を高く設定することが可能になる。すなわち、ガイド部材の収容空間はベルトプレートをより高い位置に設定する助けになる。これに伴い、ベルトプレートに連結されているショルダアンカの車高方向の位置を高く設定することができ、その結果、シートベルトを極力高い位置に配置するようなレイアウト変更が可能になる。
【0009】
上述の態様によれば、シートベルトの車高方向のレイアウト変更に自由度を持たせることができる車両上部構造を提供することが可能になる。
【図面の簡単な説明】
【0010】
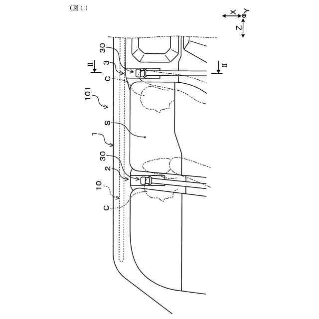
実施形態1の車両上部構造を車室側からみた側面図。
図1のII-II線矢視断面図。
図2を車両側突時の状態にて示す断面図。
図3の一部を拡大して示す断面図。
実施形態2の車両上部構造について図2に対応した断面図。
実施形態3の車両上部構造について図2に対応した断面図。
【発明を実施するための形態】
(【0011】以降は省略されています)
この特許をJ-PlatPat(特許庁公式サイト)で参照する
関連特許
トヨタ車体株式会社
成形方法
3日前
トヨタ車体株式会社
車両上部構造
3日前
トヨタ車体株式会社
車両上部構造
5日前
トヨタ車体株式会社
車両用シート
13日前
トヨタ紡織株式会社
乗物用シート
4日前
豊田合成株式会社
木粉繊維強化ポリオレフィン系樹脂組成物及びその製造方法
5日前
個人
カーテント
4か月前
個人
タイヤレバー
2か月前
個人
車窓用防虫網戸
5か月前
個人
前輪キャスター
1か月前
個人
上部一体型自動車
17日前
個人
車輪清掃装置
4か月前
個人
タイヤ脱落防止構造
1か月前
個人
ルーフ付きトライク
2か月前
個人
ホイルのボルト締結
3か月前
井関農機株式会社
作業車両
4か月前
日本精機株式会社
表示装置
2か月前
個人
車両通過構造物
2か月前
井関農機株式会社
作業車両
4か月前
個人
マスタシリンダ
24日前
日本精機株式会社
表示装置
2か月前
個人
キャンピングトライク
4か月前
日本精機株式会社
表示装置
2か月前
日本精機株式会社
表示装置
2か月前
個人
アクセルのソフトウェア
3か月前
個人
車両用スリップ防止装置
3か月前
個人
ワイパーゴム性能保持具
5か月前
個人
キャンピングトレーラー
4か月前
個人
乗合路線バスの客室装置
3か月前
個人
車載小物入れ兼雨傘収納具
3か月前
日本精機株式会社
車室演出装置
1か月前
株式会社クラベ
ヒータユニット
5か月前
株式会社ニフコ
照明装置
2か月前
日本精機株式会社
車載表示装置
1か月前
株式会社豊田自動織機
産業車両
2か月前
日本精機株式会社
車載表示装置
3か月前
続きを見る
他の特許を見る