TOP
|
特許
|
意匠
|
商標
特許ウォッチ
Twitter
他の特許を見る
公開番号
2025156886
公報種別
公開特許公報(A)
公開日
2025-10-15
出願番号
2024059628
出願日
2024-04-02
発明の名称
撮像装置、制御方法及びプログラム
出願人
キヤノン株式会社
代理人
弁理士法人大塚国際特許事務所
主分類
A61B
5/00 20060101AFI20251007BHJP(医学または獣医学;衛生学)
要約
【課題】患者の画像を関係者以外が閲覧できないようにする。
【解決手段】撮像装置は、撮像手段と、前記撮像手段により撮像された患者の画像を記録する記録手段と、前記画像を表示する表示手段と、前記患者の画像の撮影が終了したことを検出する検出手段と、前記患者の画像の撮影が終了した場合、前記患者の画像を視認可能に表示しないように制御する制御手段と、を有する。
【選択図】図4
特許請求の範囲
【請求項1】
撮像装置であって、
撮像手段と、
前記撮像手段により撮像された患者の画像を記録する記録手段と、
前記画像を表示する表示手段と、
前記患者の画像の撮影が終了したことを検出する検出手段と、
前記患者の画像の撮影が終了した場合、前記患者の画像を視認可能に表示しないように制御する制御手段と、を有することを特徴とする撮像装置。
続きを表示(約 980 文字)
【請求項2】
前記検出手段は、撮影者による撮像装置の操作に基づいて前記患者の撮影が終了したことを検出することを特徴とする請求項1に記載の撮像装置。
【請求項3】
前記操作は、前記患者の撮影が終了したことを指示する操作、前記撮像装置の電源をオフする操作、前記撮像装置の動作モードを患者を撮影するモードから他のモードへの切り替える操作、次の患者の識別情報を受け付ける操作、または、次の撮影者の識別情報を受け付ける操作であることを特徴とする請求項2に記載の撮像装置。
【請求項4】
前記検出手段は、前記撮像装置の無操作の状態が所定時間以上継続した場合に、前記患者の画像の撮影が終了したことを検出することを特徴とする請求項2に記載の撮像装置。
【請求項5】
前記制御手段は、前記患者の画像が存在しないときと同様に動作することで前記患者の画像を視認可能に表示しないように制御することを特徴とする請求項1に記載の撮像装置。
【請求項6】
前記制御手段は、前記患者の画像を表示しないことで前記患者の画像を視認可能に表示しないように制御することを特徴とする請求項1に記載の撮像装置。
【請求項7】
前記制御手段は、前記患者の画像の代替情報を表示することで前記患者の画像を視認可能に表示しないように制御することを特徴とする請求項1に記載の撮像装置。
【請求項8】
前記制御手段は、前記患者の画像に個人情報が秘匿されるような画像処理を施すことで前記患者の画像を視認可能に表示しないように制御することを特徴とする請求項1に記載の撮像装置。
【請求項9】
前記画像処理は、前記患者の画像をぼかす処理、前記患者の画像の解像度を低下する処理、前記患者の画像をマスクする処理、前記患者の画像にモザイクをかける処理の少なくともいずれかであることを特徴とする請求項8に記載の撮像装置。
【請求項10】
前記制御手段は、前記検出手段が前記患者の撮影を終了したことを検出すると、当該患者の画像のファイルのヘッダに、当該患者の画像を視認可能に表示しないことを示す情報を付与することを特徴とする請求項1に記載の撮像装置。
(【請求項11】以降は省略されています)
発明の詳細な説明
【技術分野】
【0001】
本発明は、撮像装置により患者の患部などを撮影する技術に関する。
続きを表示(約 1,400 文字)
【背景技術】
【0002】
病院などの医療現場で撮像装置により患者の患部を撮影した画像(患部画像を院内サーバなどに送信して管理するシステムが知られている。撮像装置は、患者の手首に装着されているバーコードや患者が来院時に受け付けで渡されるバーコードを撮影して患者識別情報を取得した後、患者の患部を撮影し、記録媒体に記録する。その後、患部画像に患者識別情報を関連付けて院内システムのサーバに送信する。
【先行技術文献】
【特許文献】
【0003】
特開2014-198271号公報
【発明の概要】
【発明が解決しようとする課題】
【0004】
バーコードに記録されている患者識別情報は個人情報に相当する。また、バーコードには患者の氏名などの個人情報が併記されていることもある。患部画像には、患者の顔などの個人を識別できる個人情報となる部位や、陰部など患者の尊厳にかかわる部位が含まれることがある。また、患部画像は、記録媒体に保存され、撮像装置によりいつでも表示可能である。
【0005】
従来は、病院内に立ち入った部外者が撮像装置を操作して、患者の顔などを含む患部画像を閲覧したり、自分のスマートフォンで撮影してSNSに流すなど悪用されるおそれがある。また、バーコード画像から患者の識別番号や氏名を読み取ることで、バーコード画像に関連付けられて撮影された画像から患者を特定することもできる。このため、特許文献1のように、記録媒体に保存されている患部画像を撮像装置で表示できないようにすることもできる。
【0006】
しかしながら、患部画像を撮像装置で再生表示できない場合、医療従事者が患部画像を見直して撮り忘れなどがないかをチェックすることができず不便である。特許文献1では、入院患者を撮影するような撮影後に患者が移動しない場合において、患部画像を表示できないようにすることはできない。
【0007】
本発明は、上記課題に鑑みてなされ、その目的は、患者の画像を関係者以外が閲覧できないようにする技術を実現することである。
【課題を解決するための手段】
【0008】
上記課題を解決し、目的を達成するために、本発明の撮像装置は、撮像手段と、前記撮像手段により撮像された患者の画像を記録する記録手段と、前記画像を表示する表示手段と、前記患者の画像の撮影が終了したことを検出する検出手段と、前記患者の画像の撮影が終了した場合、前記患者の画像を視認可能に表示しないように制御する制御手段と、を有する。
【発明の効果】
【0009】
本発明によれば、患者の画像を関係者以外が閲覧できないようにすることができる。
【図面の簡単な説明】
【0010】
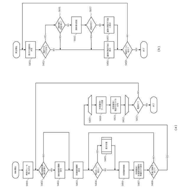
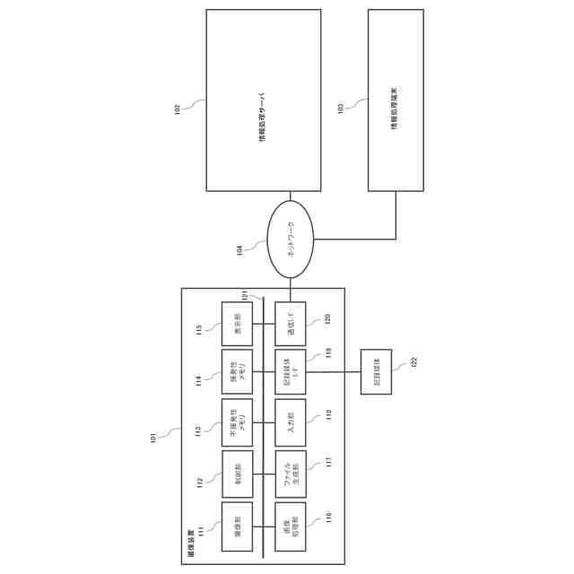
実施形態1のシステム構成および撮像装置のハードウェア構成を例示する図。
実施形態1の撮像装置の撮影モード時に表示される画面を例示する図。
実施形態1の撮像装置の再生モード時に表示される画面を例示する図。
実施形態1の撮像装置の制御処理を例示するフローチャート。
実施形態2の撮像装置の再生モード時に表示される画面を例示する図。
実施形態2の撮像装置の制御処理を例示するフローチャート。
【発明を実施するための形態】
(【0011】以降は省略されています)
この特許をJ-PlatPat(特許庁公式サイト)で参照する
関連特許
キヤノン株式会社
トナー
12日前
キヤノン株式会社
トナー
12日前
キヤノン株式会社
トナー
12日前
キヤノン株式会社
トナー
17日前
キヤノン株式会社
収容装置
25日前
キヤノン株式会社
現像装置
10日前
キヤノン株式会社
現像容器
10日前
キヤノン株式会社
現像装置
10日前
キヤノン株式会社
定着装置
25日前
キヤノン株式会社
撮像装置
1か月前
キヤノン株式会社
電子機器
25日前
キヤノン株式会社
発光装置
24日前
キヤノン株式会社
電子機器
21日前
キヤノン株式会社
撮像装置
13日前
キヤノン株式会社
撮像装置
17日前
キヤノン株式会社
記録装置
17日前
キヤノン株式会社
測距装置
5日前
キヤノン株式会社
電子機器
19日前
キヤノン株式会社
表示装置
24日前
キヤノン株式会社
現像容器
10日前
キヤノン株式会社
撮像装置
25日前
キヤノン株式会社
電子機器
25日前
キヤノン株式会社
定着装置
11日前
キヤノン株式会社
現像装置
3日前
キヤノン株式会社
撮影装置
10日前
キヤノン株式会社
記録装置
10日前
キヤノン株式会社
定着装置
1か月前
キヤノン株式会社
光学センサ
12日前
キヤノン株式会社
現像剤容器
18日前
キヤノン株式会社
半導体装置
19日前
キヤノン株式会社
モジュール
12日前
キヤノン株式会社
カートリッジ
10日前
キヤノン株式会社
画像形成装置
17日前
キヤノン株式会社
画像形成装置
19日前
キヤノン株式会社
画像処理装置
18日前
キヤノン株式会社
表示システム
18日前
続きを見る
他の特許を見る