TOP
|
特許
|
意匠
|
商標
特許ウォッチ
Twitter
他の特許を見る
10個以上の画像は省略されています。
公開番号
2025156308
公報種別
公開特許公報(A)
公開日
2025-10-14
出願番号
2025078299
出願日
2025-05-08
発明の名称
端末、無線通信方法及び基地局
出願人
株式会社NTTドコモ
代理人
インフォート弁理士法人
主分類
H04W
24/10 20090101AFI20251002BHJP(電気通信技術)
要約
【課題】通信スループット/通信品質を向上すること。
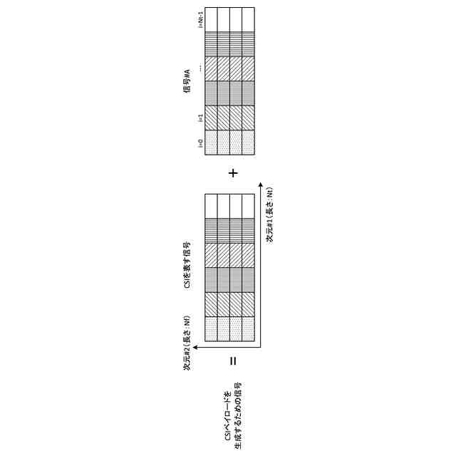
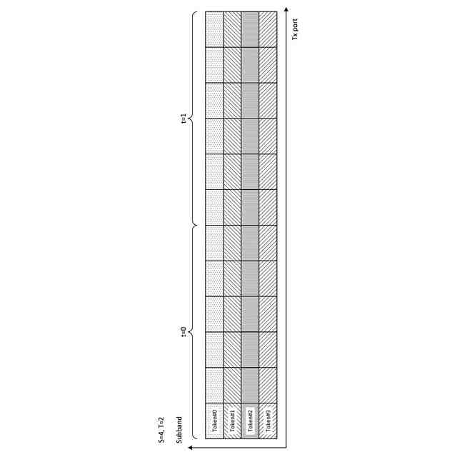
【解決手段】本開示の一態様に係る端末は、人工知能(AI)モデルを用いたチャネル状態情報(Channel State Information(CSI))圧縮に関する設定を受信する受信部と、前記設定に基づいて前記CSI圧縮を実行する制御部と、を有し、前記制御部は、前記AIモデルへの入力について、トークンとフィーチャーとの対応関係に基づいて特定の信号生成のためのポジショナルエンコーディングを制御する。
【選択図】図12
特許請求の範囲
【請求項1】
人工知能(AI)モデルを用いたチャネル状態情報(Channel State Information(CSI))圧縮に関する設定を受信する受信部と、
前記設定に基づいて前記CSI圧縮を実行する制御部と、を有し、
前記制御部は、前記AIモデルへの入力について、トークンとフィーチャーとの対応関係に基づいて特定の信号生成のためのポジショナルエンコーディングを制御する、端末。
続きを表示(約 750 文字)
【請求項2】
前記ポジショナルエンコーディングは、トークンベースのポジショナルエンコーディング、あるいは信号ポジションベースのポジショナルエンコーディングである、請求項1に記載の端末。
【請求項3】
前記制御部は、CSIを表す信号に対してパディングが適用されているか否かに基づいて、前記CSIを表す信号に対するゼロ信号の付加を制御する、請求項1に記載の端末。
【請求項4】
前記制御部は、レイヤ、送信ポート、周波数ドメインリソース、時間ドメインリソース、信号部分、及び信号ブロックの少なくとも1つのパラメータに基づいて生成されたインデックスに基づいて、前記特定の信号を生成する、請求項1に記載の端末。
【請求項5】
人工知能(AI)モデルを用いたチャネル状態情報(Channel State Information(CSI))圧縮に関する設定を受信するステップと、
前記設定に基づいて前記CSI圧縮を実行するステップと、を有し、
端末は、前記AIモデルへの入力について、トークンとフィーチャーとの対応関係に基づいて特定の信号生成のためのポジショナルエンコーディングを制御する、端末の無線通信方法。
【請求項6】
人工知能(AI)モデルを用いたチャネル状態情報(Channel State Information(CSI))圧縮に関する設定を送信する送信部と、
前記設定に基づいて前記CSI圧縮を実行する制御部と、を有し、
前記制御部は、前記AIモデルへの入力について、トークンとフィーチャーとの対応関係に基づいて特定の信号生成のためのポジショナルエンコーディングを制御する、基地局。
発明の詳細な説明
【技術分野】
【0001】
本開示は、次世代移動通信システムにおける端末、無線通信方法及び基地局に関する。
続きを表示(約 1,600 文字)
【背景技術】
【0002】
Universal Mobile Telecommunications System(UMTS)ネットワークにおいて、更なる高速データレート、低遅延などを目的としてLong Term Evolution(LTE)が仕様化された(非特許文献1)。また、LTE(Third Generation Partnership Project(3GPP(登録商標)) Release(Rel.)8、9)の更なる大容量、高度化などを目的として、LTE-Advanced(3GPP Rel.10-14)が仕様化された。
【0003】
LTEの後継システム(例えば、5th generation mobile communication system(5G)、5G+(plus)、6th generation mobile communication system(6G)、New Radio(NR)、3GPP Rel.15以降などともいう)も検討されている。
【先行技術文献】
【非特許文献】
【0004】
3GPP TS 36.300 V8.12.0 “Evolved Universal Terrestrial Radio Access (E-UTRA) and Evolved Universal Terrestrial Radio Access Network (E-UTRAN); Overall description; Stage 2 (Release 8)”、2010年4月
【発明の概要】
【発明が解決しようとする課題】
【0005】
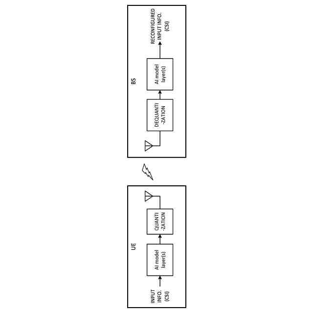
将来の無線通信技術について、ネットワーク/デバイスの制御、管理などに、機械学習(Machine Learning(ML))のような人工知能(Artificial Intelligence(AI))技術を活用することが検討されている。
【0006】
AIモデルの活用のユースケースとして、両側AIモデルを用いるチャネル状態情報(Channel State Information(CSI))圧縮が検討されている。このようなCSI圧縮方法は、AIベースドCSIフィードバックと呼ばれてもよい。
【0007】
しかしながら、このようなCSI圧縮(AIベースドCSIフィードバック)について検討が十分でないケースがある。これらの検討が十分でないと、適切なCSI圧縮を実現できないことが想定される。この結果、好適なオーバーヘッド低減/チャネル推定/リソース利用が実現できず、通信スループット/通信品質の向上が抑制されるおそれがある。
【0008】
そこで、本開示は、通信スループット/通信品質を向上することができる端末、無線通信方法及び基地局を提供することを目的の1つとする。
【課題を解決するための手段】
【0009】
本開示の一態様に係る端末は、人工知能(AI)モデルを用いたチャネル状態情報(Channel State Information(CSI))圧縮に関する設定を受信する受信部と、前記設定に基づいて前記CSI圧縮を実行する制御部と、を有し、前記制御部は、前記AIモデルへの入力について、トークンとフィーチャーとの対応関係に基づいて特定の信号生成のためのポジショナルエンコーディングを制御する。
【発明の効果】
【0010】
本開示の一態様によれば、通信スループット/通信品質を向上することができる。
【図面の簡単な説明】
(【0011】以降は省略されています)
この特許をJ-PlatPat(特許庁公式サイト)で参照する
関連特許
キーコム株式会社
光伝送線路
今日
日本電気株式会社
海底分岐装置
今日
個人
発信機及び発信方法
4日前
株式会社NTTドコモ
端末
今日
株式会社NTTドコモ
端末
今日
株式会社NTTドコモ
端末
今日
市光工業株式会社
車両用画像表示装置
4日前
ブラザー工業株式会社
画像形成装置
今日
ブラザー工業株式会社
画像形成装置
今日
ミツミ電機株式会社
音響変換装置
今日
ミツミ電機株式会社
音響変換装置
今日
ミツミ電機株式会社
音響変換装置
今日
株式会社NTTドコモ
端末及び無線通信方法
今日
トヨタ自動車株式会社
通話装置
4日前
株式会社NTTドコモ
端末及び無線通信方法
今日
株式会社NTTドコモ
端末及び無線通信方法
今日
株式会社NTTドコモ
端末
今日
キヤノン株式会社
画像処理装置
4日前
キヤノン株式会社
撮影装置、及び撮影装置の制御方法
今日
株式会社NTTドコモ
端末及び通信方法
今日
株式会社NTTドコモ
端末及び通信方法
今日
株式会社NTTドコモ
端末及び通信方法
今日
株式会社NTTドコモ
端末及び通信方法
今日
株式会社NTTドコモ
端末及び通信方法
今日
株式会社NTTドコモ
端末及び通信方法
今日
株式会社NTTドコモ
端末及び通信方法
今日
株式会社NTTドコモ
端末及び通信方法
今日
株式会社NTTドコモ
端末及び通信方法
今日
株式会社NTTドコモ
端末及び通信方法
今日
株式会社NTTドコモ
端末及び通信方法
今日
株式会社NTTドコモ
端末及び通信方法
今日
株式会社NTTドコモ
端末及び通信方法
今日
株式会社NTTドコモ
端末及び通信方法
今日
株式会社NTTドコモ
端末及び通信方法
今日
株式会社NTTドコモ
端末、基地局及び通信方法
今日
株式会社NTTドコモ
端末及び通信方法
今日
続きを見る
他の特許を見る