TOP
|
特許
|
意匠
|
商標
特許ウォッチ
Twitter
他の特許を見る
10個以上の画像は省略されています。
公開番号
2025155720
公報種別
公開特許公報(A)
公開日
2025-10-14
出願番号
2024200838
出願日
2024-11-18
発明の名称
端末及び通信方法
出願人
株式会社NTTドコモ
代理人
弁理士法人ITOH
主分類
H04W
36/08 20090101AFI20251006BHJP(電気通信技術)
要約
【課題】実行条件を満たしたときセル/ビームの切り替えを実行するシステムにおいて、端末はConfigured grantを用いて、セル/ビームの切り替えのための動作を適切に実行できる。
【解決手段】端末は、実行条件を満たしたビーム又はセルへの切り替えを制御し、前記実行条件を満たした前記ビーム又は前記セルと、上りリンク送信のためのリソースを示す設定グラントに関連付けられたビーム又はセルと、に基づいて、前記設定グラントが有効であるかどうかを判断する制御部と、上りリンク送信のためのリソースを示す設定グラントが有効であるとき、前記設定グラントを用いて、上りリンク送信を実行する送信部と、を備える。
【選択図】図4
特許請求の範囲
【請求項1】
実行条件を満たしたビーム又はセルへの切り替えを制御し、
前記実行条件を満たした前記ビーム又は前記セルと、上りリンク送信のためのリソースを示す設定グラントに関連付けられたビーム又はセルと、に基づいて、前記設定グラントが有効であるかどうかを判断する制御部と、
上りリンク送信のためのリソースを示す設定グラントが有効であるとき、前記設定グラントを用いて、上りリンク送信を実行する送信部と、を備える端末。
続きを表示(約 670 文字)
【請求項2】
前記切り替えは、通信の遅延をトリガーとした条件付き切り替え又は条件付きハンドオーバのうちの少なくとも一方である、請求項1に記載の端末。
【請求項3】
前記制御部は、前記設定グラントに関連付けられるビームが、前記実行条件を満たしたビームと一致するとき、前記設定グラントが有効であると判断する、請求項1に記載の端末。
【請求項4】
前記制御部は、前記設定グラントに関連付けられるビームが、前記実行条件を満たしたTCI (Transmission Configuration Indication) stateに関連付けられるビームと一致するとき、前記設定グラントが有効であると判断する、請求項1に記載の端末。
【請求項5】
前記制御部は、前記設定グラントに関連付けられるビームが、前記実行条件を満たしたセル内のビームと一致するとき、前記設定グラントが有効であると判断する、請求項1に記載の端末。
【請求項6】
端末により実行される通信方法であって、
実行条件を満たしたビーム又はセルへの切り替えを制御するステップと、
前記実行条件を満たした前記ビーム又は前記セルと、上りリンク送信のためのリソースを示す設定グラントに関連付けられたビーム又はセルと、に基づいて、前記設定グラントが有効であるかどうかを判断するステップと、
前記設定グラントが有効であるとき、前記設定グラントを用いて、上りリンク送信を実行するステップと、を備える通信方法。
発明の詳細な説明
【技術分野】
【0001】
本発明は、無線通信システムにおける端末及び通信方法に関する。
続きを表示(約 2,300 文字)
【背景技術】
【0002】
3GPP(登録商標)(3rd Generation Partnership Project)Release (Rel-)19においてLTM(Latency Triggered Mobility又はLower layer (L1/L2)-Triggered Mobility)の更なる改善として、RACH based LTMに加えて、RACH (Random Access Chanel)-less LTMをサポートするConditional LTM (条件付きLTM)が議論されている。
【0003】
Rel-19では、RACH-less Conditional LTMにおいて、Configured grantに含まれるリソース情報が、UEによるfirst uplink transmissionに用いられることが合意されている。
【先行技術文献】
【非特許文献】
【0004】
3GPP TS 38.300 V18.2.0(2024-06)
3GPP TS 38.401 V18.2.0(2024-06)
【発明の概要】
【発明が解決しようとする課題】
【0005】
しかしながら、Rel-19におけるRACH-less Conditional LTMでは、LTMのexecution conditionを満たした後、UEがどのようにConfigured grantを用いて動作するか明確になっていない。さらに、conditional handover (CHO)の場合又はL3 execution conditionがLTMに適用された場合、execution conditionが満たされた後、UEがどのようにConfigured grantを用いて動作するか明確になっていない。
【0006】
そのため、execution conditionを用いたセル/ビームの切り替えを適切に実行できないおそれがある。
【課題を解決するための手段】
【0007】
本実施形態における端末は、実行条件を満たしたビーム又はセルへの切り替えを制御し、前記実行条件を満たした前記ビーム又は前記セルと、上りリンク送信のためのリソースを示す設定グラントに関連付けられたビーム又はセルと、に基づいて、前記設定グラントが有効であるかどうかを判断する制御部と、上りリンク送信のためのリソースを示す設定グラントが有効であるとき、前記設定グラントを用いて、上りリンク送信を実行する送信部と、を備える。
【発明の効果】
【0008】
本実施形態によれば、実行条件を満たしたときセル/ビームの切り替えを実行するシステムにおいて、端末はConfigured grantを用いて、セル/ビームの切り替えのための動作を適切に実行できる。
【0009】
条件付きセル切り替えをサポートするシステムにおいて、TA値が無効になった後の端末の動作を明確にし、適切にセル切り替え手順を実行できる。
【図面の簡単な説明】
【0010】
本実施形態における無線通信システムを説明するための図である。
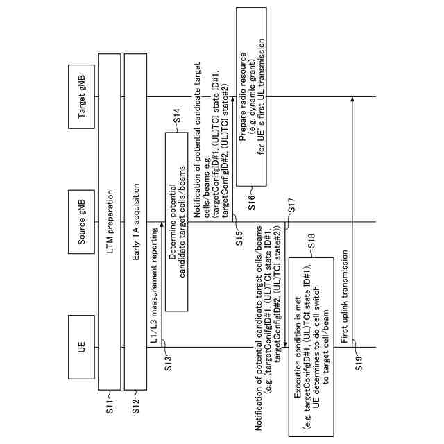
オプション1における無線通信システムの動作を示すシーケンス図である。
オプション2における無線通信システムの動作を示すシーケンス図である。
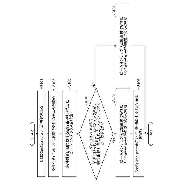
実施例1におけるUEの動作の一例を示すフローチャートである。
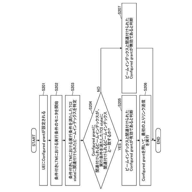
実施例2におけるUEの動作の一例を示すフローチャートである。
実施例3におけるUEの動作の一例を示すフローチャートである。
実施例1の変形例におけるUEの動作の一例を示すフローチャートである。
実施例1の変形例におけるUEの動作の一例を示すフローチャートである。
実施例1におけるRACH-less LTMセル切り替えにおけるConfigured UL grantの有効性を判断する規定の一例である。
実施例1の第1の変形例におけるRACH-less LTMセル切り替えにおけるConfigured UL grantの有効性を判断する規定の一例である。
実施例1の第2の変形例におけるRACH-less LTMセル切り替えにおけるConfigured UL grantの有効性を判断する規定の一例である。
実施例2におけるRACH-less LTMセル切り替えにおけるConfigured UL grantの有効性を判断する規定の一例である。
実施例3におけるRACH-less条件付きハンドオーバにおけるConfigured UL grantの有効性を判断する規定の一例である。
本実施形態におけるLTMにおける実行条件の定義の一例を示す図である。
本実施形態における条件付きハンドオーバ又は条件付きLTMにおけるL3実行条件の定義の一例を示す図である。
本実施形態における基地局の機能構成の一例を示す図である。
本実施形態における端末の機能構成の一例を示す図である。
本実施形態における基地局又は端末のハードウェア構成の一例を示す図である。
本実施形態における車両の構成の一例を示す図である。
【発明を実施するための形態】
(【0011】以降は省略されています)
この特許をJ-PlatPat(特許庁公式サイト)で参照する
関連特許
株式会社NTTドコモ
端末
今日
株式会社NTTドコモ
端末
今日
株式会社NTTドコモ
端末
1日前
株式会社NTTドコモ
端末
今日
株式会社NTTドコモ
端末
今日
株式会社NTTドコモ
端末
1日前
株式会社NTTドコモ
端末
1日前
株式会社NTTドコモ
端末
今日
株式会社NTTドコモ
端末
1日前
株式会社NTTドコモ
基地局
今日
株式会社NTTドコモ
デバイス
今日
株式会社NTTドコモ
デバイス
1日前
株式会社NTTドコモ
デバイス
1日前
株式会社NTTドコモ
デバイス
今日
株式会社NTTドコモ
デバイス
今日
株式会社NTTドコモ
デバイス
1日前
株式会社NTTドコモ
デバイス
1日前
株式会社NTTドコモ
基地局及び端末
今日
株式会社NTTドコモ
基地局及び端末
今日
株式会社NTTドコモ
端末及び基地局
今日
株式会社NTTドコモ
端末及び基地局
今日
株式会社NTTドコモ
端末及び基地局
今日
株式会社NTTドコモ
端末及び通信方法
今日
株式会社NTTドコモ
端末及び通信方法
1日前
株式会社NTTドコモ
端末及び通信方法
今日
株式会社NTTドコモ
端末及び通信方法
今日
株式会社NTTドコモ
端末及び通信方法
1日前
株式会社NTTドコモ
端末及び通信方法
今日
株式会社NTTドコモ
端末及び通信方法
1日前
株式会社NTTドコモ
端末及び通信方法
1日前
株式会社NTTドコモ
端末及び通信方法
1日前
株式会社NTTドコモ
端末及び通信方法
今日
株式会社NTTドコモ
端末及び通信方法
1日前
株式会社NTTドコモ
端末及び通信方法
1日前
株式会社NTTドコモ
端末及び通信方法
今日
株式会社NTTドコモ
端末及び通信方法
今日
続きを見る
他の特許を見る