TOP
|
特許
|
意匠
|
商標
特許ウォッチ
Twitter
他の特許を見る
10個以上の画像は省略されています。
公開番号
2025157057
公報種別
公開特許公報(A)
公開日
2025-10-15
出願番号
2024179407
出願日
2024-10-11
発明の名称
端末及び通信方法
出願人
株式会社NTTドコモ
代理人
弁理士法人ITOH
主分類
H04W
72/1268 20230101AFI20251007BHJP(電気通信技術)
要約
【課題】無線通信システムにおいて、機能を削減された端末がNTN(Non-Terrestrial Network)上で送受信を実行すること。
【解決手段】端末は、NTN(Non-Terrestrial Network)においてDCI(Downlink Control Information)を基地局から受信する受信部と、前記基地局との通信に係るTA(Timing Advance)値を決定する制御部と、前記DCIを介して通知されるトリガに基づいて、前記TA値に係る報告を前記基地局に送信する送信部とを有する。
【選択図】図11
特許請求の範囲
【請求項1】
NTN(Non-Terrestrial Network)においてDCI(Downlink Control Information)を基地局から受信する受信部と、
前記基地局との通信に係るTA(Timing Advance)値を決定する制御部と、
前記DCIを介して通知されるトリガに基づいて、前記TA値に係る報告を前記基地局に送信する送信部とを有する端末。
続きを表示(約 700 文字)
【請求項2】
前記送信部は、前記DCIに含まれる1又は複数のフィールドのビットを介して通知されるトリガに基づいて、前記TA値に係る報告を前記基地局に送信する請求項1記載の端末。
【請求項3】
前記送信部は、前記DCIに含まれるフィールドにより通知される情報に関連付けられて通知されるトリガに基づいて、前記TA値に係る報告を前記基地局に送信する請求項1記載の端末。
【請求項4】
前記送信部は、前記DCIに係るPDCCH(Physical Downlink Control Channel)受信に関連付けられるパラメータ又は前記DCIをスクランブリングするRNTI(Radio Network Temporary Identifier)により通知されるトリガに基づいて、前記TA値に係る報告を前記基地局に送信する請求項1記載の端末。
【請求項5】
前記送信部は、前記DCIによってスケジューリングされるPUSCH(Physical Uplink Shared Channel)を介して、前記基地局に送信する請求項1記載の端末。
【請求項6】
NTN(Non-Terrestrial Network)においてDCI(Downlink Control Information)を基地局から受信する手順と、
前記基地局との通信に係るTA(Timing Advance)値を決定する手順と、
前記DCIを介して通知されるトリガに基づいて、前記TA値に係る報告を前記基地局に送信する手順とを端末が実行する通信方法。
発明の詳細な説明
【技術分野】
【0001】
本発明は、無線通信システムにおける端末及び通信方法に関する。
続きを表示(約 2,000 文字)
【背景技術】
【0002】
LTE(Long Term Evolution)の後継システムであるNR(New Radio)(「5G」ともいう。)においては、要求条件として、大容量のシステム、高速なデータ伝送速度、低遅延、多数の端末の同時接続、低コスト、省電力等を満たす技術が検討されている(例えば非特許文献1)。
【0003】
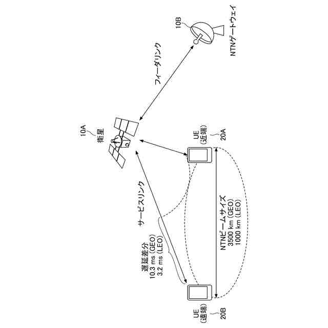
また現在、NTN(Non-Terrestrial Network)が検討されている。NTNとは、衛星等の非地上型ネットワークを使用して、地上型5Gネットワークでは主にコスト面でカバーできないエリアにサービスを提供するものである(例えば非特許文献2及び非特許文献3)。
【0004】
また、LTE又はNRでは、通常の端末がマンダトリでサポートする機能、例えば、送受信帯域幅及びアンテナ数等に係る機能を削減したIoT(Internet of Things)向けUEカテゴリ又はUE能力が定義されている。例えば、LTEでは、eMTC(enhanced Machine Type Communication)、NB-IoT(Narrow Band IoT)、NRではRedCap(Reduced Capability)等が定義されている。
【先行技術文献】
【非特許文献】
【0005】
3GPP TS 38.300 V18.0.0 (2023-12)
3GPP TR 38.821 V16.2.0 (2023-03)
小西 他,"HAPS移動通信システムにおける下りリンク周波数共用に関する一検討",電子情報通信学会総合大会,B-17-1,2020年
3GPP TS 38.211 V18.1.0 (2023-12)
【発明の概要】
【発明が解決しようとする課題】
【0006】
将来システム(例えば、NRリリース18およびNRの後継システムである6G)において、NRリリース17において検討されているRedCapよりさらに機能を削減したeRedCap(enhanced Reduced Capability)が検討されている。しかしながら、既存仕様では、RedCapをサポートする端末が実行する処理に関して、非地上系ネットワーク(Non-Terrestrial Network、NTN)の特性が考慮されていない。
【0007】
本発明は上記の点に鑑みてなされたものであり、無線通信システムにおいて、機能を削減された端末がNTN(Non-Terrestrial Network)上で送受信を実行することを目的とする。
【課題を解決するための手段】
【0008】
開示の技術によれば、NTN(Non-Terrestrial Network)においてDCI(Downlink Control Information)を基地局から受信する受信部と、前記基地局との通信に係るTA(Timing Advance)値を決定する制御部と、前記DCIを介して通知されるトリガに基づいて、前記TA値に係る報告を前記基地局に送信する送信部とを有する端末が提供される。
【発明の効果】
【0009】
開示の技術によれば、無線通信システムにおいて、機能を削減された端末がNTN(Non-Terrestrial Network)上で送受信を実行することができる。
【図面の簡単な説明】
【0010】
NTNの例(1)を示す図である。
NTNの例(2)を示す図である。
NTNの例(3)を示す図である。
NTNの例(4)を示す図である。
NTNの例(5)を示す図である。
RedCapの例を示す図である。
半二重FDDの例を示す図である。
DMRSバンドリングの例(1)を説明するための図である。
DMRSバンドリングの例(2)を説明するための図である。
DMRSバンドリングの例(3)を説明するための図である。
本発明の実施の形態におけるTA報告の例を説明するためのフローチャートである。
本発明の実施の形態における基地局10の機能構成の一例を示す図である。
本発明の実施の形態における端末20の機能構成の一例を示す図である。
本発明の実施の形態における基地局10又は端末20のハードウェア構成の一例を示す図である。
本発明の実施の形態における車両2001の構成の一例を示す図である。
【発明を実施するための形態】
(【0011】以降は省略されています)
この特許をJ-PlatPat(特許庁公式サイト)で参照する
関連特許
株式会社NTTドコモ
端末
1か月前
株式会社NTTドコモ
端末
1か月前
株式会社NTTドコモ
端末
1か月前
株式会社NTTドコモ
端末
1か月前
株式会社NTTドコモ
端末
1か月前
株式会社NTTドコモ
端末
1か月前
株式会社NTTドコモ
端末
1か月前
株式会社NTTドコモ
端末
1か月前
株式会社NTTドコモ
基地局
1か月前
株式会社NTTドコモ
推定装置
22日前
株式会社NTTドコモ
デバイス
1か月前
株式会社NTTドコモ
携帯端末
22日前
株式会社NTTドコモ
デバイス
1か月前
株式会社NTTドコモ
デバイス
1か月前
株式会社NTTドコモ
デバイス
1か月前
株式会社NTTドコモ
デバイス
1か月前
株式会社NTTドコモ
情報処理装置
24日前
株式会社NTTドコモ
移動通信端末
15日前
株式会社NTTドコモ
情報処理装置
1か月前
株式会社NTTドコモ
情報処理装置
22日前
株式会社NTTドコモ
装置及び方法
1か月前
株式会社NTTドコモ
端末及び基地局
1か月前
株式会社NTTドコモ
基地局及び端末
1か月前
株式会社NTTドコモ
端末及び基地局
1か月前
株式会社NTTドコモ
基地局及び端末
1か月前
株式会社NTTドコモ
端末及び基地局
1か月前
株式会社NTTドコモ
端末及び通信方法
1か月前
株式会社NTTドコモ
端末及び通信方法
1か月前
株式会社NTTドコモ
端末及び通信方法
1か月前
株式会社NTTドコモ
端末及び通信方法
1か月前
株式会社NTTドコモ
端末及び通信方法
1か月前
株式会社NTTドコモ
端末及び通信方法
1か月前
株式会社NTTドコモ
端末及び通信方法
1か月前
株式会社NTTドコモ
端末及び通信方法
1か月前
株式会社NTTドコモ
端末及び通信方法
1か月前
株式会社NTTドコモ
端末及び通信方法
1か月前
続きを見る
他の特許を見る