TOP
|
特許
|
意匠
|
商標
特許ウォッチ
Twitter
他の特許を見る
10個以上の画像は省略されています。
公開番号
2025155734
公報種別
公開特許公報(A)
公開日
2025-10-14
出願番号
2024202824
出願日
2024-11-20
発明の名称
端末及び通信方法
出願人
株式会社NTTドコモ
代理人
弁理士法人ITOH
主分類
H04W
72/0446 20230101AFI20251006BHJP(電気通信技術)
要約
【課題】NTN(Non-Terrestrial Network)環境においてTDD(Time division duplex)を使用する端末及び通信方法を提供する。
【解決手段】無線通信システムにおいて、端末は、NTN環境において、TDDパターンに係る情報を基地局から受信する通信部と、TDDパターンに係る情報に基づいて、1周期が下りリンク、ガード期間、上りリンクの順で構成され、かつ、無線フレームの整数倍となる周期を有するTDDパターンを決定する制御部と、を有し、通信部は、決定したTDDパターンを適用して基地局との送受信を実行する。
【選択図】図6
特許請求の範囲
【請求項1】
NTN(Non-Terrestrial Network)において、TDD(Time division duplex)パターンに係る情報を基地局から受信する通信部と、
前記TDDパターンに係る情報に基づいて、1周期が下りリンク、ガード期間、上りリンクの順で構成され、かつ無線フレームの整数倍となる周期を有するTDDパターンを決定する制御部とを有し、
前記通信部は、前記決定したTDDパターンを適用して前記基地局との送受信を実行する端末。
続きを表示(約 590 文字)
【請求項2】
前記制御部は、1周期が下りリンクの最小期間、下りリンクの追加期間、ガード期間、上りリンクの追加期間、上りリンクの最小期間の順で構成され、かつ無線フレームの整数倍となる周期を有するTDDパターンを決定する請求項1記載の端末。
【請求項3】
前記制御部は、TDDパターンがハイパーフレームの先頭から開始されると想定する請求項1記載の端末。
【請求項4】
前記制御部は、前記TDDパターンに係る情報に基づいて下りリンクの追加期間、ガード期間及び上りリンクの追加期間を決定する請求項1記載の端末。
【請求項5】
前記制御部は、第1周期と第2周期とが異なるTDDパターンであるサイクルを繰り返すTDDパターンを決定する請求項1記載の端末。
【請求項6】
NTN(Non-Terrestrial Network)において、TDD(Time division duplex)パターンに係る情報を基地局から受信する手順と、
前記TDDパターンに係る情報に基づいて、1周期が下りリンク、ガード期間、上りリンクの順で構成され、かつ無線フレームの整数倍となる周期を有するTDDパターンを決定する手順とし、
前記決定したTDDパターンを適用して前記基地局との送受信を実行する手順とを端末が実行する通信方法。
発明の詳細な説明
【技術分野】
【0001】
本発明は、無線通信システムにおける端末及び通信方法に関する。
続きを表示(約 2,200 文字)
【背景技術】
【0002】
LTE(Long Term Evolution)の後継システムであるNR(New Radio)(「5G」ともいう。)においては、要求条件として、大容量のシステム、高速なデータ伝送速度、低遅延、多数の端末の同時接続、低コスト、省電力等を満たす技術が検討されている(例えば非特許文献1)。
【0003】
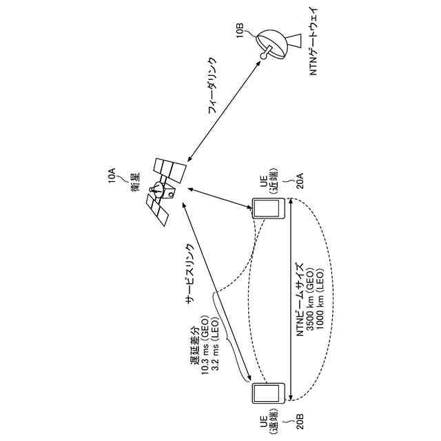
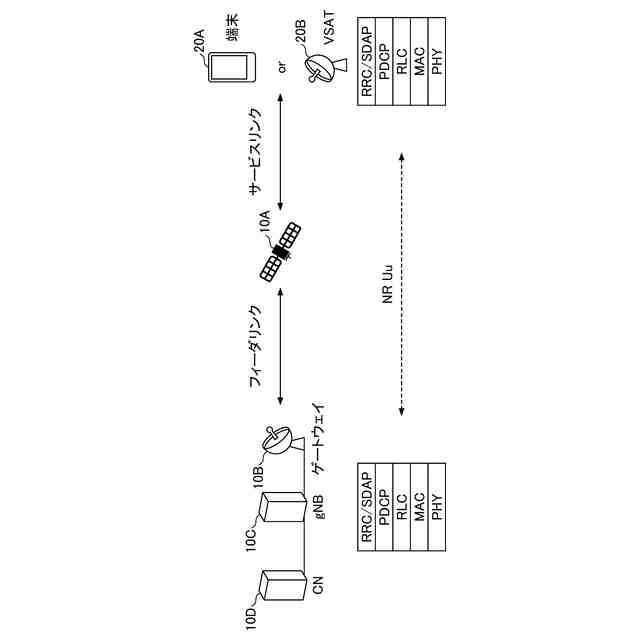
また現在、NTN(Non-Terrestrial Network)が検討されている。NTNとは、衛星等の非地上型ネットワークを使用して、地上型5Gネットワークでは主にコスト面でカバーできないエリアにサービスを提供するものである(例えば非特許文献2及び非特許文献3)。
【先行技術文献】
【非特許文献】
【0004】
3GPP TS 38.300 V18.3.0 (2024-09)
3GPP TR 38.821 V16.2.0 (2023-03)
小西 他,"HAPS移動通信システムにおける下りリンク周波数共用に関する一検討",電子情報通信学会総合大会,B-17-1,2020年
3GPP TSG RAN Meeting #105, RP-242415, September, 2024
3GPP TR 36.763 V17.0.0 (2021-06)
3GPP TS 36.211 V15.8.1 (2020-01)
3GPP TS 36.331 V15.8.0 (2019-12)
3GPP TS 38.331 V18.3.0 (2024-09)
【発明の概要】
【発明が解決しようとする課題】
【0005】
現在のNTNにおける複信方式としては、FDD(Frequency division duplex)が一般に使用される。一方、TDD(Time division duplex)を使用することで、例えば、上りリンクと下りリンクの非対称なトラフィックロードへの対応を容易にし、1バンドのみで上りリンク及び下りリンクを構成することができる。しかしながら、RTT(Round-trip-time)が大きいNTN環境では、TDDには大きなGP(Guard Period)が必要になることから、新たなフレーム構造を規定する必要がある。
【0006】
本発明は上記の点に鑑みてなされたものであり、NTN(Non-Terrestrial Network)環境においてTDD(Time division duplex)を使用することを目的とする。
【課題を解決するための手段】
【0007】
開示の技術によれば、NTN(Non-Terrestrial Network)において、TDD(Time division duplex)パターンに係る情報を基地局から受信する通信部と、前記TDDパターンに係る情報に基づいて、1周期が下りリンク、ガード期間、上りリンクの順で構成され、かつ無線フレームの整数倍となる周期を有するTDDパターンを決定する制御部とを有し、前記通信部は、前記決定したTDDパターンを適用して前記基地局との送受信を実行する端末が提供される。
【発明の効果】
【0008】
開示の技術によれば、NTN(Non-Terrestrial Network)環境においてTDD(Time division duplex)を使用することができる。
【図面の簡単な説明】
【0009】
NTNの例(1)を示す図である。
NTNの例(2)を示す図である。
NTNの例(3)を示す図である。
NTNの例(4)を示す図である。
NR-TDDパターンの例を示す図である。
本発明の実施の形態におけるTDDパターン決定の例を説明するためのフローチャートである。
本発明の実施の形態におけるTDDパターンの例(1)を示す図である。
本発明の実施の形態におけるTDDパターンの例(2)を示す図である。
本発明の実施の形態におけるTDDパターンの例(3)を示す図である。
本発明の実施の形態におけるTDDパターンの例(4)を示す図である。
本発明の実施の形態におけるTDDパターンの例(5)を示す図である。
本発明の実施の形態におけるTDDパターンの例(6)を示す図である。
本発明の実施の形態におけるTDDパターンの例(7)を示す図である。
本発明の実施の形態における基地局10の機能構成の一例を示す図である。
本発明の実施の形態における端末20の機能構成の一例を示す図である。
本発明の実施の形態における基地局10又は端末20のハードウェア構成の一例を示す図である。
本発明の実施の形態における車両2001の構成の一例を示す図である。
【発明を実施するための形態】
【0010】
以下、図面を参照して本発明の実施の形態を説明する。なお、以下で説明する実施の形態は一例であり、本発明が適用される実施の形態は、以下の実施の形態に限られない。
(【0011】以降は省略されています)
この特許をJ-PlatPat(特許庁公式サイト)で参照する
関連特許
株式会社NTTドコモ
端末
1日前
株式会社NTTドコモ
端末
今日
株式会社NTTドコモ
端末
1日前
株式会社NTTドコモ
端末
今日
株式会社NTTドコモ
端末
1日前
株式会社NTTドコモ
端末
今日
株式会社NTTドコモ
端末
今日
株式会社NTTドコモ
端末
今日
株式会社NTTドコモ
端末
1日前
株式会社NTTドコモ
基地局
今日
株式会社NTTドコモ
デバイス
1日前
株式会社NTTドコモ
デバイス
今日
株式会社NTTドコモ
デバイス
1日前
株式会社NTTドコモ
デバイス
今日
株式会社NTTドコモ
デバイス
1日前
株式会社NTTドコモ
デバイス
1日前
株式会社NTTドコモ
デバイス
今日
株式会社NTTドコモ
リニアライザ
8日前
株式会社NTTドコモ
情報処理装置
7日前
株式会社NTTドコモ
基地局及び端末
今日
株式会社NTTドコモ
基地局及び端末
今日
株式会社NTTドコモ
端末及び基地局
今日
株式会社NTTドコモ
端末及び基地局
今日
株式会社NTTドコモ
端末及び基地局
今日
株式会社NTTドコモ
装置および方法
13日前
株式会社NTTドコモ
端末及び通信方法
1日前
株式会社NTTドコモ
端末及び通信方法
1日前
株式会社NTTドコモ
端末及び通信方法
1日前
株式会社NTTドコモ
端末及び通信方法
1日前
株式会社NTTドコモ
端末及び通信方法
1日前
株式会社NTTドコモ
端末及び通信方法
1日前
株式会社NTTドコモ
端末及び通信方法
1日前
株式会社NTTドコモ
端末及び通信方法
1日前
株式会社NTTドコモ
端末及び通信方法
1日前
株式会社NTTドコモ
端末及び通信方法
1日前
株式会社NTTドコモ
端末及び通信方法
1日前
続きを見る
他の特許を見る