TOP
|
特許
|
意匠
|
商標
特許ウォッチ
Twitter
他の特許を見る
公開番号
2025155198
公報種別
公開特許公報(A)
公開日
2025-10-14
出願番号
2024058850
出願日
2024-04-01
発明の名称
ワイヤーハーネス用シールド部材、シールド部材付きワイヤーハーネス、及びワイヤーハーネスのシールド方法
出願人
矢崎総業株式会社
代理人
個人
,
個人
主分類
H05K
9/00 20060101AFI20251006BHJP(他に分類されない電気技術)
要約
【課題】生産性と作業性とを向上させられるワイヤーハーネス用シールド部材を提供する。
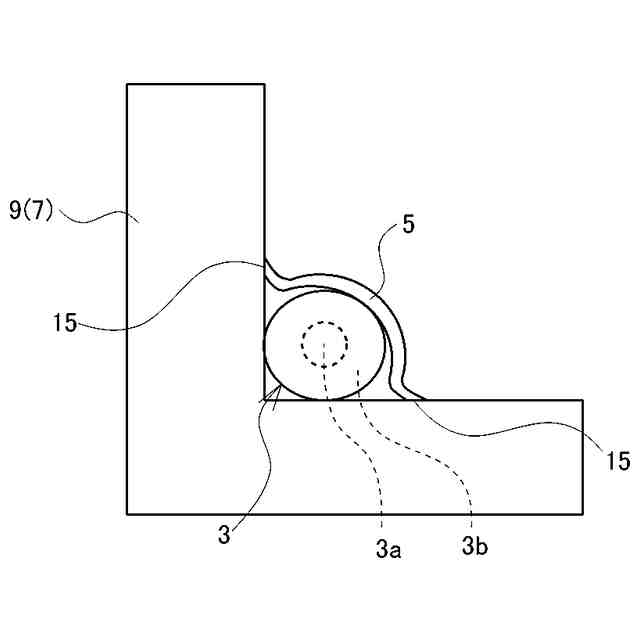
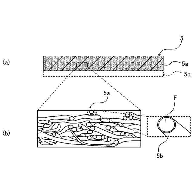
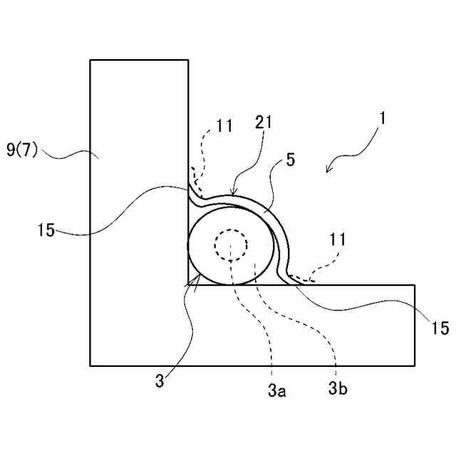
【解決手段】シールド部材21は、車両7を構成する導電性の車体9の表面に配索されたワイヤーハーネス3の一部を覆うように設けられ金属めっきが施された不織布である導電性不織布5を備え、導電性不織布5は、ワイヤーハーネス3の一部を覆うようにして車体9に貼り付けられることで車体9と共にワイヤーハーネス3を挟み込むものであり、車体9の貼り付け位置において車体9に接地している。
【選択図】図1
特許請求の範囲
【請求項1】
車両を構成する導電性の車体の表面に配索されたワイヤーハーネスの一部を覆うように設けられ、金属めっきが施された不織布である導電性不織布を備え、
前記導電性不織布は、前記ワイヤーハーネスの一部を覆うようにして前記車体に貼り付けられることで前記車体と共に前記ワイヤーハーネスを挟み込むものであり、前記車体の貼り付け位置において前記車体に接地している
ことを特徴とする、ワイヤーハーネス用シールド部材。
続きを表示(約 460 文字)
【請求項2】
車両を構成する導電性の車体の表面に配索されたワイヤーハーネスと、
前記ワイヤーハーネスの一部を覆うように設けられ金属めっきが施された不織布である導電性不織布を備えるシールド部材と、
を備え、
前記導電性不織布は、前記ワイヤーハーネスの一部を覆うようにして前記車体に貼り付けられることで前記車体と共に前記ワイヤーハーネスを挟み込むものであり、前記車体の貼り付け位置において前記車体に接地している
ことを特徴とする、シールド部材付きワイヤーハーネス。
【請求項3】
車両を構成する導電性の車体の表面に配索されたワイヤーハーネスの一部を、金属めっきが施された不織布である導電性不織布で覆って、前記車体と前記導電性不織布とで前記ワイヤーハーネスの一部を挟む第1の工程と、
前記導電性不織布を前記車体の前記表面に貼り付けて、前記車体の貼り付け位置において前記車体に接地する第2の工程と、を含む
ことを特徴とするワイヤーハーネスのシールド方法。
発明の詳細な説明
【技術分野】
【0001】
本発明は、ワイヤーハーネス用シールド部材、シールド部材付きワイヤーハーネス、及びワイヤーハーネスのシールド方法に関する。
続きを表示(約 1,900 文字)
【背景技術】
【0002】
現在の自動車は自動運転に関する研究・開発が進み、更に電気自動車の普及により電動化が進んでいるため、今後は車両に配置される各電装品の生産性や信頼性への要求が高くなると考えられる。例えば、ワイヤーハーネスにおいても各電装品から放射される電磁波からワイヤーハーネスをシールドするシールド部材に対する生産性等の要求が増えている。シールド部材が電磁波からワイヤーハーネスをシールドするためにはワイヤーハーネスを導電性のシールド部材で囲み、更にシールド部材をアース接続(接地)する必要がある。そのため、生産性と作業性とに優れた、シールド部材が求められている。
【0003】
ワイヤーハーネスのシールド部材としては、電線を編組線で覆う事でシールド効果を付与するものがある(例えば特許文献1)。またシールド部材として導電性不織布を用いるものも知られている(特許文献2、3)。一方でこれら文献に記載のシールド部材は、特定の部位のみでシールドが必要な場合でもワイヤーハーネスの全体をシールドしており、シールドが不要な部分もシールドしているため、生産性が悪いという問題がある。また、シールド部材を有さないワイヤーハーネスを車両に取り付けた後にシールドが必要になった場合は、既設のワイヤーハーネスを取り外し、シールド部材を有するワイヤーハーネスと交換する必要があるという問題もある。
【0004】
そこで、電線のシールドすべき所定区間をシールド用の金属薄膜で取り囲み、金属薄膜に接触させたドレイン線をグランド接続して電線をシールドすることで生産性を向上させた構造も知られている(特許文献4)。
【先行技術文献】
【特許文献】
【0005】
特開2012-174444号公報
特開2005-47354号公報
特開2015-115361号公報
特開2016-48713号公報
【発明の概要】
【発明が解決しようとする課題】
【0006】
しかしながら特許文献4の構造でシールド部材を接地するためには、円形の接地用端子を装着したアース用リード線及び継ぎ足しジョイントを介して車体パネルや車載機器のグランド接続部分にドレイン線を接続する必要がある。また特許文献4の構造で既設のワイヤーハーネスにシールド部材を取り付けるためには、ワイヤーハーネスを車体から取り外して、シールド用の金属薄膜で取り囲む必要がある。そのため、シールド部材の取り付け、及び接地の際の作業性が十分に向上しない問題があった。
【0007】
本発明は、このような問題を解決するためになされたものであり、その目的とするところは、生産性と作業性とを向上させられるワイヤーハーネス用シールド部材、シールド部材付きワイヤーハーネス、及びワイヤーハーネスのシールド方法を提供することにある。
【課題を解決するための手段】
【0008】
本発明のワイヤーハーネス用シールド部材は、車両を構成する導電性の車体の表面に配索されたワイヤーハーネスの一部を覆うように設けられ、金属めっきが施された不織布である導電性不織布を備え、前記導電性不織布は、前記ワイヤーハーネスの一部を覆うようにして前記車体に貼り付けられることで前記車体と共に前記ワイヤーハーネスを挟み込むものであり、前記車体の貼り付け位置において前記車体に接地している。
【0009】
また、本発明のシールド部材付きワイヤーハーネスは、車両を構成する導電性の車体の表面に配索されたワイヤーハーネスと、前記ワイヤーハーネスの一部を覆うように設けられ金属めっきが施された不織布である導電性不織布を備えるシールド部材と、を備え、前記導電性不織布は、前記ワイヤーハーネスの一部を覆うようにして前記車体に貼り付けられることで前記車体と共に前記ワイヤーハーネスを挟み込むものであり、前記車体の貼り付け位置において前記車体に接地している。
【0010】
本発明のワイヤーハーネスのシールド方法は、車両を構成する導電性の車体の表面に配索されたワイヤーハーネスの一部を、金属めっきが施された不織布である導電性不織布で覆って、前記車体と前記導電性不織布とで前記ワイヤーハーネスの一部を挟む第1の工程と、前記導電性不織布を前記車体の前記表面に貼り付けて、前記車体の貼り付け位置において前記車体に接地する第2の工程と、を含む。
【発明の効果】
(【0011】以降は省略されています)
この特許をJ-PlatPat(特許庁公式サイト)で参照する
関連特許
矢崎総業株式会社
箱状体
13日前
矢崎総業株式会社
箱状体
13日前
矢崎総業株式会社
コネクタ
25日前
矢崎総業株式会社
コネクタ
14日前
矢崎総業株式会社
コネクタ
12日前
矢崎総業株式会社
コネクタ
13日前
矢崎総業株式会社
コネクタ
14日前
矢崎総業株式会社
コネクタ
14日前
矢崎総業株式会社
コネクタ
18日前
矢崎総業株式会社
コネクタ
7日前
矢崎総業株式会社
コネクタ
18日前
矢崎総業株式会社
照明構造
18日前
矢崎総業株式会社
止水部材
18日前
矢崎総業株式会社
コネクタ
20日前
矢崎総業株式会社
コネクタ
20日前
矢崎総業株式会社
コネクタ
22日前
矢崎総業株式会社
コネクタ
11日前
矢崎総業株式会社
コネクタ
13日前
矢崎総業株式会社
バスバー
4日前
矢崎総業株式会社
報知装置
今日
矢崎総業株式会社
ゴムブーツ
18日前
矢崎総業株式会社
電気接続箱
13日前
矢崎総業株式会社
電気接続箱
13日前
矢崎総業株式会社
電気接続箱
13日前
矢崎総業株式会社
プロテクタ
18日前
矢崎総業株式会社
電流検出装置
20日前
矢崎総業株式会社
フラット導体
13日前
矢崎総業株式会社
端子付き電線
5日前
矢崎総業株式会社
コネクタ構造
今日
矢崎総業株式会社
コネクタ構造
今日
矢崎総業株式会社
コネクタ構造
今日
矢崎総業株式会社
ワイヤハーネス
22日前
矢崎総業株式会社
ワイヤハーネス
22日前
矢崎総業株式会社
ワイヤハーネス
22日前
矢崎総業株式会社
ワイヤハーネス
22日前
矢崎総業株式会社
バンドクランプ
25日前
続きを見る
他の特許を見る