TOP
|
特許
|
意匠
|
商標
特許ウォッチ
Twitter
他の特許を見る
10個以上の画像は省略されています。
公開番号
2025155136
公報種別
公開特許公報(A)
公開日
2025-10-14
出願番号
2024058641
出願日
2024-04-01
発明の名称
有価元素の回収方法および金属の製造方法
出願人
JFEスチール株式会社
代理人
個人
,
個人
主分類
C22B
3/00 20060101AFI20251006BHJP(冶金;鉄または非鉄合金;合金の処理または非鉄金属の処理)
要約
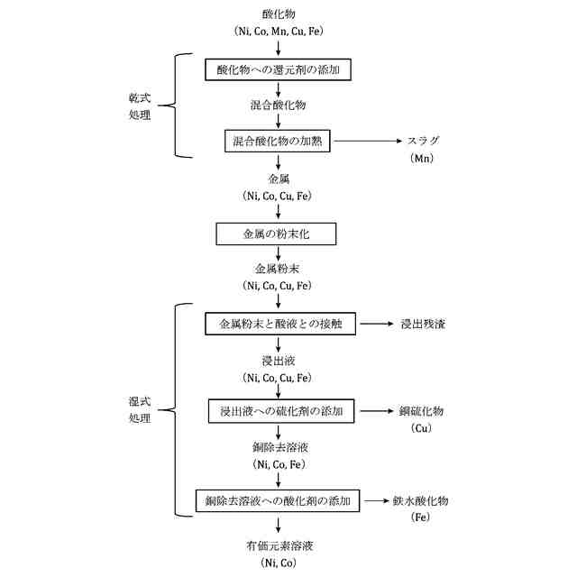
【課題】不純物元素を除去でき、かつ、NiおよびCoを選択的に回収できる有価元素の回収方法を提供する。
【解決手段】NiおよびCoからなる群から選ばれる少なくとも1種ならびにMnである有価元素と、銅および鉄である不純物元素とを含有する酸化物に、還元剤を添加して、混合酸化物を得る。混合酸化物を加熱することにより、酸化物を還元して、金属を得る。金属を酸液に接触させて、有価元素および不純物元素を含有する浸出液を得る。浸出液に硫化剤を添加して、銅を銅硫化物として沈殿させ、銅が除去された浸出液を銅除去溶液として得る。銅除去溶液に酸化剤を添加して、鉄を鉄水酸化物として沈殿させ、鉄が除去された銅除去溶液を、有価元素を含有する有価元素溶液として得る。還元剤が、C系還元剤、Si系還元剤およびAl系還元剤からなる群から選ばれる少なくとも1種を含有し、還元剤の添加量Rが特定の式(1)を満たす。
【選択図】図1
特許請求の範囲
【請求項1】
ニッケルおよびコバルトからなる群から選ばれる少なくとも1種ならびにマンガンである有価元素と、銅および鉄である不純物元素とを含有する酸化物に、還元剤を添加して、混合酸化物を得て、
前記混合酸化物を加熱することにより、前記酸化物を還元して、金属を得て、
前記金属を酸液に接触させて、前記有価元素および前記不純物元素を含有する浸出液を得て、
前記浸出液に硫化剤を添加して、銅を銅硫化物として沈殿させ、銅が除去された前記浸出液を銅除去溶液として得て、
前記銅除去溶液に酸化剤を添加して、鉄を鉄水酸化物として沈殿させ、鉄が除去された前記銅除去溶液を、前記有価元素を含有する有価元素溶液として得て、
前記還元剤が、炭素を含有するC系還元剤、ケイ素を含有するSi系還元剤およびアルミニウムを含有するAl系還元剤からなる群から選ばれる少なくとも1種を含有し、
前記還元剤の添加量Rが、下記式(1)を満たす、有価元素の回収方法。
(0.30a-0.15b+0.60)×[Ni]≦R≦(0.33a-0.17b+0.67)×[Ni]+(0.33a-0.17b+0.67)×[Co]+(0.23a-0.12b+0.47)×[Mn]・・・(1)
ただし、前記式(1)中、
R:前記還元剤の添加量(単位:モル部)
[Ni]:前記酸化物のニッケル含有量(単位:モル部)
[Co]:前記酸化物のコバルト含有量(単位:モル部)
[Mn]:前記酸化物のマンガン含有量(単位:モル部)
a:前記還元剤の合計の添加量(単位:モル部)に対する、前記還元剤における前記C系還元剤の含有量(単位:モル部)のモル比
b:前記還元剤の合計の添加量(単位:モル部)に対する、前記還元剤における前記Si系還元剤の含有量(単位:モル部)のモル比
である。
続きを表示(約 920 文字)
【請求項2】
前記酸化物が、廃リチウムイオン電池から得られる、請求項1に記載の有価元素の回収方法。
【請求項3】
前記混合酸化物を加熱する際の温度が、1400℃以上である、請求項1に記載の有価元素の回収方法。
【請求項4】
前記混合酸化物を加熱することにより得られる前記金属が、前記有価元素および前記不純物元素を含有する、請求項1に記載の有価元素の回収方法。
【請求項5】
前記金属を、粉末化してから、前記酸液に接触させる、請求項1~4のいずれか1項に記載の有価元素の回収方法。
【請求項6】
前記酸液は、酸および酸液用酸化剤を含有し、
前記酸液用酸化剤の含有量が、前記酸に対して、0.5体積%以上である、請求項1~4のいずれか1項に記載の有価元素の回収方法。
【請求項7】
前記酸液用酸化剤が、過酸化水素である、請求項6に記載の有価元素の回収方法。
【請求項8】
前記硫化剤の添加量が、前記浸出液が含有する銅に対して、1.0当量以上であり、
前記銅硫化物を沈殿させる際に、前記硫化剤を添加した前記浸出液のpHを3.0以下にする、請求項1~4のいずれか1項に記載の有価元素の回収方法。
【請求項9】
前記酸化剤が、空気およびオゾンからなる群から選ばれる少なくとも1種の酸化剤A、または、過酸化水素、次亜塩素酸および過マンガン酸カリウムからなる群から選ばれる少なくとも1種の酸化剤Bであり、
前記酸化剤Aの添加量が、前記銅除去溶液に対して、0.1vvm以上であり、
前記酸化剤Bの添加量が、前記銅除去溶液に対して、0.005体積%以上であり、
前記鉄水酸化物を沈殿させる際に、前記酸化剤を添加した前記銅除去溶液のpHを3.0以上7.0以下にする、請求項1~4のいずれか1項に記載の有価元素の回収方法。
【請求項10】
前記酸化剤を添加した前記銅除去溶液の温度が、10℃以上である、請求項9に記載の有価元素の回収方法。
(【請求項11】以降は省略されています)
発明の詳細な説明
【技術分野】
【0001】
本発明は、有価元素の回収方法および金属の製造方法に関する。
続きを表示(約 3,300 文字)
【背景技術】
【0002】
近年、電気自動車の普及により、リチウムイオン電池の需要が急速に増加している。
特に、昨今のCO
2
発生量削減の観点から、化石燃料を使用しない電気自動車の需要は、今後は更に拡大すると思われ、それに伴うリチウムイオン電池の需要も今後は更に増加することが予想される。
【0003】
一般に、リチウムイオン電池の正極材は、ニッケル(Ni)、コバルト(Co)、マンガン(Mn)等を含有する酸化物(複合酸化物)からなる。この複合酸化物の具体例としては、LiNiO
2
、LiCoO
2
、LiMnO
2
などが挙げられる。
Ni、Co、Mnなどの金属元素は、世界的に見ても豊富にあるとは言えない。
このため、廃リチウムイオン電池の正極材から、これらの金属元素(有価元素)を回収することは、資源を有効利用する観点から、非常に有益である。
ここで、「廃リチウムイオン電池」とは、リチウムイオン電池の廃品(使用済み品);リチウムイオン電池の不良品(リチウムイオン電池の製造過程などで発生したもの);等を指す。
【0004】
リチウムイオン電池は、正極材、負極材、セパレータ等の部材の組み合わせにより構成され、更に、電解液なども含む。
このため、廃リチウムイオン電池の正極材から有価元素を回収するに際しては、回収に先立って、電解液の除去、粉砕、破砕などの事前処理を実施する。
このような事前処理を経て、廃リチウムイオン電池から正極材を分離し、その後、分離した正極材から有価元素を回収する。
有価元素を回収する際の処理としては、正極材を還元剤とともに加熱して有価元素を還元生成させる乾式処理(例えば、特許文献1)が挙げられる。
【先行技術文献】
【特許文献】
【0005】
特開2021-95628号公報
【発明の概要】
【発明が解決しようとする課題】
【0006】
乾式処理では、複合酸化物(LiNiO
2
、LiCoO
2
、LiMnO
2
)を還元することにより、有価元素(Ni、Co、Mn)を含有する金属のほか、スラグが生成する。
このとき、Mnを極力還元させないこと(Mnを金属に移行させないでスラグに残留させること)、ならびに、NiおよびCoを選択的に金属に移行させて回収することが要求される場合がある。
【0007】
また、乾式処理により得られる金属は、Ni、Coなどの有価元素のほかに、不純物元素を含む場合がある。不純物元素としては、廃リチウムイオン電池に由来する銅(Cu)および鉄(Fe)が挙げられる。
乾式処理により得られる金属を、リチウムイオン電池の正極材として再利用する場合、この金属に不純物元素(CuおよびFe)が含まれていると、電池性能を悪化させる可能性がある。このため、不純物元素は、できる限り除去することが望ましい。
【0008】
本発明は、以上の点を鑑みてなされたものであり、不純物元素を除去でき、かつ、NiおよびCoを選択的に回収できる有価元素の回収方法を提供することを目的とする。
【課題を解決するための手段】
【0009】
本発明者らは、鋭意検討した結果、下記構成を採用することにより、上記目的が達成されることを見出し、本発明を完成させた。
すなわち、本発明は、以下の[1]~[11]を提供する。
[1]ニッケルおよびコバルトからなる群から選ばれる少なくとも1種ならびにマンガンである有価元素と、銅および鉄である不純物元素とを含有する酸化物に、還元剤を添加して、混合酸化物を得て、上記混合酸化物を加熱することにより、上記酸化物を還元して、金属を得て、上記金属を酸液に接触させて、上記有価元素および上記不純物元素を含有する浸出液を得て、上記浸出液に硫化剤を添加して、銅を銅硫化物として沈殿させ、銅が除去された上記浸出液を銅除去溶液として得て、上記銅除去溶液に酸化剤を添加して、鉄を鉄水酸化物として沈殿させ、鉄が除去された上記銅除去溶液を、上記有価元素を含有する有価元素溶液として得て、上記還元剤が、炭素を含有するC系還元剤、ケイ素を含有するSi系還元剤およびアルミニウムを含有するAl系還元剤からなる群から選ばれる少なくとも1種を含有し、上記還元剤の添加量Rが、下記式(1)を満たす、有価元素の回収方法。
(0.30a-0.15b+0.60)×[Ni]≦R≦(0.33a-0.17b+0.67)×[Ni]+(0.33a-0.17b+0.67)×[Co]+(0.23a-0.12b+0.47)×[Mn]・・・(1)
ただし、上記式(1)中、
R:上記還元剤の添加量(単位:モル部)
[Ni]:上記酸化物のニッケル含有量(単位:モル部)
[Co]:上記酸化物のコバルト含有量(単位:モル部)
[Mn]:上記酸化物のマンガン含有量(単位:モル部)
a:上記還元剤の合計の添加量(単位:モル部)に対する、上記還元剤における上記C系還元剤の含有量(単位:モル部)のモル比
b:上記還元剤の合計の添加量(単位:モル部)に対する、上記還元剤における上記Si系還元剤の含有量(単位:モル部)のモル比
である。
[2]上記酸化物が、廃リチウムイオン電池から得られる、上記[1]に記載の有価元素の回収方法。
[3]上記混合酸化物を加熱する際の温度が、1400℃以上である、上記[1]または[2]に記載の有価元素の回収方法。
[4]上記混合酸化物を加熱することにより得られる上記金属が、上記有価元素および上記不純物元素を含有する、上記[1]~[3]のいずれかに記載の有価元素の回収方法。
[5]上記金属を、粉末化してから、上記酸液に接触させる、上記[1]~[4]のいずれかに記載の有価元素の回収方法。
[6]上記酸液は、酸および酸液用酸化剤を含有し、上記酸液用酸化剤の含有量が、上記酸に対して、0.5体積%以上である、上記[1]~[5]のいずれかに記載の有価元素の回収方法。
[7]上記酸液用酸化剤が、過酸化水素である、上記[6]に記載の有価元素の回収方法。
[8]上記硫化剤の添加量が、上記浸出液が含有する銅に対して、1.0当量以上であり、上記銅硫化物を沈殿させる際に、上記硫化剤を添加した上記浸出液のpHを3.0以下にする、上記[1]~[7]のいずれかに記載の有価元素の回収方法。
[9]上記酸化剤が、空気およびオゾンからなる群から選ばれる少なくとも1種の酸化剤A、または、過酸化水素、次亜塩素酸および過マンガン酸カリウムからなる群から選ばれる少なくとも1種の酸化剤Bであり、上記酸化剤Aの添加量が、上記銅除去溶液に対して、0.1vvm以上であり、上記酸化剤Bの添加量が、上記銅除去溶液に対して、0.005体積%以上であり、上記鉄水酸化物を沈殿させる際に、上記酸化剤を添加した上記銅除去溶液のpHを3.0以上7.0以下にする、上記[1]~[8]のいずれかに記載の有価元素の回収方法。
[10]上記酸化剤を添加した上記銅除去溶液の温度が、10℃以上である、上記[9]に記載の有価元素の回収方法。
[11]上記[1]~[10]のいずれかに記載の有価元素の回収方法を用いて、ニッケルおよびコバルトからなる群から選ばれる少なくとも1種の元素を含有する金属を製造する、金属の製造方法。
【発明の効果】
【0010】
本発明によれば、不純物元素を除去でき、かつ、NiおよびCoを選択的に回収できる有価元素の回収方法を提供することができる。
【図面の簡単な説明】
(【0011】以降は省略されています)
この特許をJ-PlatPat(特許庁公式サイト)で参照する
関連特許
個人
銅鉄合金の製造
2か月前
株式会社プロテリアル
焼結体
8か月前
個人
高強度せん断補強筋用の鋼材
6か月前
宏幸株式会社
金属回収方法
6か月前
JX金属株式会社
鉛の回収方法
13日前
JX金属株式会社
鉛の回収方法
13日前
株式会社神戸製鋼所
鋼材
5か月前
三菱マテリアル株式会社
切削工具
14日前
古河電気工業株式会社
銅線
8日前
株式会社神戸製鋼所
銅合金板
2か月前
株式会社クボタ
比重分離装置
6か月前
株式会社クボタ
比重分離装置
6か月前
国立大学法人東北大学
高耐食銅合金
8か月前
株式会社クボタ
比重分離装置
6か月前
日本製鉄株式会社
鋼材
2か月前
日本製鉄株式会社
鋼材
2か月前
日本製鉄株式会社
鋼材
6か月前
日本製鉄株式会社
鋼材
2か月前
日本製鉄株式会社
鋼材
2か月前
日本製鉄株式会社
鋼材
6か月前
日本製鉄株式会社
鋼材
4か月前
住友金属鉱山株式会社
金属の抽出方法
12日前
日本製鉄株式会社
鋼材
2か月前
日本製鉄株式会社
鋼材
6か月前
日本製鉄株式会社
鋼材
6か月前
株式会社神戸製鋼所
ボルト用鋼
8日前
日本製鉄株式会社
線材
3か月前
日本製鉄株式会社
鋼線
3か月前
日本製鉄株式会社
ボルト
23日前
国立大学法人東北大学
腐食環境用銅合金
8か月前
日本製鉄株式会社
鋼部品
14日前
日本製鉄株式会社
鋼部品
14日前
日本製鉄株式会社
鋼材
8か月前
大同メタル工業株式会社
摺動材料
2か月前
株式会社神戸製鋼所
浸炭窒化鋼材
8日前
大同特殊鋼株式会社
鋼材及び金型
2か月前
続きを見る
他の特許を見る