TOP
|
特許
|
意匠
|
商標
特許ウォッチ
Twitter
他の特許を見る
10個以上の画像は省略されています。
公開番号
2025154796
公報種別
公開特許公報(A)
公開日
2025-10-10
出願番号
2024057988
出願日
2024-03-29
発明の名称
カートリッジ及び画像形成装置
出願人
キヤノン株式会社
代理人
弁理士法人近島国際特許事務所
主分類
G03G
21/18 20060101AFI20251002BHJP(写真;映画;光波以外の波を使用する類似技術;電子写真;ホログラフイ)
要約
【課題】カートリッジと画像形成装置本体との電気的接続の安定性の向上。
【解決手段】カートリッジは、接点部材と、接点部材を支持する支持部材と、電気部品と、を有し、支持部材は、接点部材と電気部品とを電気的に接続する導通経路の少なくとも一部を構成する樹脂成形部を有し、樹脂成形部は、第1方向に沿って延びる第1面と、第1方向と交差する第2方向に延びる第2面と、を有し、接点部材は、金属板で形成され、接点部材は、第1方向に沿って延びる第1部分と、屈曲部と、屈曲部から第2方向に沿った方向に延びる第2部分と、第1部分の移動を規制するように構成された規制部と、を有し、屈曲部が弾性変形した状態であって屈曲部の復元力によって接触部が樹脂成形部の第2面に押し付けられた状態で、支持部材に取り付けられている。
【選択図】図1
特許請求の範囲
【請求項1】
画像形成装置の装置本体に着脱されるカートリッジであって、
前記カートリッジが前記装置本体に装着された場合に前記装置本体の本体接点部と接触する接点部材と、
前記接点部材を支持する支持部材と、
前記接点部材を介して前記装置本体の電気回路と電気的に接続されるように構成された電気部品と、
を有し、
前記支持部材は、樹脂材料で形成された樹脂成形部であって、導電性を有し、前記接点部材と前記電気部品とを電気的に接続する導通経路の少なくとも一部を構成する樹脂成形部を有し、
前記樹脂成形部は、第1方向に沿って延びる第1面と、前記第1方向と交差する第2方向に延びる第2面と、を有し、
前記接点部材は、金属板で形成され、
前記接点部材は、
前記第1方向に沿って延びる第1部分であって、前記本体接点部に接触される被接触面を有し、前記被接触面の裏側において前記第1面と接触する第1部分と、
前記第1方向における前記第1部分の一端において前記金属板が屈曲された屈曲部と、
前記屈曲部から前記第2方向に沿った方向に延びる第2部分であって、前記第1方向における第1側から前記第2面と接触する接触部を有する第2部分と、
前記第1方向における前記第1側の反対の第2側から前記支持部材の一部と当接し、前記第1部分の前記第1側への移動を規制するように構成された規制部と、
を有し、前記屈曲部が弾性変形した状態であって前記屈曲部の復元力によって前記接触部が前記樹脂成形部の前記第2面に押し付けられた状態で、前記支持部材に取り付けられている、
ことを特徴とするカートリッジ。
続きを表示(約 1,400 文字)
【請求項2】
前記接点部材は、前記第1方向及び前記第2方向の双方と交差する第3方向における前記第1部分の一端から前記第2方向に突出する突出部を有し、
前記規制部は、前記突出部の前記第1方向における端面である、
ことを特徴とする請求項1に記載のカートリッジ。
【請求項3】
前記支持部材は、前記第1方向に並んだ一対の凸部を有し、
前記突出部が前記一対の凸部の間に挿通されることで、前記接点部材の前記第1部分が前記第1方向について位置決めされている、
ことを特徴とする請求項2に記載のカートリッジ。
【請求項4】
前記突出部は第1の突出部であり、
前記接点部材は、前記第3方向における前記第1部分の他端から前記第2方向に向かって突出する第2の突出部を有し、
前記第1の突出部及び前記第2の突出部が前記第3方向における両側から前記支持部材の一部を挟むことで、前記接点部材の前記第1部分が前記第3方向について位置決めされている、
ことを特徴とする請求項2に記載のカートリッジ。
【請求項5】
前記支持部材は、凹部を有し、
前記接点部材は、前記第1方向における前記第1部分の第2端から前記第2方向に沿った方向に向かって屈曲された第3部分であって、前記第2方向と交差する方向に突出した凸部が設けられた第3部分を有し、
前記支持部材は、前記凸部に係合される凹部を有し、
前記凸部と前記凹部の係合により、前記接点部材の前記支持部材からの離脱が規制される、
ことを特徴とする請求項1に記載のカートリッジ。
【請求項6】
トナーを収容するトナー収容部が設けられた枠体を更に備え、
前記電気部品は、前記トナー収容部に収容されているトナーの量を検知するための電極である、
ことを特徴とする請求項1に記載のカートリッジ。
【請求項7】
前記トナーを担持して回転軸線の周りで回転する現像ローラを更に備え、
前記枠体は、前記回転軸線の方向における前記現像ローラの端部を回転可能に支持する軸受部材を有し、
前記支持部材は、前記軸受部材である、
ことを特徴とする請求項6に記載のカートリッジ。
【請求項8】
前記電極は、前記トナー収容部の内面に固定された導電性を有するシート材であり、
前記枠体は、前記トナー収容部を形成するフレーム部材を有し、
前記フレーム部材は、導電性を有し且つ樹脂材料で形成された第2の樹脂成形部であって、前記シート材と接触しており、前記樹脂成形部と共に前記導通経路を構成する第2の樹脂成形部を有する、
ことを特徴とする請求項7に記載のカートリッジ。
【請求項9】
前記軸受部材と前記フレーム部材との間に配置され、前記樹脂成形部と前記第2の樹脂成形部とを電気的に接続するバネ部材を更に有する、
ことを特徴とする請求項8に記載のカートリッジ。
【請求項10】
前記カートリッジは、感光ドラムと、前記感光ドラムに作用する少なくとも1つのプロセス手段と、を有するプロセスカートリッジである、
ことを特徴とする請求項1から9のいずれか1項に記載のカートリッジ。
(【請求項11】以降は省略されています)
発明の詳細な説明
【技術分野】
【0001】
本発明は、画像形成装置本体に着脱されるカートリッジ、及び記録材に画像を形成する画像形成装置に関する。
続きを表示(約 2,400 文字)
【背景技術】
【0002】
特許文献1には、画像形成装置本体の接点とプロセスカートリッジの接点とが接触することで、プロセスカートリッジ内の電極が画像形成装置本体の検出回路と電気的に接続される静電容量式トナー残量検知機構が記載されている。特許文献2には、導電性の樹脂で形成される樹脂成形部を現像ユニットに配置し、樹脂成形部の端面が画像形成装置本体の接点と接触することで現像ブレードへの電圧印加が可能となる構成が記載されている。
【先行技術文献】
【特許文献】
【0003】
特開2005-121762号公報
特開2014-63200号公報
【発明の概要】
【発明が解決しようとする課題】
【0004】
本発明は、従来の構成を更に発展させたものであり、カートリッジと画像形成装置本体との電気的接続の安定性を向上させることが可能である。
【課題を解決するための手段】
【0005】
本発明の一態様は、画像形成装置の装置本体に着脱されるカートリッジであって、前記カートリッジが前記装置本体に装着された場合に前記装置本体の本体接点部と接触する接点部材と、前記接点部材を支持する支持部材と、前記接点部材を介して前記装置本体の電気回路と電気的に接続されるように構成された電気部品と、を有し、前記支持部材は、樹脂材料で形成された樹脂成形部であって、導電性を有し、前記接点部材と前記電気部品とを電気的に接続する導通経路の少なくとも一部を構成する樹脂成形部を有し、前記樹脂成形部は、第1方向に沿って延びる第1面と、前記第1方向と交差する第2方向に延びる第2面と、を有し、前記接点部材は、金属板で形成され、前記接点部材は、前記第1方向に沿って延びる第1部分であって、前記本体接点部に接触される被接触面を有し、前記被接触面の裏側において前記第1面と接触する第1部分と、前記第1方向における前記第1部分の一端において前記金属板が屈曲された屈曲部と、前記屈曲部から前記第2方向に沿った方向に延びる第2部分であって、前記第1方向における第1側から前記第2面と接触する接触部を有する第2部分と、前記第1方向における前記第1側の反対の第2側から前記支持部材の一部と当接し、前記第1部分の前記第1側への移動を規制するように構成された規制部と、を有し、前記屈曲部が弾性変形した状態であって前記屈曲部の復元力によって前記接触部が前記樹脂成形部の前記第2面に押し付けられた状態で、前記支持部材に取り付けられている、ことを特徴とするカートリッジである。
【発明の効果】
【0006】
本発明によればカートリッジと画像形成装置本体との電気的接続の安定性を向上させることが可能である。
【図面の簡単な説明】
【0007】
実施形態に係る金属接点の説明図(a~c)。
実施形態に係る画像形成装置の概略図。
実施形態に係るプロセスカートリッジの断面図。
実施形態に係る画像形成装置の概略図。
実施形態に係る画像形成装置の概略図。
実施形態に係る画像形成装置の概略図。
実施形態に係るドラムユニットの分解斜視図。
実施形態に係る現像ユニットの分解斜視図。
実施形態に係るプロセスカートリッジの組立方法を示す分解斜視図。
実施形態に係るプロセスカートリッジの斜視図。
実施形態に係るトナー残量検知機構の概略図。
実施形態に係るプロセスカートリッジの非駆動側の端部を示す斜視図。
図12の状態からプロセスカートリッジの非駆動側カバーを取り外した状態を示す図(a)及び非駆動側カバーを駆動側から見た図(b)。
実施形態に係る現像ユニットにおける導通経路の説明図(a、b)。
実施形態に係る金属接点の取付方法を示す図。
実施形態に係る金属接点と装置本体の電極部材を示す図(a~c)。
実施形態に係るプロセスカートリッジを非駆動側から見た側面図。
実施形態に係る非駆動側軸受の説明図(a~c)。
実施形態に係る現像ブレードの給電経路を説明するための斜視図。
実施形態に係る現像ユニットの側面図(a)及び断面図(b)。
実施形態に係るプロセスカートリッジの断面図。
実施形態に係るプロセスカートリッジを駆動側から見た側面図。
【発明を実施するための形態】
【0008】
以下、本開示に係る実施形態について、図面を参照しながら説明する。
【0009】
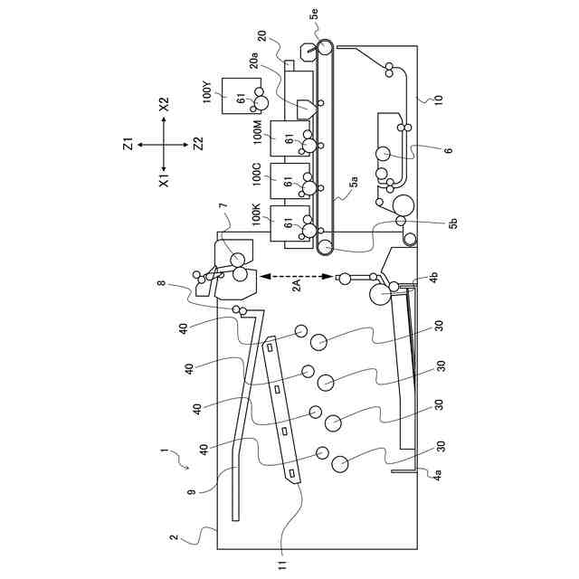
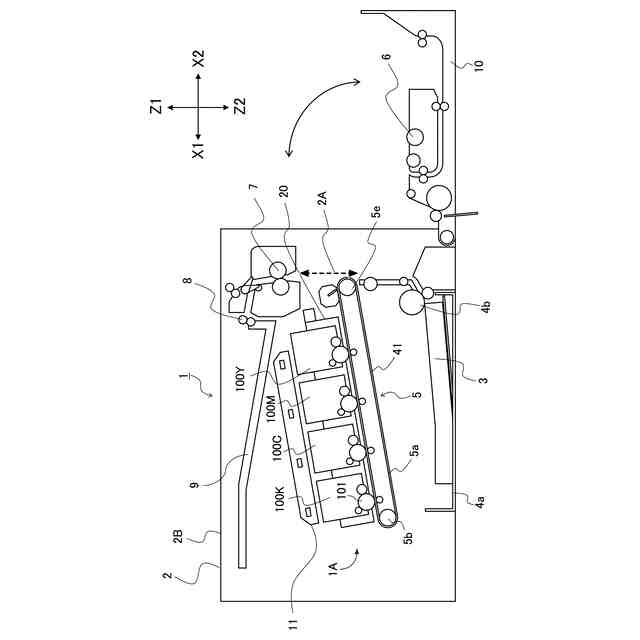
図2を用いて、一実施形態に係る画像形成装置1について説明する。画像形成装置1は、電子写真プロセスにより記録材3にカラー画像を形成するフルカラーレーザービームプリンタである。記録材3(記録媒体)としては、普通紙及び厚紙等の紙、コート紙のような表面処理が施されたシート材、封筒やインデックス紙等の特殊形状のシート材、プラスチックフィルム、布等、サイズ及び材質の異なる多様なシート材を使用可能である。
【0010】
画像形成装置1は、画像形成装置本体(以下、装置本体2と呼ぶ)と、それぞれ装置本体2に着脱可能な4つのプロセスカートリッジ100Y、100M、100C、100Kと、を有する。プロセスカートリッジ100Y~100Kは、装置本体2に着脱される「カートリッジ」の例である。本実施形態において、装置本体2とは、画像形成装置1から4つのプロセスカートリッジ100Y、100M、100C、100Kを除いた部分を指す。なお、装置本体2に装着されるプロセスカートリッジの数は3つ以下でもよいし、5以上であってもよい。
(【0011】以降は省略されています)
この特許をJ-PlatPat(特許庁公式サイト)で参照する
関連特許
キヤノン株式会社
トナー
6日前
キヤノン株式会社
トナー
6日前
キヤノン株式会社
トナー
1か月前
キヤノン株式会社
トナー
11日前
キヤノン株式会社
トナー
6日前
キヤノン株式会社
現像装置
1か月前
キヤノン株式会社
定着装置
5日前
キヤノン株式会社
電子機器
19日前
キヤノン株式会社
電子機器
19日前
キヤノン株式会社
光学装置
1か月前
キヤノン株式会社
電子機器
1か月前
キヤノン株式会社
撮像装置
19日前
キヤノン株式会社
撮像装置
1か月前
キヤノン株式会社
定着装置
25日前
キヤノン株式会社
定着装置
1か月前
キヤノン株式会社
電子機器
1か月前
キヤノン株式会社
記録装置
11日前
キヤノン株式会社
撮像装置
7日前
キヤノン株式会社
定着装置
1か月前
キヤノン株式会社
定着装置
1か月前
キヤノン株式会社
撮像装置
25日前
キヤノン株式会社
記録装置
26日前
キヤノン株式会社
撮像装置
26日前
キヤノン株式会社
撮影装置
4日前
キヤノン株式会社
撮像装置
27日前
キヤノン株式会社
記録装置
4日前
キヤノン株式会社
記録装置
27日前
キヤノン株式会社
撮像装置
1か月前
キヤノン株式会社
電子機器
27日前
キヤノン株式会社
電子機器
1か月前
キヤノン株式会社
撮像装置
1か月前
キヤノン株式会社
電子機器
1か月前
キヤノン株式会社
現像容器
4日前
キヤノン株式会社
撮像装置
1か月前
キヤノン株式会社
撮像装置
1か月前
キヤノン株式会社
定着装置
19日前
続きを見る
他の特許を見る