TOP
|
特許
|
意匠
|
商標
特許ウォッチ
Twitter
他の特許を見る
10個以上の画像は省略されています。
公開番号
2025154666
公報種別
公開特許公報(A)
公開日
2025-10-10
出願番号
2024057786
出願日
2024-03-29
発明の名称
評価用臓器モデル装置、評価用臓器モデルシステム、及び、評価用臓器モデルシステムの制御方法
出願人
東レ株式会社
代理人
個人
,
個人
,
個人
,
個人
主分類
G09B
23/30 20060101AFI20251002BHJP(教育;暗号方法;表示;広告;シール)
要約
【課題】評価用臓器モデル装置と医療機器の挿入部との接触領域を評価するための情報を得ること。
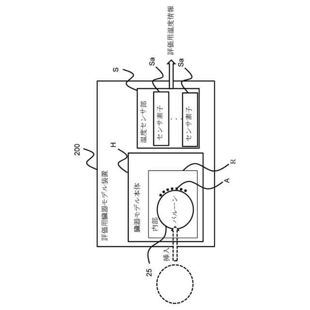
【解決手段】評価用臓器モデル装置は、生体の臓器の少なくとも一部を模した形状を有する臓器モデル本体であって、臓器モデル本体の内部に医療機器の挿入部を挿入可能になっている臓器モデル本体と、臓器モデル本体に配置され、臓器モデル本体の温度を測定する評価用温度センサ部と、を備える。評価用臓器モデル装置は、評価用温度センサ部の測定の結果に基づいて、医療機器の挿入部と臓器モデル本体の内部の表面とが接触した接触領域を評価するための評価用温度情報を出力する。
【選択図】図2
特許請求の範囲
【請求項1】
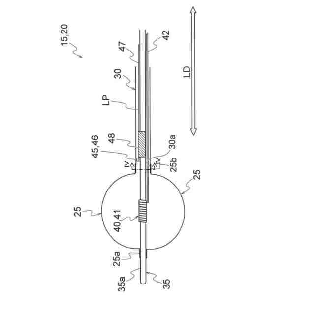
生体の臓器の少なくとも一部を模した形状を有し、かつ、内部に医療機器の挿入部を挿入可能である臓器モデル本体と、
前記臓器モデル本体に配置され、前記臓器モデル本体の温度を測定する評価用温度センサ部と、を備え、
前記評価用温度センサ部の測定の結果に基づいて、前記医療機器の挿入部と前記臓器モデル本体の内部の表面とが接触した接触領域を評価するための評価用温度情報を出力する、評価用臓器モデル装置。
続きを表示(約 970 文字)
【請求項2】
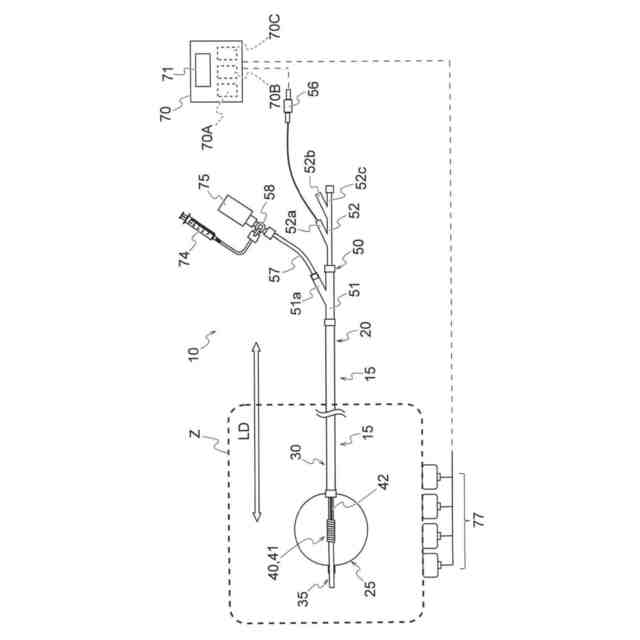
前記医療機器は、バルーンカテーテル治療に適用されるバルーンカテーテルシステムであり、前記医療機器の挿入部は、アブレーション治療するためのバルーンカテーテルのバルーンを含む、請求項1記載の評価用臓器モデル装置。
【請求項3】
前記接触領域は、前記臓器モデル本体の内部の内面と前記バルーンの表面とが接触した領域である、請求項2記載の評価用臓器モデル装置。
【請求項4】
前記評価用温度センサ部は、加熱又は冷却された前記バルーンが前記臓器モデル本体の内部に接触することによる、前記臓器モデル本体の内部の温度の変化を測定する、請求項2~3のいずれか一項記載の評価用臓器モデル装置。
【請求項5】
前記評価用温度センサ部が配置されている領域は、前記臓器モデル本体の内部に対して前記医療機器の挿入部が接触すべき対象領域を含む、請求項1~4のいずれか一項記載の評価用臓器モデル装置。
【請求項6】
前記評価用温度情報は、前記評価用温度センサ部がそれぞれ測定した前記臓器モデル本体の内部の内面の位置の位置情報を含む、請求項1~5のいずれか一項記載の評価用臓器モデル装置。
【請求項7】
前記臓器モデル本体は、生体の臓器として心臓の構成を模した形状を有する、請求項1~6のいずれか一項記載の評価用臓器モデル装置。
【請求項8】
前記評価用臓器モデル装置は、使用者の医療用手技の訓練又はシミュレーションに用いられる装置である、請求項1~7のいずれか一項記載の評価用臓器モデル装置。
【請求項9】
前記臓器モデル本体の内部の内面は、予め規定された温度範囲に設定され、
前記臓器モデル本体の内部に前記バルーンが挿入され、前記バルーンの温度が前記臓器モデル本体の内部の内面とは異なる温度に加熱又は冷却された状態で、前記臓器モデル本体の内部の内面と前記バルーンの表面とが接触する、請求項4記載の評価用臓器モデル装置。
【請求項10】
前記臓器モデル本体の内部の内面の前記温度範囲は、前記生体の体温の範囲に設定される、
請求項9記載の評価用臓器モデル装置。
(【請求項11】以降は省略されています)
発明の詳細な説明
【技術分野】
【0001】
本発明は、評価用臓器モデル装置、評価用臓器モデルシステム、及び、評価用臓器モデルシステムの制御方法に関する。
続きを表示(約 1,300 文字)
【背景技術】
【0002】
近年、医療技術が高度化及び複雑化している。それに伴って、例えば、外科医に要求される技術も高度化及び多様化している。そのため、手術シミュレーターが用いられることがある。これにより、若手執刀医は訓練を行うことができる。また、熟練の執刀医も手術前のリハーサルを行うことができる。
【0003】
このような医療技術のうち、例えば、カテーテルアブレーション治療は、体内に挿入されたカテーテルを用いて、体内の標的部位をアブレーションする治療法である。一例として、標的部位をアブレーションにより破壊することで、心房細動による不整脈、子宮内膜症、癌等の疾患の治療が行われている。カテーテルアブレーション治療に用いられるカテーテルとして、遠位端にバルーンを有するバルーンカテーテルが知られている。
【0004】
そして、バルーンカテーテルを体内に挿入する際、バルーンは収縮してバルーンカテーテルの長手方向に伸張している。バルーンカテーテルが体内に挿入されると、当該バルーンカテーテルに液体が供給される。バルーンは液体を供給されることによって膨張する。バルーンの表面温度は、バルーン内の液体の温度を調節することによって、制御される。所定の表面温度に調節されたバルーンを、周状の標的部位、例えば静脈の心房への接続部位に接触させることで、周状に標的部位を一度にアブレーションすることができる。
【0005】
バルーンカテーテルを用いたアブレーション治療では、標的部位の温度、バルーンの表面温度、バルーンの標的部位への接触及びアブレーション時間等を管理することが重要となる。
【0006】
ここで、既述のような使用者の医療用手技の訓練又はシミュレーションに用いられる従来技術として、例えば、使用者が、手術シミュレーターの実体モデルの温度状態を把握することの可能な臓器モデル及び温度インジケータパッチが提案されている(例えば、特許文献1参照)。
【先行技術文献】
【特許文献】
【0007】
特許第6801878号
【発明の概要】
【発明が解決しようとする課題】
【0008】
上述の従来技術では、使用者が、手術シミュレーターの実体モデルの温度状態を把握するために、臓器モデルに着けられた温度インジケータの不可逆性のサーモクロミック顔料が彩度上昇領域の下限温度に達したときに発色するものである。
【0009】
したがって、上述の従来技術では、医療機器の挿入部が臓器モデルに挿入されて接触したとしても、当該不可逆性のサーモクロミック顔料が彩度上昇領域の下限温度に達しない場合には、発色しない。また、医療機器の挿入部が臓器モデルから離れても、当該サーモクロミック顔料の不可逆性の特性により、発色した状態を維持するものとなる。
【0010】
すなわち、上記従来技術では、臓器モデルと当該医療機器の挿入部との接触領域を評価するための情報を適切に得ることができない問題がある。
(【0011】以降は省略されています)
この特許をJ-PlatPat(特許庁公式サイト)で参照する
関連特許
東レ株式会社
電池
11日前
東レ株式会社
遠心ポッティング方法
24日前
東レ株式会社
ポリオレフィン系樹脂発泡シート
16日前
東レ株式会社
ポリアミド樹脂組成物および成形品
25日前
東レ株式会社
電子部品の製造方法および樹脂組成物
18日前
東レ株式会社
液体電解用多孔質輸送層およびその製造方法
16日前
東レ株式会社
湿式不織布、および固体電解質用補強シート
18日前
東レ株式会社
ガス拡散電極と触媒層付き電解質膜の接着力測定方法
1か月前
東レ株式会社
芳香族化合物の製造方法、およびテレフタル酸の製造方法
16日前
東レ株式会社
ナノ粒子分散消毒液、その製造方法および抗ウイルス表面の形成方法。
3日前
東レ株式会社
芳香族ポリアミドフィルムおよび芳香族ポリアミドフィルムの製造方法
24日前
東レ株式会社
ポリアミック酸の製造方法、ポリアミック酸、ポリアミック酸樹脂組成物およびその硬化物
3日前
日華化学株式会社
撥水剤組成物、撥水性繊維製品の製造方法、及び撥水性繊維製品
16日前
東レ株式会社
カチオン可染ポリエステル繊維構造物およびその製造方法ならびにメディカル用ユニフォーム
16日前
東レ株式会社
積層体、フィルムロール、フィルムロールの製造方法、有機系太陽電池、および電子デバイス装置
16日前
東レ株式会社
着色ポリエステル繊維の着色成分抽出方法及び着色成分抽出ポリエステル繊維からエステルモノマー、さらには再生ポリエステルを得る方法
16日前
個人
教育のAI化
16日前
個人
英語教材
1か月前
日本精機株式会社
表示装置
19日前
日本精機株式会社
表示装置
1か月前
個人
計算用教具
1か月前
中国電力株式会社
標示旗
2か月前
個人
インフィニティミラー
17日前
日本精機株式会社
車両用表示装置
25日前
個人
微細構造を模した理科学習教材
1か月前
日本精機株式会社
車両用センサ装置
1か月前
日榮新化株式会社
対象物質感知シート
16日前
ニチレイマグネット株式会社
サイン器具
1か月前
シャープ株式会社
表示装置
2か月前
株式会社ウメラボ
学習支援システム
1か月前
株式会社ウメラボ
学習支援システム
1か月前
朝日インテック株式会社
ラベルシート
1か月前
ニチレイマグネット株式会社
磁着式電飾装置
2か月前
日本精機株式会社
表示装置及びその製造方法
19日前
株式会社リコー
画像投射システム
2か月前
シャープ株式会社
表示装置
1か月前
続きを見る
他の特許を見る