TOP
|
特許
|
意匠
|
商標
特許ウォッチ
Twitter
他の特許を見る
公開番号
2025160951
公報種別
公開特許公報(A)
公開日
2025-10-24
出願番号
2024063709
出願日
2024-04-11
発明の名称
ガス拡散電極と触媒層付き電解質膜の接着力測定方法
出願人
東レ株式会社
代理人
主分類
H01M
4/88 20060101AFI20251017BHJP(基本的電気素子)
要約
【課題】燃料電池の膜電極接合体におけるガス拡散電極および触媒層付き電解質膜の界面の接着力を測定する際に、試験前にガス拡散電極と触媒層付き電解質膜を剥離させることなく、高精度に接着力を測定する方法を提供する。
【解決手段】ガス拡散電極および触媒層付き電解質膜を熱圧着により貼り合わせる熱圧着工程と、前記ガス拡散電極から前記触媒層付き電解質膜を剥離して接着力を測定する剥離工程を有する、ガス拡散電極と触媒層付き電解質膜の接着力測定方法であって、前記ガス拡散電極および前記触媒層付き電解質膜がいずれも矩形形状であり、前記ガス拡散電極の長手方向の長さが前記触媒層付き電解質膜の長手方向の長さよりも短く、前記ガス拡散電極の短手方向の長さが前記触媒層付き電解質膜の短手方向の長さよりも長いガス拡散電極と触媒層付き電解質膜の接着力測定方法。
【選択図】図2
特許請求の範囲
【請求項1】
ガス拡散電極および触媒層付き電解質膜を熱圧着により貼り合わせる熱圧着工程と、前記ガス拡散電極から前記触媒層付き電解質膜を剥離して接着力を測定する剥離工程を有する、ガス拡散電極と触媒層付き電解質膜の接着力測定方法であって、前記ガス拡散電極および前記触媒層付き電解質膜がいずれも矩形形状であり、前記ガス拡散電極の長手方向の長さが前記触媒層付き電解質膜の長手方向の長さよりも短く、前記ガス拡散電極の短手方向の長さが前記触媒層付き電解質膜の短手方向の長さよりも長いガス拡散電極と触媒層付き電解質膜の接着力測定方法。
続きを表示(約 330 文字)
【請求項2】
前記ガス拡散電極が導電性多孔質基材と微多孔層からなり、前記熱圧着工程において、前記ガス拡散電極の微多孔層側表面に前記触媒層付き電解質膜を貼り合わせる請求項1に記載のガス拡散電極と触媒層付き電解質膜の接着力測定方法。
【請求項3】
前記熱圧着における温度が60~120℃であり、圧力が0.2~1.5MPaである請求項1に記載のガス拡散電極と触媒層付き電解質膜の接着力の測定方法。
【請求項4】
前記剥離工程において、前記ガス拡散電極から前記触媒層付き電解質膜を剥離する際の剥離速度が5~50mm/分であり、剥離角度が150~180°である請求項1に記載のガス拡散電極と触媒層付き電解質膜の接着力測定方法。
発明の詳細な説明
【技術分野】
【0001】
本発明は、燃料電池に用いられる、ガス拡散電極と触媒層付き電解質膜の界面での接着力を測定する測定方法に関する。
続きを表示(約 1,600 文字)
【背景技術】
【0002】
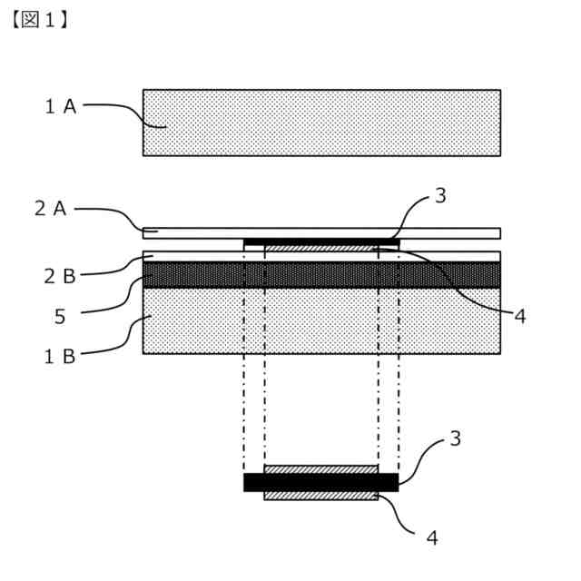
水素を含む燃料ガスをアノードに供給し、酸素を含む酸化ガスをカソードに供給して、両極で起こる電気化学反応によって起電力を得る固体高分子型燃料電池は、一般的に、セパレータ、ガス拡散電極、触媒層、電解質膜、触媒層、ガス拡散電極、セパレータを順に積層して構成されているセルを1つの単位として、複数のセルが直列に重ねられたスタックと呼ばれる発電ユニットから構成されている。ここで、触媒層、電解質膜、触媒層の3層の部分を触媒層付き電解質膜と呼び、触媒層付き電解質膜の両側に配置するガス拡散電極を含めた5層の部分を膜電極接合体と呼ぶ。
【0003】
通常の燃料電池の動作において、アノード側では以下の反応が進行する。
H
2
→2H
+
+2e
-
(1)
また、カソード側では以下の反応が進行する。
O
2
+4H
+
+4e
-
→2H
2
O (2)。
【0004】
この水素と酸素の電気化学反応により燃料電池としての起電力を得る。また、このときに水が生成する。
【0005】
上記の電気化学反応が効率よく起きるためには、ガス拡散電極と触媒層付き電解質膜の界面での電気伝導性が良好であること、すなわち本界面の接着性が良好であることが必要である。また、膜電極接合体の製造工程においてガス拡散電極と触媒層付き電解質膜を貼り合わせた後に、位置がずれたり剥がれたりせずに搬送するためにも接着性が良好であることは必要である。このようにガス拡散電極と触媒層付き電解質膜の界面の接着性は重要な指標であり、この接着性を精度よく評価する手法が求められる。
【0006】
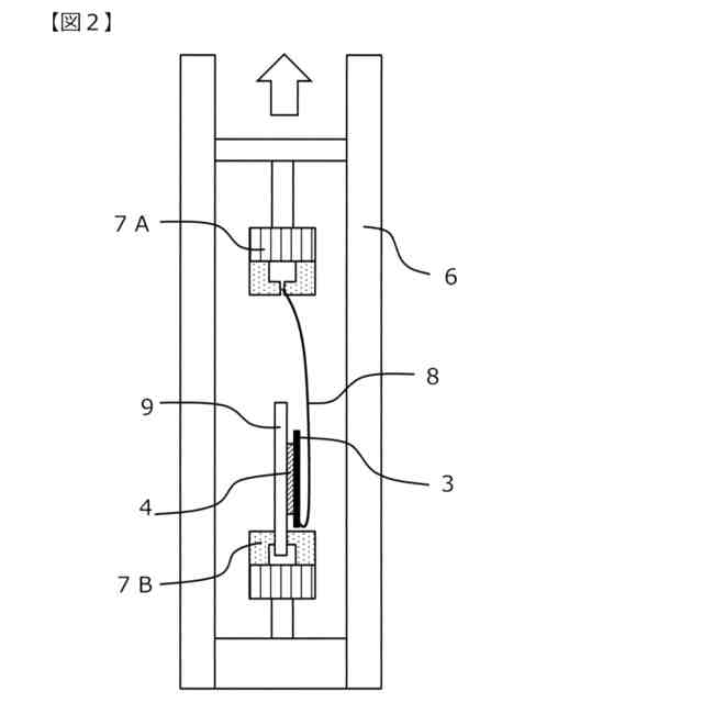
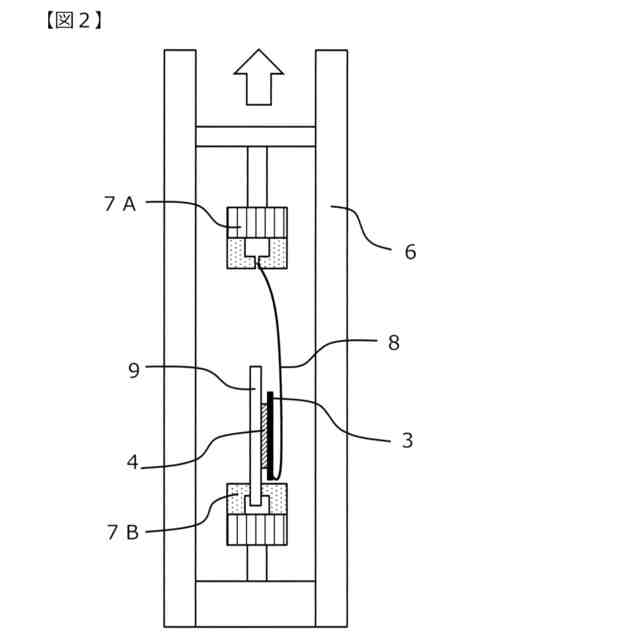
このようなガス拡散電極と触媒層付き電解質膜の界面の接着力の評価方法として、例えば、同じサイズに裁断したガス拡散電極と触媒層付き電解質膜をホットプレスにより熱圧着し、触媒層付き電解質膜に貼り付けたドラフティングテープに重りを取り付け、触媒層が剥がれ落ちる重りの重量を測定する接着力の測定方法が知られている(特許文献1)。
【0007】
また、触媒層付き電解質膜とガス拡散層を貼り合わせた試験片の端部を折り曲げることでガス拡散層だけを破断させてクランプ部となる破断箇所を作製し、当該破断箇所を把持して触媒層とガス拡散層の間を層間剥離することで、当該層間の接着強度を測定する方法が知られている(特許文献2)。
【先行技術文献】
【特許文献】
【0008】
特開2018-137073号公報
特開2021-125369号公報
【発明の概要】
【発明が解決しようとする課題】
【0009】
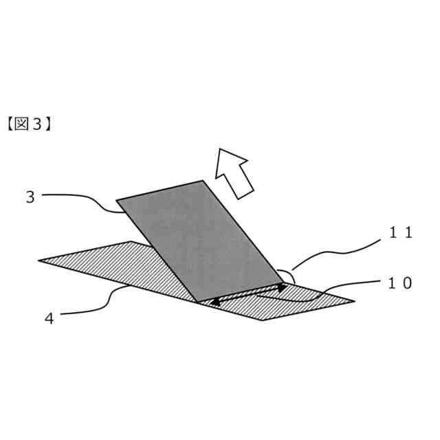
しかしながら、特許文献1に記載の測定方法では、ガス拡散電極と触媒層付き電解質膜のサイズが同じであるため、熱圧着時の互いの位置のずれにより、剥離界面の幅(図3)が不均一になることや、重りの取り付け方によって剥離界面に均一な力がかからないことなどから、ガス拡散電極と触媒層付き電解質膜の層間の接着力を正確に測定できないことがあった。また、剥離開始時の剥離の起点が形成されるときの応力は剥離が進行しているときの応力よりも一般的に大きく、ばらつきも大きいため、真の接着力が測定できないことがあった。
【0010】
また、特許文献2に記載の測定方法は、剥離の起点を試験片端部の破断によりあらかじめ形成する際に不均一な応力集中が起こりガス拡散電極と触媒層付き電解質膜の触媒層が剥離してしまうことがあった。
【課題を解決するための手段】
(【0011】以降は省略されています)
この特許をJ-PlatPat(特許庁公式サイト)で参照する
関連特許
東レ株式会社
電池
17日前
東レ株式会社
化粧料
1か月前
東レ株式会社
浄水器
2か月前
東レ株式会社
防護服
1か月前
東レ株式会社
複合半透膜
3か月前
東レ株式会社
積層フィルム
2か月前
東レ株式会社
風車ブレード
3か月前
東レ株式会社
積層フィルム
1か月前
東レ株式会社
黒色樹脂組成物
1か月前
東レ株式会社
無配向フィルム
1か月前
東レ株式会社
光透過性表皮材
1か月前
東レ株式会社
加飾用フィルム
1か月前
東レ株式会社
多孔質炭素シート
2か月前
東レ株式会社
貼合体の製造方法
1か月前
東レ株式会社
赤外線遮蔽構成体
1か月前
東レ株式会社
飛翔体用ブレード
1か月前
東レ株式会社
不織布の製造装置
1か月前
東レ株式会社
多層積層フィルム
2か月前
東レ株式会社
溶融紡糸口金パック
1か月前
東レ株式会社
サンドイッチ構造体
2か月前
東レ株式会社
車両用衝撃吸収部材
1か月前
東レ株式会社
繊維断面の検査方法
1か月前
東レ株式会社
遮熱性アクリル繊維
1か月前
東レ株式会社
太陽電池モジュール
1か月前
東レ株式会社
フィルムの製造装置
1か月前
東レ株式会社
テーパ付き円筒部材
1か月前
東レ株式会社
中空糸膜モジュール
1か月前
東レ株式会社
ポリエステルフィルム
1か月前
東レ株式会社
遠心ポッティング方法
1か月前
東レ株式会社
ガス拡散層の製造方法
2か月前
東レ株式会社
引抜成形品の製造方法
3か月前
東レ株式会社
複合成形体の製造方法
2か月前
東レ株式会社
ポリエステルフィルム
2か月前
東レ株式会社
複合成形体の製造方法
1か月前
東レ株式会社
ポリプロピレンフィルム
1か月前
東レ株式会社
織物およびシート表皮材
2か月前
続きを見る
他の特許を見る