TOP
|
特許
|
意匠
|
商標
特許ウォッチ
Twitter
他の特許を見る
10個以上の画像は省略されています。
公開番号
2025154390
公報種別
公開特許公報(A)
公開日
2025-10-10
出願番号
2024057355
出願日
2024-03-29
発明の名称
車両用シート空調装置
出願人
パナソニックオートモーティブシステムズ株式会社
代理人
個人
,
個人
,
個人
主分類
B60H
1/00 20060101AFI20251002BHJP(車両一般)
要約
【課題】車両の前席及び後席の人に不快感を与えることを抑制する。
【解決手段】車両用シート空調装置1は、吸気口20から吸い込まれた空気を送風機31まで導く吸気通風路40と、送風機31から送り出された空気をシートバック13の前面及び上面に位置する第1吐出口21まで導く第1通風路51と、送風機31から送り出された空気をシートバック13の背面に位置する第2吐出口22まで導く第2通風路52と、送風機31から排出された空気の送り先を第1通風路51又は第2通風路52に切り替える切替部70と、を備える。第1通風路51は、送風機31から切替部70を介して送り出された空気を、第1吐出口21からシート10の前方及び斜め前方の少なくとも一方の方向に吐出させる。第2通風路52は、送風機31から切替部70を介して送り出された空気を、第2吐出口22からシート10の後方とは異なる方向に吐出させる。
【選択図】図6
特許請求の範囲
【請求項1】
車両に配置され、シートバック及び座部を有するシートに用いられる車両用シート空調装置であって、
送風機と、
前記送風機が稼働されることで前記車両内の吸気口から吸い込まれた空気を前記送風機まで導く吸気通風路と、
前記送風機から送り出された空気を前記シートバックの前面及び上面の少なくとも一方に位置する第1吐出口まで導く第1通風路と、
前記送風機から送り出された空気を前記シートバックの背面、前記座部よりも後ろ側又は前記座部の横側に位置する第2吐出口まで導く第2通風路と、
前記送風機から排出された空気の送り先を前記第1通風路又は前記第2通風路に切り替える切替部と、
を備え、
前記第1通風路は、前記送風機から前記切替部を介して送り出された前記空気を、前記第1吐出口から前記シートの前方及び斜め前方の少なくとも一方の方向に吐出させ、
前記第2通風路は、前記送風機から前記切替部を介して送り出された前記空気を、前記第2吐出口から前記シートの後方とは異なる方向に吐出させる
車両用シート空調装置。
続きを表示(約 1,000 文字)
【請求項2】
前記第2吐出口は、前記シートバックの背面又は前記座部よりも後ろ側に位置し、
前記第2通風路は、前記空気を前記第2吐出口から下方に吐出させる
請求項1に記載の車両用シート空調装置。
【請求項3】
前記第1吐出口は、前記シートバックの上部に設けられ、
前記第2吐出口は、前記第1吐出口よりも低い位置に設けられている
請求項1に記載の車両用シート空調装置。
【請求項4】
前記第1吐出口は、前記シートバックの上部に設けられ、
前記第2吐出口は、前記座部の上面よりも低い位置に設けられている
請求項1に記載の車両用シート空調装置。
【請求項5】
前記吸気口は、前記第1吐出口よりも下側であって、かつ、前記シートバック及び前記座部の少なくとも一方に位置している
請求項1に記載の車両用シート空調装置。
【請求項6】
さらに、前記切替部及び前記送風機を制御する制御部を備え、
前記車両用シート空調装置は、前記第1通風路を介して前記第1吐出口から前記空気を吐出する出す第1モード、及び、前記第2通風路を介して前記第2吐出口から前記空気を吐出する第2モードを有し、
前記制御部は、前記切替部を制御することで、前記第1モード及び前記第2モードを切り替える
請求項1~5のいずれかに記載の車両用シート空調装置。
【請求項7】
前記切替部は、前記第1通風路及び前記第2通風路を開閉する可動板を有し、
前記制御部は、前記可動板を可動させることで、前記第1モード及び前記第2モードを切り替える
請求項6に記載の車両用シート空調装置。
【請求項8】
前記制御部は、前記第1モードのときに前記第1通風路の送風経路から前記可動板を退避させる
請求項7に記載の車両用シート空調装置。
【請求項9】
前記制御部は、前記送風機の稼働を開始するときに前記第2モードにし、前記送風機の稼働を開始してから所定時間経過後に前記第1モードにする
請求項6に記載の車両用シート空調装置。
【請求項10】
前記制御部は、前記送風機の稼働を開始するときに前記第2モードにし、前記第2モードにした後、前記車両の内部の温度が所定温度に到達したときに前記第1モードにする
請求項6に記載の車両用シート空調装置。
(【請求項11】以降は省略されています)
発明の詳細な説明
【技術分野】
【0001】
本開示は、シートに着座する人に送風するシート空調装置に関する。
続きを表示(約 2,300 文字)
【背景技術】
【0002】
近年では、シートから空調風を乗員に向けて吹出すシート空調装置が知られている。従来技術のシート空調装置は、冷房初期の過渡期と、室内温度が目標温度に近付いた安定期とは、異なる吹出し方をすることで、快適性を向上させることができる。
【0003】
例えば、特許文献1の車両用シート空調装置では、制御装置が第1開閉弁、第2開閉弁及び第3開閉弁をそれぞれ制御することで、空調風を乗員の首回りに吹き付けたり、乗員の背部に向けて吹き付けたりする。
【先行技術文献】
【特許文献】
【0004】
特開2020-199990号公報
【発明の概要】
【発明が解決しようとする課題】
【0005】
シート空調装置では、冷房が不十分な運転初期にシートの内部を通って暖められた空気が吹き出され、シートに着座している人に不快感を与えることがある。それに対し、例えばシートの後ろ側から空気を吹き出すことで、シートに着座している前席の人に不快感を与えることを抑制できる。しかし、シートの後ろ側に暖められた空気が吹き出されるので、後席の人に不快感を与えることがある。
【0006】
そこで、本開示では、車両の前席及び後席の人に不快感を与えることを抑制できる車両用シート空調装置を提供する。
【課題を解決するための手段】
【0007】
本開示の一態様に係る車両用シート空調装置は、車両に配置され、シートバック及び座部を有するシートに用いられる車両用シート空調装置であって、送風機と、前記送風機が稼働されることで前記車両内の吸気口から吸い込まれた空気を前記送風機まで導く吸気通風路と、前記送風機から送り出された空気を前記シートバックの前面及び上面の少なくとも一方に位置する第1吐出口まで導く第1通風路と、前記送風機から送り出された空気を前記シートバックの背面、前記座部よりも後ろ側又は前記座部の横側に位置する第2吐出口まで導く第2通風路と、前記送風機から排出された空気の送り先を前記第1通風路又は前記第2通風路に切り替える切替部と、を備え、前記第1通風路は、前記送風機から前記切替部を介して送り出された前記空気を、前記第1吐出口から前記シートの前方及び斜め前方の少なくとも一方の方向に吐出させ、前記第2通風路は、前記送風機から前記切替部を介して送り出された前記空気を、前記第2吐出口から前記シートの後方とは異なる方向に吐出させる。
【発明の効果】
【0008】
本開示の車両用シート空調装置では、車両の前席及び後席の人に不快感を与えることを抑制できる。
【図面の簡単な説明】
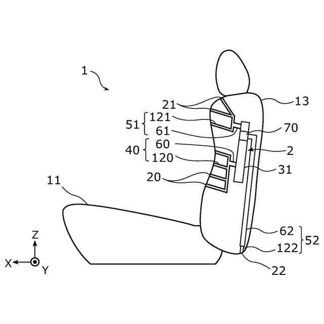
【0009】
実施の形態における車両用シート空調装置の外観を示す斜視図である。
実施の形態における車両用シート空調装置を後ろ側から見た図である。
実施の形態における車両用シート空調装置を横から見た図である。
実施の形態における車両用シート空調装置の通風路等を示す模式図である。
実施の形態における車両用シート空調装置の通風路選択切替装置の斜視図である。
通風路選択切替装置を図3Aとは異なる方向から見た斜視図である。
実施の形態の通風路選択切替装置の切替部を示す図である。
実施の形態における車両用シート空調装置を示すブロック図である。
実施の形態における車両用シート空調装置の第1モードにおける空気の流れ及び第2モードにおける空気の流れを示す図である。
実施の形態の変形例1における車両用シート空調装置の外観を示す斜視図である。
実施の形態の変形例1における車両用シート空調装置を斜め後ろ側から見た図である。
実施の形態の変形例1における車両用シート空調装置の通風路等を示す模式図である。
実施の形態の変形例1における車両用シート空調装置の送風機の斜視図である。
実施の形態の変形例1における車両用シート空調装置の第1モードにおける空気の流れ及び第2モードにおける空気の流れを示す図である。
実施の形態の変形例2における車両用シート空調装置の外観を示す斜視図である。
実施の形態の変形例2における車両用シート空調装置を示すブロック図である。
実施の形態の変形例2における車両用シート空調装置の通風路等を示す模式図である。
実施の形態の変形例2における車両用シート空調装置の第1モードにおける空気の流れ及び第2モードにおける空気の流れを示す図である。
実施の形態の変形例3における車両用シート空調装置の通風路等を示す模式図である。
実施の形態の変形例3における車両用シート空調装置の第1モードにおける空気の流れ及び第2モードにおける空気の流れを示す図である。
実施の形態の変形例4における車両用シート空調装置を後ろから見た図である。
実施の形態の変形例4における車両用シート空調装置を横から見た図である。
【発明を実施するための形態】
【0010】
以下で説明する実施の形態は、いずれも包括的又は具体的な例を示すものである。以下の実施の形態で示される数値、形状、材料、構成要素、構成要素の配置位置及び接続形態は、一例であり、本開示を限定する主旨ではない。また、以下の実施の形態における構成要素のうち、独立請求項に記載されていない構成要素については、任意の構成要素として説明される。
(【0011】以降は省略されています)
この特許をJ-PlatPat(特許庁公式サイト)で参照する
関連特許
個人
タイヤレバー
2か月前
個人
前輪キャスター
1か月前
個人
上部一体型自動車
15日前
個人
タイヤ脱落防止構造
1か月前
個人
ルーフ付きトライク
2か月前
個人
ホイルのボルト締結
3か月前
個人
マスタシリンダ
22日前
個人
車両通過構造物
2か月前
井関農機株式会社
作業車両
4か月前
個人
キャンピングトライク
4か月前
日本精機株式会社
表示装置
2か月前
日本精機株式会社
表示装置
2か月前
日本精機株式会社
表示装置
2か月前
日本精機株式会社
表示装置
2か月前
井関農機株式会社
作業車両
4か月前
個人
乗合路線バスの客室装置
3か月前
個人
アクセルのソフトウェア
3か月前
個人
キャンピングトレーラー
4か月前
個人
車両用スリップ防止装置
3か月前
個人
車載小物入れ兼雨傘収納具
3か月前
日本精機株式会社
車載表示装置
1か月前
株式会社ニフコ
保持装置
3か月前
株式会社ニフコ
収納装置
1か月前
株式会社ニフコ
照明装置
1か月前
日本精機株式会社
画像投映装置
11日前
日本精機株式会社
車載表示装置
3か月前
株式会社豊田自動織機
産業車両
2か月前
個人
円湾曲ホイール及び球体輪
3か月前
個人
音声ガイド、音声サービス
2か月前
日本精機株式会社
車室演出装置
1か月前
日本精機株式会社
車両用投影装置
29日前
井関農機株式会社
作業車両
4か月前
日本無線株式会社
取付金具
2か月前
日本精機株式会社
車両用投射装置
16日前
日本精機株式会社
車両用表示装置
2か月前
日本精機株式会社
車両用表示装置
3か月前
続きを見る
他の特許を見る