TOP
|
特許
|
意匠
|
商標
特許ウォッチ
Twitter
他の特許を見る
10個以上の画像は省略されています。
公開番号
2025151938
公報種別
公開特許公報(A)
公開日
2025-10-09
出願番号
2024053578
出願日
2024-03-28
発明の名称
光学素子および機器
出願人
キヤノン株式会社
代理人
個人
,
個人
,
個人
,
個人
,
個人
主分類
G02B
1/115 20150101AFI20251002BHJP(光学)
要約
【課題】 良好な光学特性を有する光学素子を実現する上で有利な技術を提供する。
【解決手段】 基体および前記基体の上に設けられた光学構造体を備える光学素子であって、前記光学構造体は、少なくとも1つの酸化物層と、少なくとも1つの弗化物層と、を少なくとも有し、前記1つの酸化物層と前記1つの弗化物層との間の距離が前記1つの弗化物層の厚さよりも小さく、前記少なくとも1つの酸化物層におけるハフニウム含有量を[Hf]at%、前記少なくとも1つの酸化物層におけるシリコンの含有量を[Si]at%、として、0.095≦[Si]/([Si]+[Hf])<0.902を満たす。
【選択図】 図1
特許請求の範囲
【請求項1】
基体および前記基体の上に設けられた光学構造体を備える光学素子であって、
前記光学構造体は、少なくとも1つの酸化物層と、少なくとも1つの弗化物層と、を有し、
前記1つの酸化物層と前記1つの弗化物層との間の距離が前記1つの弗化物層の厚さよりも小さく、
前記少なくとも1つの酸化物層におけるハフニウム含有量を[Hf]at%、前記少なくとも1つの酸化物層におけるシリコンの含有量を[Si]at%、として、
0.095≦[Si]/([Si]+[Hf])<0.902
を満たす光学素子。
続きを表示(約 680 文字)
【請求項2】
[Hf]≧3.2at%
を満たす、請求項1に記載の光学素子。
【請求項3】
[Si]≦29.3at%
を満たす、請求項1に記載の光学素子。
【請求項4】
前記少なくとも1つの酸化物層における酸素含有量を[O]at%として、
[O]≧65.0at%
を満たす、請求項1に記載の光学素子。
【請求項5】
[Si]/([Si]+[Hf])≧0.219
を満たす、請求項1に記載の光学素子。
【請求項6】
前記少なくとも1つの酸化物層におけるアルゴン含有量を[Ar]at%として、
0.9at%≦[Ar]≦1.8at%
を満たす、請求項1に記載の光学素子。
【請求項7】
前記少なくとも1つの酸化物層におけるジルコニウム含有量を[Zr]at%として、
0.01at%≦[Zr]≦0.12at%
を満たす、請求項1に記載の光学素子。
【請求項8】
前記少なくとも1つの酸化物層における酸素含有量を[O]at%として、
[Hf]+[Si]+[O]≧98.0at%
を満たす、請求項1に記載の光学素子。
【請求項9】
前記光学構造体が、反射防止構造を有する、請求項1乃至8のいずれか1項に記載の光学素子。
【請求項10】
前記光学構造体が、反射構造を有する、請求項1乃至8のいずれか1項に記載の光学素子。
(【請求項11】以降は省略されています)
発明の詳細な説明
【技術分野】
【0001】
本発明は、酸化物層と弗化物層と、を有する光学素子に関する。
続きを表示(約 1,800 文字)
【背景技術】
【0002】
酸化ハフニウムは屈折率や誘電率が高いという特徴を有するため、光学素子での応用が検討されている。
【0003】
特許文献1には、高屈折率層と、高屈折率層の下の中間屈折率層または高屈折率層の上の低屈折率層と、有する反射防止膜が開示されている。特許文献1において、高屈折率層の材料としてZrO
2
、HfO
2
、Sc
2
O
3
、SiO
2
、Al
2
O
3
、NdF
3
、LaF
3
、CaF
2
、CeF
3
、GdF
3
、HoF
3
、ErF
3
、DyF
3
、MgO、ThF
4
、YF
3
、YbF
3
、BaF
3
、SrF
3
が挙げられている。特許文献1において、中間屈折率層の材料としてNdF
3
、LaF
3
、CaF
2
、CeF
3
、GdF
3
、HoF
3
、ErF
3
、DyF
3
、MgO、ThF
4
、YF
3
、YbF
3
、BaF
3
、SrF
3
が挙げられている。特許文献1において、低屈折率層の材料として、MgF
2
、Na
3
AlF
6
、LiF、BaF
3
、SrF
3
、CaF
2
、NaF、SiO
2
が挙げられている。
【先行技術文献】
【特許文献】
【0004】
特開平11-167003号公報
【発明の概要】
【発明が解決しようとする課題】
【0005】
本発明者らは、酸化ハフニウム層のごく近傍に弗化物層が積層されていると、酸化ハフニウム層と弗化物層の間で光吸収が発生する場合があることを見出した。かかる光吸収は、光学素子における透過率や反射率などの光学特性を低下させるため、低減することが好ましい。
【0006】
そこで本発明は、良好な光学特性を有する光学素子を実現する上で有利な技術を提供することを目的とする。
【課題を解決するための手段】
【0007】
上記課題を解決するための手段である本発明の一つの態様としての光学素子は、基体および前記基体の上に設けられた光学構造体を備える光学素子であって、前記光学構造体は、少なくとも1つの酸化物層と、少なくとも1つの弗化物層と、を少なくとも有し、前記1つの酸化物層と前記1つの弗化物層との間の距離が前記1つの弗化物層の厚さよりも小さく、前記少なくとも1つの酸化物層におけるハフニウム含有量を[Hf]at%、前記少なくとも1つの酸化物層におけるシリコンの含有量を[Si]at%、として、0.095≦[Si]/([Si]+[Hf])<0.902を満たす光学素子である。
【発明の効果】
【0008】
本発明によれば、良好な光学特性を有する光学素子を実現する上で有利な技術を提供することができる。
【図面の簡単な説明】
【0009】
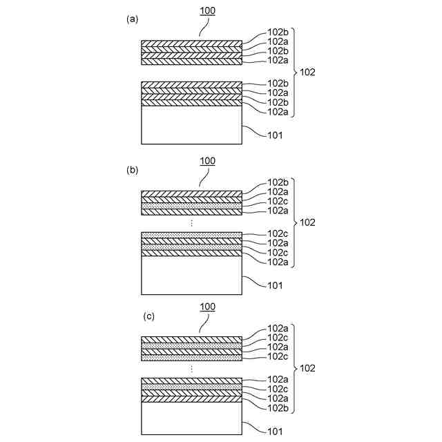
光学素子の模式的な断面図。
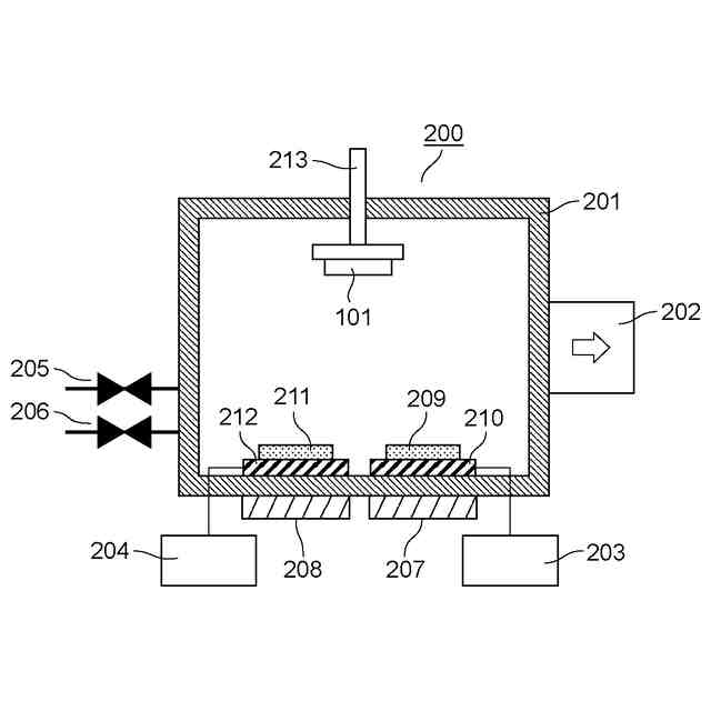
スパッタリング成膜装置の模式図。
吸収率を説明する図。
界面吸収率を説明する図。
吸収率を説明する図。
屈折率を説明する図。
反射防止膜の透過率を説明する図。
露光装置を説明する図。
【発明を実施するための形態】
【0010】
以下、図面を参照して、本発明を実施するための形態を説明する。なお、以下の説明および図面において、複数の図面に渡って共通の構成については共通の符号を付している。そのため、複数の図面を相互に参照して共通する構成を説明し、共通の符号を付した構成については適宜説明を省略する。
(【0011】以降は省略されています)
この特許をJ-PlatPat(特許庁公式サイト)で参照する
関連特許
キヤノン株式会社
トナー
3日前
キヤノン株式会社
トナー
8日前
キヤノン株式会社
トナー
3日前
キヤノン株式会社
トナー
3日前
キヤノン株式会社
記録装置
1日前
キヤノン株式会社
電子機器
10日前
キヤノン株式会社
電子機器
12日前
キヤノン株式会社
発光装置
15日前
キヤノン株式会社
表示装置
15日前
キヤノン株式会社
記録装置
8日前
キヤノン株式会社
撮像装置
8日前
キヤノン株式会社
収容装置
16日前
キヤノン株式会社
定着装置
16日前
キヤノン株式会社
定着装置
2日前
キヤノン株式会社
電子機器
16日前
キヤノン株式会社
電子機器
16日前
キヤノン株式会社
撮像装置
4日前
キヤノン株式会社
撮像装置
16日前
キヤノン株式会社
現像容器
1日前
キヤノン株式会社
定着装置
22日前
キヤノン株式会社
現像装置
1日前
キヤノン株式会社
撮像装置
22日前
キヤノン株式会社
現像容器
1日前
キヤノン株式会社
現像装置
1日前
キヤノン株式会社
記録装置
23日前
キヤノン株式会社
撮像装置
23日前
キヤノン株式会社
撮影装置
1日前
キヤノン株式会社
半導体装置
10日前
キヤノン株式会社
現像剤容器
9日前
キヤノン株式会社
モジュール
3日前
キヤノン株式会社
光学センサ
3日前
キヤノン株式会社
画像形成装置
8日前
キヤノン株式会社
画像表示装置
8日前
キヤノン株式会社
吐出素子基板
8日前
キヤノン株式会社
情報処理装置
8日前
キヤノン株式会社
画像形成装置
8日前
続きを見る
他の特許を見る