TOP
|
特許
|
意匠
|
商標
特許ウォッチ
Twitter
他の特許を見る
10個以上の画像は省略されています。
公開番号
2025150171
公報種別
公開特許公報(A)
公開日
2025-10-09
出願番号
2024050911
出願日
2024-03-27
発明の名称
衣服
出願人
株式会社サンエス
代理人
個人
,
個人
,
個人
主分類
A41D
13/01 20060101AFI20251002BHJP(衣類)
要約
【課題】洗濯に対する不便さを解消するとともに、服本体の表面側への照明効果を高めることができる衣服を提供する。
【解決手段】光照射孔7を有する服本体1と、服本体1の裏面側に着脱自在に配置された光照射体と、を備え、前記光照射孔7は、少なくとも、その貫通孔内の一部に、貫通孔内光反射面が設けられた構成とした。光照射体は、この光照射体が服本体1の裏面側に配置された状態で、少なくとも、その一部が、前記光照射孔7に対向する部分に配置される光照射素子を有する構成とした。
【選択図】図1
特許請求の範囲
【請求項1】
光照射孔を有する服本体と、
前記服本体の裏面側に着脱自在に配置された光照射体と、を備え、
前記光照射孔は、少なくとも、その貫通孔内の一部に、貫通孔内光反射面が設けられた構成とし、
前記光照射体は、この光照射体が前記服本体の裏面側に配置された状態で、少なくとも、その一部が、前記光照射孔に対向する部分に配置される光照射素子を有する構成とした衣服。
続きを表示(約 850 文字)
【請求項2】
前記光照射孔の服本体表面側における貫通孔開口縁に、表面側光反射面を設けた請求項1に記載の衣服。
【請求項3】
前記服本体の前記光照射孔は、前記服本体に設けた前記貫通孔と、前記服本体の表面側及び裏面側に配置されたハトメにより構成され、このハトメの前記服本体の前記貫通孔内部分で、前記貫通孔内光反射面が形成され、前記ハトメの前記服本体表面側における前記貫通孔開口縁部分で、前記表面側光反射面が形成された構成とした請求項2に記載の衣服。
【請求項4】
前記ハトメの前記表面側光反射面は、前記貫通孔の軸方向の断面において、前記貫通孔内光反射面から、前記服本体の表面側に向けて突出すると共に凸弧状に湾曲した請求項3に記載の衣服。
【請求項5】
前記光照射素子は、発光素子と、この発光素子の外周を覆った外周壁とを有し、前記外周壁の服本体側端部は、前記発光素子よりも前記服本体側に突出させ、この外周壁の前記服本体側端部には、外周壁反射面を設けた構成とした請求項4に記載の衣服。
【請求項6】
前記服本体に、複数の前記光照射孔を設けるとともに、この服本体の裏面側に複数の被係止部を設け、
前記光照射体は、帯状体に、複数の前記光照射素子と、前記服本体の前記被係止部に係止される複数の係止部を配置した構成とした請求項1から5のいずれか一つに記載の衣服。
【請求項7】
複数の前記光照射孔を、前記服本体の脇部分よりも下方に設けた請求項6に記載の衣服。
【請求項8】
前記帯状体は、表面側帯状体と、裏面側帯状体を重ね合わせた構成とし、前記光照射素子の基部を前記表面側帯状体と前記裏面側帯状体との間に配置し、前記光照射素子の発光部を、前記表面側帯状体外に突出した構成とした請求項7に記載の衣服。
【請求項9】
前記光照射孔の開口径は、前記光照射素子の外形よりも大きくした請求項8に記載の衣服。
発明の詳細な説明
【技術分野】
【0001】
本発明は、衣服外の照明、または衣服装着者に対する視認性を高めるための衣服に関するものである。
続きを表示(約 3,000 文字)
【背景技術】
【0002】
衣服外の照明、または衣服装着者に対する視認性を高めるために、服本体外に光照射体を設けたものがある(例えば特許文献1、2)。
【先行技術文献】
【特許文献】
【0003】
特開2001-89908号公報
特開平9-209204号公報
特開2018-123462号公報
【発明の概要】
【発明が解決しようとする課題】
【0004】
先行文献1、2に記載されたものは、服本体の表面側に光照射体を設けているので、活動中に光照射体に外力が加わり、損傷する可能性が高くなる。
これに対して、先行文献3に記載されたものは、服本体に光照射孔を設けるとともに、この光照射孔に対向する服本体の裏面側に光照射体を設けているので、光照射体が外力で損傷する可能性は低くなる。
しかしながら、服本体の裏面側に光照射体を設けた場合には、服本体の光照射孔に光照射体を合致させなければ、服本体が影となり、光照射体からの光が、光照射孔を介して服本体外に効果的に照射されない。
そこで、この先行文献3では、服本体の裏面側において、光照射体を、服本体の光照射孔に合致させた状態で、この服本体の裏面側に固定している。
しかしながら、光照射体を、服本体に固定すると、服本体の洗濯が行えず、不便なものとなる。
【0005】
そこで、本発明は、服本体の裏面側に光照射体を着脱自在とすることで洗濯に対する不便さを解消するとともに、服本体の表面側への照明効果を高めることを目的とするものである。
【課題を解決するための手段】
【0006】
そして、この目的を達成するために本発明の衣服は、光照射孔を有する服本体と、前記服本体の裏面側に着脱自在に配置された光照射体と、を備え、前記光照射孔は、少なくとも、その貫通孔内の一部に、貫通孔内光反射面が設けられた構成とし、前記光照射体は、この光照射体が前記服本体の裏面側に配置された状態で、少なくとも、その一部が、前記光照射孔に対向する部分に配置される光照射素子を有する構成とした。
また、本発明の衣服は、光照射孔の服本体表面側における貫通孔開口縁に、表面側光反射面を設けたものである。
さらに、本発明の衣服における服本体の光照射孔は、服本体に設けた貫通孔内と、服本体の表面側、及び裏面側に配置されたハトメにより構成され、このハトメの前記服本体の貫通孔内部分で、前記貫通孔内光反射面が形成され、前記ハトメの前記服本体表面側における貫通孔開口縁部分で、表面側光反射面が形成された構成とした。
また、本発明の衣服におけるハトメの表面側光反射面は、このハトメの貫通孔内光反射面の服本体表面側部分から、服本体の表面側に突出しながら、外方に凸状に湾曲する湾曲面を有する構成とした。
さらに、本発明の衣服における光照射素子は、発光素子と、この発光素子の外周を覆った外周壁とを有し、前記外周壁の、前記服本体側端部は、前記発光素子よりも前記服本体側に突出させ、この外周壁の服本体側端部には、外周壁反射面を設けた構成とした。
また、本発明の衣服は、服本体に、複数の光照射孔を設けるとともに、この服本体の裏面側に複数の被係止部を設け、光照射体は、帯状体に、複数の光照射素子と、前記服本体の被係止部に係止される複数の係止部を配置した構成とした。
さらに、本発明の衣服は、複数の光照射孔を、前記服本体の脇部分よりも下方に設けた。
また、本発明の衣服における帯状体は、表面側帯状体と、裏面側帯状体を重ね合わせた構成とし、前記光照射素子の基部を前記表面側帯状体、裏面側帯状体間に配置し、前記光照射素子の発光部を、前記表面側帯状体外に突出した構成とした。
さらに、本発明の衣服における光照射孔の開口径は、前記光照射素子の外形よりも大きくした。
【発明の効果】
【0007】
以上の様に本発明の衣服は、光照射孔を有する服本体と、前記服本体の裏面側に着脱自在に配置された光照射体と、を備え、前記光照射孔は、少なくとも、その貫通孔内の一部に、貫通孔内光反射面が設けられた構成とし、前記光照射体は、この光照射体が前記服本体の裏面側に配置された状態で、少なくとも、その一部が、前記光照射孔に対向する部分に配置される光照射素子を有する構成としたので、洗濯に対する不便さを解消するとともに、服本体の表面側への照明効果を高めることができる。
すなわち、本発明は、服本体の裏面側に光照射体を着脱自在に配置したものであるので、服本体から光照射体を取り外せば、服本体の洗濯は容易に行え、便利なものとなる。
また、服本体の裏面側に光照射体を着脱自在に配置した場合には、服本体の光照射孔と光照射体の軸心がずれ、照明効果が低下する虞があるが、本発明では光照射孔の貫通孔内の一部に、貫通孔内光反射面を設けているので、光照射体からの光で、光照射孔内が照明された状態となるので、服本体の表面側への照明効果を高めることができる。
【図面の簡単な説明】
【0008】
本発明の一実施形態にかかる衣服の正面図
同衣服の背面図
同衣服を開放した状態を示す正面図
同衣服を開放した状態を示す正面図
同衣服の光照射体を示す平面図
同衣服の光照射体を示す拡大平面図
同衣服の光照射体を示す拡大側面図
同衣服の一部拡大正面図
同衣服の一部拡大背面図
同衣服のハトメ部分を示す拡大平面図
同衣服のハトメ部分を示す拡大裏面図
同衣服のハトメ部分を示す拡大断面
同衣服のハトメ部分を示す拡大断面
【発明を実施するための形態】
【0009】
(実施の形態1)
以下本発明の一実施形態を、図面を用いて説明する。
図1、図2において、1は服本体で、前身頃2は、ファスナー3で開閉自在となっている。
服本体1の脇部分4には袖5が設けられている。
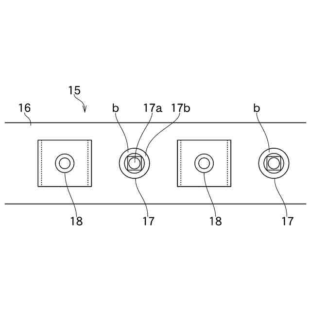
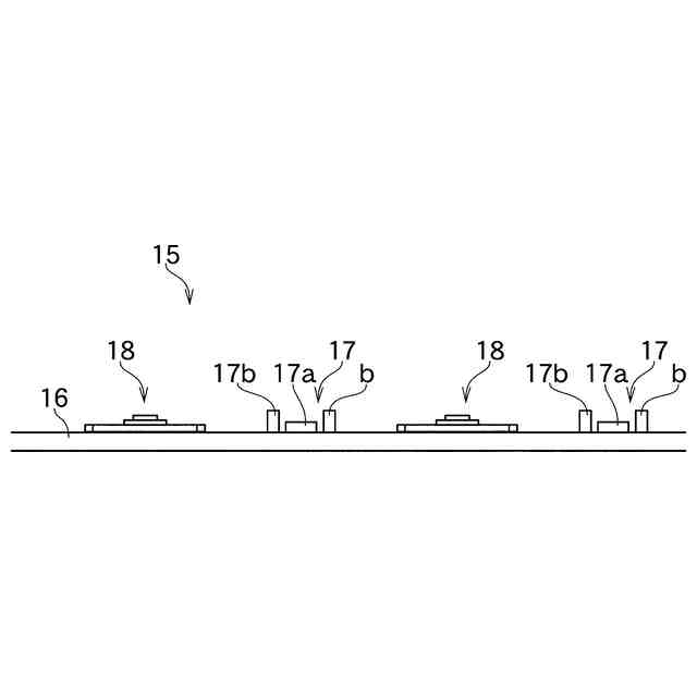
本実施形態で特徴的なのは、服本体1の前身頃2と、後身頃6に、複数の光照射孔7を設けたことである。
具体的には、前身頃2おける脇部分4よりも下方には、図1、図8に示すように、6個の光照射孔7が水平方向に、所定間隔をおいて配置されている。
また、後身頃6おける脇部分4よりも下方には、図2、図9に示すように、4個の光照射孔7が、水平方向に、所定間隔をおいて配置されている。
【0010】
光照射孔7は、真鍮、アルミニウム、ステンレス、合成樹脂製などで形成されたハトメ8によって形成されている。
具体的には、図12に示すよう、服本体1に貫通孔9を設け、先ず、貫通孔9における服本体1裏面側に、裏側ハトメ部材10を配置し、次に、服本体1の表面側から表側ハトメ部材11を貫通孔9に挿入し、その後、表側ハトメ部材11を折り返し、図10~図12に示すように、裏側ハトメ部材10と表側ハトメ部材11が一体となってハトメ8が形成された状態とする。
(【0011】以降は省略されています)
この特許をJ-PlatPat(特許庁公式サイト)で参照する
関連特許
株式会社サンエス
空気調整服と、それを用いた空気調整服装置
1か月前
個人
衿芯
4か月前
個人
和服
6か月前
個人
シャツ
2か月前
個人
中間着
21日前
個人
二部式袍
10か月前
個人
ネクタイ
2か月前
個人
下着
5か月前
個人
靴下
11か月前
個人
衣装
7か月前
個人
マスク
2か月前
個人
簡単帯
11か月前
個人
防虫服
21日前
個人
多機能装身具
3か月前
個人
ショーツ
11か月前
個人
:マスクカバー
3か月前
個人
手首穴付き手袋
12か月前
個人
シャツ改造方法
7か月前
個人
健康靴下
12か月前
東レ株式会社
防護服
1か月前
個人
作業補助ミトン
9か月前
個人
肩章付き衣服。
5か月前
有限会社原電業
指手袋
12か月前
東洋紡株式会社
マスク
1か月前
個人
ソフトキャミブラ
7か月前
株式会社聖
手足保護具
1か月前
個人
手袋
8か月前
株式会社聖
手足保護具
10か月前
個人
足首用サポーター
9か月前
個人
車椅子用グローブ
3か月前
個人
内フィルムマスク
1か月前
個人
レインコート
6か月前
興和株式会社
マスク
9か月前
株式会社マルイチ
二部式帯
1か月前
グンゼ株式会社
衣服
7か月前
個人
和装下着の半衿カバー
12か月前
続きを見る
他の特許を見る