TOP
|
特許
|
意匠
|
商標
特許ウォッチ
Twitter
他の特許を見る
10個以上の画像は省略されています。
公開番号
2025157949
公報種別
公開特許公報(A)
公開日
2025-10-16
出願番号
2024060330
出願日
2024-04-03
発明の名称
空気調整服と、それを用いた空気調整服装置
出願人
株式会社サンエス
代理人
個人
,
個人
,
個人
主分類
A41D
13/002 20060101AFI20251008BHJP(衣類)
要約
【課題】駆動時間が長くなることで、使い勝手が良い空気調整服及び空気調整装置を提供する。
【解決手段】空気調整服は、服本体1と、この服本体1に設けられ、空気調整手段9によって、温度、湿度の少なくとも一つの状態が調整された調整後空気が、空気調整手段9から服本体1内に流入される空気流入部10と、服本体1に設けられ、空気流入部10から服本体1内に流入された調整後空気が、この服本体1内を対流後、空気調整手段9に向けて流出される空気流出部11と、を備えた構成とした。
【選択図】図2
特許請求の範囲
【請求項1】
服本体と、
この服本体に設けられ、空気調整手段によって、温度、湿度の少なくとも一つの状態が調整された調整後空気が、前記空気調整手段から前記服本体内に流入される空気流入部と、
前記服本体に設けられ、前記空気流入部から前記服本体内に流入された調整後空気が、この服本体内を対流後、前記空気調整手段に向けて流出される空気流出部と、を備えた空気調整服。
続きを表示(約 1,000 文字)
【請求項2】
前記服本体を構成する前身頃及び後ろ身頃の略全面に、通気性の内装体を設けた請求項1に記載の空気調整服。
【請求項3】
前記内装体は、3次元網状構造体、または、ダブルラッセル編み物で構成した請求項2に記載の空気調整服。
【請求項4】
前記服本体内には、前記空気流出部に連結され、前記服本体と前記内装体との間または前記内装体内を対流後の調整後空気を捕集する捕集部を設け、この捕集部は、前記空気流出部に連結される前記空気調整手段の吸引力によって発生する負圧によって、前記服本体と前記内装体との間または前記内装体内を対流後の調整後空気を捕集する構成とした請求項3に記載の空気調整服。
【請求項5】
前記捕集部は、前記内装体の内側面に設けた捕集カバーを備え、この捕集カバーの外周部には、この捕集カバーを、前記内装体に結合した捕集路形成部と、この捕集カバーを前記内装体に非結合とした捕集開口部とを設け、前記捕集カバーに対向する前記服本体に、前記空気流出部を設けた請求項4に記載の空気調整服。
【請求項6】
前記服本体内には、前記空気流入部に連結され、この空気流入部から前記服本体内に流入した調整後空気を、前記服本体と内装体の間または内装体内を対流後、前記服本体内に拡散する調整後空気の拡散部を設けた請求項5に記載の空気調整服。
【請求項7】
前記拡散部は、前記内装体の内側面に設けた拡散カバーを備え、この拡散カバーの外周部には、この拡散カバーを、前記内装体に結合した拡散路形成部と、この拡散カバーを前記内装体に非結合とした拡散開口部とを設け、前記拡散カバーに対向する前記服本体に、前記空気流入部を設けた請求項6に記載の空気調整服。
【請求項8】
前記服本体の襟元開口部分と、袖口開口部分の少なくとも一方で、前記内装体の外周部分には、前記開口の内周方向に伸ばしたフラップを設け、このフラップの内周方向への寸法は、前記内装体の厚さ寸法よりも大きくした請求項1から7のいずれか一つに記載の空気調整服。
【請求項9】
請求項1から8の空気調整服における前記服本体外に、前記空気調整手段を設け、この空気調整手段の調整空気流出口と、前記服本体の前記空気流入部を連結し、前記空気調整手段の調整空気流入口と、前記服本体の前記空気流出部を連結した空気調整服装置。
【請求項10】
前記空気調整手段は、ヒートポンプにより構成した請求項9に記載の空気調整服装置。
発明の詳細な説明
【技術分野】
【0001】
本発明は、空気調整手段によって、温度、湿度の少なくとも一つの状態が調整された調整後空気を、服本体内に流入させる空気調整服と、それを用いた空気調整服装置に関するものである。
続きを表示(約 2,300 文字)
【背景技術】
【0002】
服本体装着者の快適性を高めるために、空気調整手段によって、温度、湿度の少なくとも一つの状態が調整された調整後空気を、服本体内に流入させ、冷房、または暖房を行う空気調整服が提案されている(例えば、下記特許文献1、特許文献2)。
【先行技術文献】
【特許文献】
【0003】
特開2022-155081号公報
特開2022-79012号公報
【発明の概要】
【発明が解決しようとする課題】
【0004】
上記先行文献の前者では、服本体外の空気を送風装置によって服本体内に流入させ、服本体に設けた排気口から服本体外へと排出している。
また、後者の先行文献では、服本体内の空気、または服本体外の空気をファンによって服本体内で対流させ、服本体の各部から服本体外へと排出している。
前記二つの先行文献で課題となるのは、服本体内を対流させた後の空気を服本体外へと排出していることである。
また、後者の先行文献では、服本体内の空気を吸い込んで空気調整することも記載しているが、調整後空気を服本体外に流出させるので、服本体内は負圧となり、その結果として、服本体外の空気が、服本体内に流入する。
つまり、前記二つの先行文献とも、その空気調整手段は、常に、服本体外の空気を、快適状態まで調整する必要があるので、電力消費が大きくなり、それは、使用時間の減少にもつながり、使い勝手の悪いものとなる。
【0005】
そこで、本発明は、使い勝手を良くすることを目的とするものである。
【課題を解決するための手段】
【0006】
そして、この目的を達成するために本発明の空気調整服は、服本体と、この服本体に設けられ、空気調整手段によって、温度、湿度の少なくとも一つの状態が調整された調整後空気が、前記空気調整手段から前記服本体内に流入される空気流入部と、前記服本体に設けられ、前記空気流入部から服本体内に流入された調整後空気が、この服本体内を対流後、前記空気調整手段に向けて流出される空気流出部と、を備えた構成としたものである。
【発明の効果】
【0007】
以上の様に本発明の空気調整服は、服本体と、この服本体に設けられ、空気調整手段によって、温度、湿度の少なくとも一つの状態が調整された調整後空気が、前記空気調整手段から前記服本体内に流入される空気流入部と、前記服本体に設けられ、前記空気流入部から服本体内に流入された調整後空気が、この服本体内を対流後、前記空気調整手段に向けて流出される空気流出部と、を備えた構成としたものであるので、使い勝手を良くすることができる。
【0008】
すなわち、本発明においては、空気流入部から服本体内に流入された調整後空気を、この服本体内を対流後、空気流出部から空気調整手段に向けて流出させるので、空気調整手段の駆動負荷は、服本体外の新規空気を新たに調整するよりも小さくなり、その結果として、駆動時間が長くなり、使い勝手の良いものとなる。
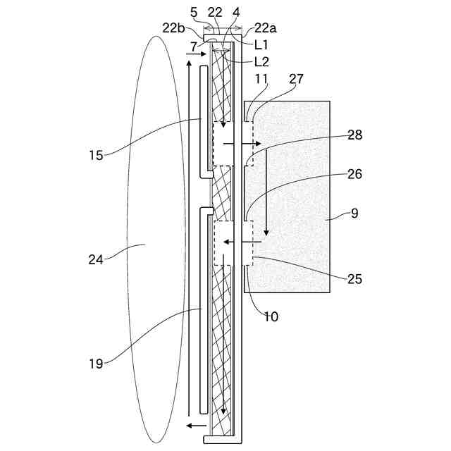
【図面の簡単な説明】
【0009】
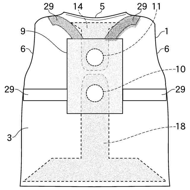
本発明の一実施形態にかかる空気調整服の正面図
本発明の一実施形態にかかる空気調整服装置の背面図
本発明の一実施形態にかかる空気調整服装置の空気調整手段を示す側面図
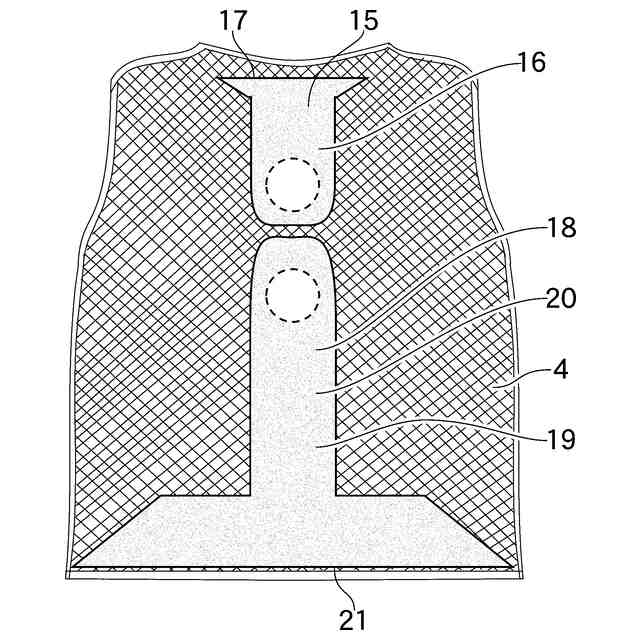
本発明の一実施形態にかかる空気調整服の内装体を示す正面図
本発明の一実施形態にかかる空気調整服の内装体を示す背面図
本発明の一実施形態にかかる空気調整服の内装体の内面側を示す正面図
本発明の一実施形態にかかる空気調整服装置の動作状態を示す正面図
本発明の一実施形態にかかる空気調整服装置の動作状態を示す背面図
本発明の一実施形態にかかる空気調整服装置の動作状態を示す断面図
本発明の一実施形態にかかる空気調整服装置の動作状態を示す断面図(図1のX部分拡大概略図)
【発明を実施するための形態】
【0010】
(実施の形態1)
図1~図10は本発明の一実施形態を示しており、この実施形態では、ベストタイプの空気調整服で説明する。
図1、図2において、1はベストタイプの服本体で、この服本体1は、実質的な空気非通気性となっている材料によって構成されている。したがって、例えば、目を密に織ることや、生地への加工によって非通気性が実現する。
前記服本体1を構成する前身頃2の全面又は略全面と、後ろ身頃3の全面又は略全面とには、図4、図5に示す、服本体1と相似形状で、通気性の内装体4を設けている。
前記内装体4は、3次元網状構造体、または、ダブルラッセル編み物で構成され、服本体1と内装体4は複数点で縫い付けられ、一体化されている。
服本体1は、図1、図2に示すように、襟元開口5、袖口開口6部分を備え、また前身頃2にはファスナー2aが設けられ、前身頃2は左右に開閉自在となっている。
内装体4にも、図4、図5に示すように、襟元開口7、袖口開口8部分を備え、また前側は左右に開閉自在となっている。
服本体1と内装体4は上述のごとく一体化され、服本体1の襟元開口5と、内装体4の襟元開口7が合致した位置関係となっている。
また、服本体1の袖口開口6と、内装体4の袖口開口8が合致した位置関係となっている。
(【0011】以降は省略されています)
この特許をJ-PlatPat(特許庁公式サイト)で参照する
関連特許
株式会社サンエス
衣服
1か月前
株式会社サンエス
空気調整服と、それを用いた空気調整服装置
1か月前
個人
和服
6か月前
個人
衿芯
4か月前
個人
シャツ
2か月前
個人
中間着
21日前
個人
ネクタイ
2か月前
個人
衣装
7か月前
個人
下着
5か月前
個人
マスク
2か月前
個人
防虫服
21日前
個人
多機能装身具
3か月前
個人
肩章付き衣服。
5か月前
個人
:マスクカバー
3か月前
東レ株式会社
防護服
1か月前
個人
シャツ改造方法
7か月前
東洋紡株式会社
マスク
1か月前
個人
ソフトキャミブラ
7か月前
個人
内フィルムマスク
1か月前
株式会社聖
手足保護具
1か月前
個人
車椅子用グローブ
3か月前
個人
手袋
8か月前
個人
レインコート
6か月前
興和株式会社
マスク
9か月前
個人
被介護者用上衣
4か月前
グンゼ株式会社
衣服
7か月前
株式会社マルイチ
二部式帯
1か月前
豊鷹株式会社
冷却装置
8か月前
株式会社カネカ
収納物
9か月前
LUDO合同会社
手袋
8か月前
個人
マスク(多機能マスク)
3か月前
個人
ブラカップを有する衣類
2か月前
個人
ブラカップを有する衣類
2か月前
株式会社マルイチ
2部式着物
2か月前
合同会社BIARCH
ガードル
6か月前
有限会社青葉
ボトム衣料
6か月前
続きを見る
他の特許を見る